TOP
|
特許
|
意匠
|
商標
特許ウォッチ
Twitter
他の特許を見る
10個以上の画像は省略されています。
公開番号
2025144143
公報種別
公開特許公報(A)
公開日
2025-10-02
出願番号
2024043775
出願日
2024-03-19
発明の名称
自走式フィルムロール交換装置、フィルムロール交換システム、及びフィルムロール交換方法
出願人
株式会社イシダ
代理人
個人
,
個人
,
個人
,
個人
主分類
B65H
19/12 20060101AFI20250925BHJP(運搬;包装;貯蔵;薄板状または線条材料の取扱い)
要約
【課題】製袋包装機のフィルムロールを自動で交換する効率の向上を図ることができる。
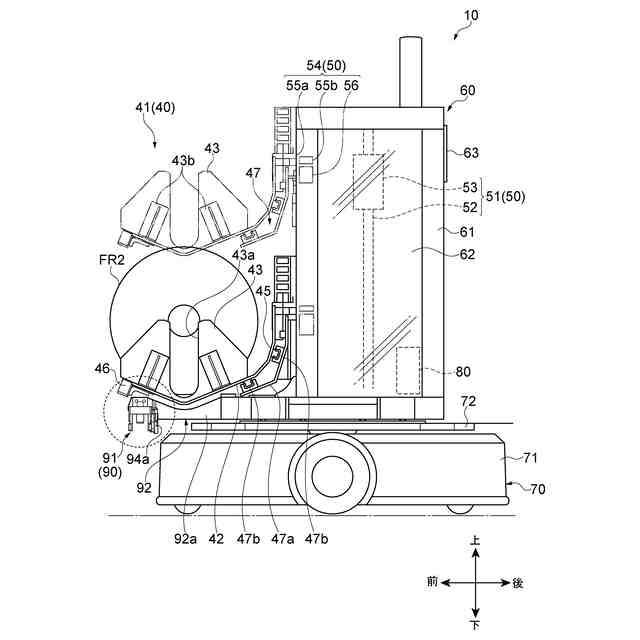
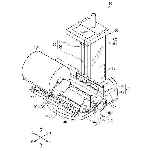
【解決手段】自走式フィルムロール交換装置10は、交換用フィルムロールFR2を支持する支持部40と支持部40から交換用フィルムロールFR2を製袋包装機1に移し替える移載機構50と製袋包装機1の周囲を走行可能に構成された移動装置70と移動装置70及び移載機構50の動作を制御する交換制御部80とを備える。移動装置70には支持部40及び移載機構50が一体的に積載されている。交換制御部80は、交換用フィルムロールFR2を支持する支持部40を製袋包装機1に近づけるように移動装置70を走行させ、製袋包装機1に近づけられた支持部40から交換用フィルムロールFR2を製袋包装機1に移し替えるように移載機構50を動作させ、交換用フィルムロールFR2を支持していない支持部40を製袋包装機1から遠ざけるように移動装置70を走行させる。
【選択図】図6
特許請求の範囲
【請求項1】
フィルムが巻き回されているフィルムロールから前記フィルムを引き出して袋を製袋する製袋包装機の前記フィルムロールを交換するための自走式フィルムロール交換装置であって、
交換用の前記フィルムロールである交換用フィルムロールを支持する支持部と、
前記支持部から前記交換用フィルムロールを前記製袋包装機に移し替える移載機構と、
前記製袋包装機の周囲を走行可能に構成された移動装置と、
前記移動装置及び前記移載機構の動作を制御する制御部と、を備え、
前記移動装置には、前記支持部及び前記移載機構が一体的に積載されており、
前記制御部は、
前記交換用フィルムロールを支持する前記支持部を前記製袋包装機に近づけるように前記移動装置を走行させ、
前記製袋包装機に近づけられた前記支持部から前記交換用フィルムロールを前記製袋包装機に移し替えるように前記移載機構を動作させ、
前記交換用フィルムロールを支持していない前記支持部を前記製袋包装機から遠ざけるように前記移動装置を走行させる、自走式フィルムロール交換装置。
続きを表示(約 1,000 文字)
【請求項2】
前記移動装置には、前記支持部及び前記移載機構が鉛直方向を軸として前記移動装置に対して相対的に回動可能に積載されている、請求項1に記載の自走式フィルムロール交換装置。
【請求項3】
前記支持部は、前記交換用フィルムロールの幅方向が鉛直方向に交差する方向となるように前記交換用フィルムロールを下方から支持する支持部材と、前記支持部材を前記交換用フィルムロールの幅方向に沿って移動可能に支持するレール部と、を有する、請求項1又は2に記載の自走式フィルムロール交換装置。
【請求項4】
請求項1又は2に記載の自走式フィルムロール交換装置と、前記製袋包装機と、を備えるフィルムロール交換システムであって、
前記交換用フィルムロールを支持する前記支持部を前記製袋包装機に近づける際に前記支持部の移動方向を規定するガイド部を備える、フィルムロール交換システム。
【請求項5】
前記ガイド部は、長尺のガイドレールと、前記ガイドレールを案内すると共に前記ガイドレールの位置決めを行う案内位置決め部と、を有し、
前記ガイドレールは、前記自走式フィルムロール交換装置に設けられ、
前記案内位置決め部は、前記製袋包装機に設けられた前記フィルムロールの位置を調整するフィルムロール位置調整機構に固定されている、請求項4に記載のフィルムロール交換システム。
【請求項6】
フィルムが巻き回されているフィルムロールから前記フィルムを引き出して袋を製袋する製袋包装機の前記フィルムロールを交換するフィルムロール交換方法であって、
交換用の前記フィルムロールである交換用フィルムロールを支持する支持部と、前記支持部から前記交換用フィルムロールを前記製袋包装機に移し替える移載機構と、が移動装置に一体的に積載された自走式フィルムロール交換装置を用いて、前記製袋包装機の周囲の通路上の所定の移載位置まで前記移動装置を走行させて、前記支持部及び前記移載機構の位置決めをするステップと、
位置決めした前記支持部から前記交換用フィルムロールを前記移載機構によって前記製袋包装機に移し替えるステップと、
前記移載機構が前記交換用フィルムロールを前記製袋包装機に移し替え終えた後、前記製袋包装機から離れるように前記移動装置を走行させるステップと、を備える、フィルムロール交換方法。
発明の詳細な説明
【技術分野】
【0001】
本発明は、自走式フィルムロール交換装置、フィルムロール交換システム、及びフィルムロール交換方法に関する。
続きを表示(約 1,900 文字)
【背景技術】
【0002】
複数の縦ピロー包装機の横にそれぞれ設置された巻取りフィルム搬入台と、縦ピロー包装機が消費する巻取りフィルムを搬送する無人搬送車と、を備え、無人搬送車が巻取りフィルムを巻取りフィルム搬入台に自動搬送する消費材自動搬送システムが知られている(例えば、特許文献1参照)。
【先行技術文献】
【特許文献】
【0003】
特開2023-173894号公報
【発明の概要】
【発明が解決しようとする課題】
【0004】
上記従来技術では、複数の縦ピロー包装機の横に巻取りフィルム搬入台がそれぞれ設置されているため、縦ピロー包装機の周囲の通路等のスペースが狭くなる。そのため、例えば無人搬送車が巻取りフィルム搬入台を避けることで、搬送の効率を高められないおそれがある。
【0005】
本発明は、製袋包装機のフィルムロールを自動で交換する効率の向上を図ることができる自走式フィルムロール交換装置、フィルムロール交換システム、及びフィルムロール交換方法を提供することを目的とする。
【課題を解決するための手段】
【0006】
(1)本発明の一態様は、フィルムが巻き回されているフィルムロールからフィルムを引き出して袋を製袋する製袋包装機のフィルムロールを交換するための自走式フィルムロール交換装置であって、交換用のフィルムロールである交換用フィルムロールを支持する支持部と、支持部から交換用フィルムロールを製袋包装機に移し替える移載機構と、製袋包装機の周囲を走行可能に構成された移動装置と、移動装置及び移載機構の動作を制御する制御部と、を備え、移動装置には、支持部及び移載機構が一体的に積載されており、制御部は、交換用フィルムロールを支持する支持部を製袋包装機に近づけるように移動装置を走行させ、製袋包装機に近づけられた支持部から交換用フィルムロールを製袋包装機に移し替えるように移載機構を動作させ、交換用フィルムロールを支持していない支持部を製袋包装機から遠ざけるように移動装置を走行させる。
【0007】
本発明の一態様に係る自走式フィルムロール交換装置では、支持部及び移載機構が移動装置に一体的に積載されている。交換用フィルムロールを支持していない支持部を製袋包装機から遠ざけるように移動装置が走行させられる。よって、交換用フィルムロールの製袋包装機への移し替えが終わると、移動装置は、一体的に積載した支持部及び移載機構と共に、製袋包装機から遠ざかる。これにより、例えば交換用フィルムロールを移し替える交換装置が製袋包装機と隣接して設けられている構成と比べて、製袋包装機の周囲のスペースが占められて狭くなることが抑制される。その結果、製袋包装機の周囲のスペースを通路等の用途で活用でき、自走式フィルムロール交換装置の移動が阻害されにくくなるため、製袋包装機のフィルムロールを自動で交換する効率の向上を図ることができる。
【0008】
(2)上記(1)において、移動装置には、支持部及び移載機構が鉛直方向を軸として移動装置に対して相対的に回動可能に積載されていてもよい。この場合、支持部及び移載機構の方向を維持したまま移動装置が方向転換することができる。その結果、支持部及び移載機構の方向転換のために余分に要する周囲のスペースを省くことができる。
【0009】
(3)上記(1)又は(2)において、支持部は、交換用フィルムロールの幅方向が鉛直方向に交差する方向となるように交換用フィルムロールを下方から支持する支持部材と、支持部材を交換用フィルムロールの幅方向に沿って移動可能に支持するレール部と、を有してもよい。この場合、支持部材が移動することで、支持部材に支持された交換用フィルムロールは、鉛直方向に交差する方向に沿って移動可能となる。これにより、支持部材が移動する方向の一方及び他方のいずれに位置する製袋包装機に対しても交換用フィルムロールを移し替えることが可能となる。
【0010】
(4)本発明の他の態様は、上記(1)~(3)の何れか一つの自走式フィルムロール交換装置と、製袋包装機と、を備えるフィルムロール交換システムであって、交換用フィルムロールを支持する支持部を製袋包装機に近づける際に支持部の移動方向を規定するガイド部を備えてもよい。この場合、支持部に支持された交換用フィルムロールの移動方向が規定されるため、製袋包装機に移し替える前の交換用フィルムロールの位置決めの精度向上を図ることができる。
(【0011】以降は省略されています)
この特許をJ-PlatPat(特許庁公式サイト)で参照する
関連特許
株式会社イシダ
箱詰装置
1か月前
株式会社イシダ
検査装置
1か月前
株式会社イシダ
計量装置
11日前
株式会社イシダ
製袋包装機
13日前
株式会社イシダ
X線検査装置
10日前
株式会社イシダ
X線検査装置
1か月前
株式会社イシダ
X線検査装置
1か月前
株式会社イシダ
X線検査装置
11日前
株式会社イシダ
X線検査装置
10日前
株式会社イシダ
商品処理装置
11日前
株式会社イシダ
組合せ計量装置
13日前
株式会社イシダ
組合せ計量装置
10日前
株式会社イシダ
ラベル発行装置
1か月前
株式会社イシダ
電子棚札用の制御システム
10日前
株式会社イシダ
製袋包装機及びフィルムロール交換システム
10日前
株式会社イシダ
検査システム及び検査装置
12日前
株式会社イシダ
自走式フィルムロール交換装置、フィルムロール交換システム、及びフィルムロール交換方法
10日前
個人
箱
12か月前
個人
収容箱
2か月前
個人
ゴミ箱
11か月前
個人
コンベア
4か月前
個人
容器
8か月前
個人
段ボール箱
6か月前
個人
段ボール箱
6か月前
個人
ゴミ収集器
6か月前
個人
宅配システム
6か月前
個人
角筒状構造体
5か月前
個人
パウチ補助具
11か月前
個人
土嚢運搬器具
8か月前
個人
バンド
1か月前
個人
楽ちんハンド
4か月前
個人
コード類収納具
7か月前
個人
包装容器
23日前
個人
お薬の締結装置
5か月前
個人
廃棄物収容容器
2か月前
個人
閉塞装置
9か月前
続きを見る
他の特許を見る