TOP
|
特許
|
意匠
|
商標
特許ウォッチ
Twitter
他の特許を見る
10個以上の画像は省略されています。
公開番号
2025132967
公報種別
公開特許公報(A)
公開日
2025-09-10
出願番号
2024044220
出願日
2024-02-29
発明の名称
異常検知式部品供給装置
出願人
個人
代理人
主分類
B65G
43/02 20060101AFI20250903BHJP(運搬;包装;貯蔵;薄板状または線条材料の取扱い)
要約
【課題】装置に組み込まれた簡単なセンサーからの継続的な部品検出信号によって、自動的で確実な保持ミスの検出を遂行させるとともに、正常な部品保持を自動的に実行させること。
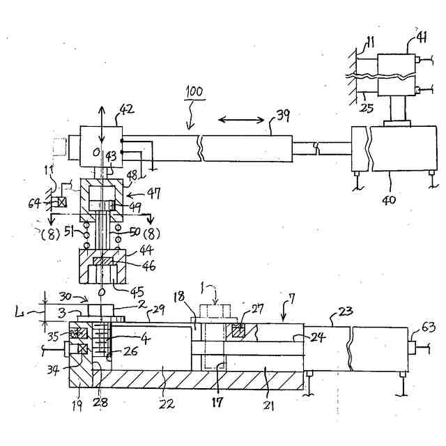
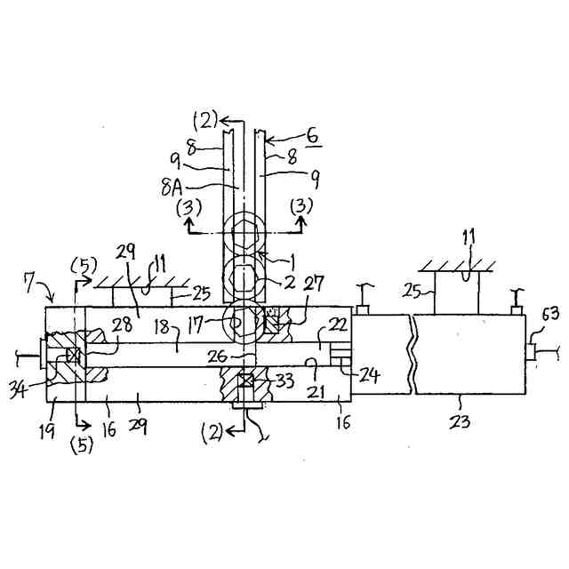
【解決手段】装置本体7に、導入溝17と移行通路18が設けられ、移行通路18の部品1を移行通路18の端部まで移行させる押圧部材22が設けられ、移行通路18の端部に位置している部品1を挟み付ける、移行通路18の内端面28と、押圧部材22の押圧面26が形成され、部品1が移行通路18の内端面28に到達したときから、部品1の存在を示す信号を継続的に発信し続ける部品検知センサー34が、装置本体15に取り付けられ、部品1の被保持部分30を保持して部品1を目的箇所へ供給する送給機構100が、部品1を保持し損なったとき、部品検知センサー34から発信されている部品残存信号によって、送給機構100を復帰させるとともに、再度被保持部分30の保持動作をするように構成した。
【選択図】図7
特許請求の範囲
【請求項1】
装置本体に、送給力によって移送通路を移動してきた部品を受け入れる移行通路が設けられ、
前記移行通路に受け入れられた部品を前記移行通路の端部まで移行させる進退動作式の押圧部材が設けられ、
前記移行通路の端部に位置している部品を挟み付けて固定状態とする、前記移行通路の内端面と、前記押圧部材の押圧面が形成され、
部品が移行通路の内端面に到達したときから、部品の存在を示す信号を継続的に発信し続ける部品検知センサーが、前記装置本体に取り付けられており、
前記移行通路の端部で固定状態とされた部品の一部が前記装置本体から突き出るように構成されることにより、この突き出ている部分が被保持部分とされ、
前記被保持部分を保持して部品を目的箇所へ供給する送給機構が、部品を保持し損なった状態で前記目的箇所へ移動することが発生したとき、部品が前記移行通路の内端面に到達したときから継続して発信されている部品残存信号によって、前記送給機構を復帰させるとともに、再度前記被保持部分の保持動作をするように構成したことを特徴とする異常検知式部品供給装置。
発明の詳細な説明
【技術分野】
【0001】
この発明は、所定の箇所に待機させた部品を保持して、目的箇所へ供給する異常検知式部品供給装置に関するもので、とくに、待機している部品を保持し損なった場合の対応策に特徴がある。
続きを表示(約 1,900 文字)
【背景技術】
【0002】
特開2011-225369号公報には、パーツフィーダなどの部品供給源から送られてきた部品を、所定の箇所に待機させ、この待機部品をロボット装置で保持して、目的箇所へ供給することが記載されている。
【先行技術文献】
【特許文献】
【0003】
特開2011-225369号公報
【発明の概要】
【発明が解決しようとする課題】
【0004】
特許文献1に記載されている技術は、送り込まれてきた部品を左右に振り分けて所定の箇所に静止させ、ついでロボット装置で部品を保持し、目的箇所へ供給するものである。この先行技術においては、ロボット装置が部品を保持し損なったとき、すなわち保持ミスが発生したときの対応技術については、何も記載されていない。
【0005】
以下の説明において、部品を保持し損なったことを、保持ミスと表現している。
【0006】
本発明は、上記の問題点を解決するために提供されたもので、装置に組み込まれた簡単なセンサーからの継続的な部品検出信号によって、自動的で確実な保持ミスの検出を遂行させるとともに、正常な部品保持を自動的に実行させることを目的としている。
【課題を解決するための手段】
【0007】
請求項1記載の発明は、
装置本体に、送給力によって移送通路を移動してきた部品を受け入れる移行通路が設けられ、
前記移行通路に受け入れられた部品を前記移行通路の端部まで移行させる進退動作式の押圧部材が設けられ、
前記移行通路の端部に位置している部品を挟み付けて固定状態とする、前記移行通路の内端面と、前記押圧部材の押圧面が形成され、
部品が移行通路の内端面に到達したときから、部品の存在を示す信号を継続的に発信し続ける部品検知センサーが、前記装置本体に取り付けられており、
前記移行通路の端部で固定状態とされた部品の一部が前記装置本体から突き出るように構成されることにより、この突き出ている部分が被保持部分とされ、
前記被保持部分を保持して部品を目的箇所へ供給する送給機構が、部品を保持し損なった状態で前記目的箇所へ移動することが発生したとき、部品が前記移行通路の内端面に到達したときから継続して発信されている部品残存信号によって、前記送給機構を復帰させるとともに、再度前記被保持部分の保持動作をするように構成したことを特徴とする異常検知式部品供給装置である。
【発明の効果】
【0008】
部品検知センサーからの信号は、移行通路の内端面に部品が到達したときから継続して発信されているので、この継続信号を根拠にして、保持ミスによる部品残存の異常状態を検知することが確実かつ簡単に行うことができる。この異常検知の方策としては種々なものが採用できるが、例えば、タイマー装置を用いて、継続して発信している発信時間が所定時間に達したときに発信される信号をトリガーにして異常を判定したり、部品を保持しないまま目的箇所へ移動する送給機構の動作から得られる信号をトリガーにして異常を判定したりすることができる。異常判定で得られた信号をトリガー信号にして、送給機構を再作動させ、残存している部品を保持する。このような保持ミスの検知、残存部品への再保持動作が一連の動作として自動的になされるので、信頼性の高い異常検知式部品供給装置が得られる。
【0009】
このように、部品検知センサーからの信号を継続した状態で発信させているので、上記のようなタイマー装置からのタイムアップ信号や送給機構からの動作信号で異常状態を検知することができ、この異常検知信号によって、再び送給機構による部品保持動作を行わせることが可能となり、信頼性の高い部品供給が実現する。
【0010】
また、部品検知センサーからの継続信号と、上記のようなタイマー装置や送給機構からの信号が揃ったところで異常状態を確実に検知することができる。この検出信号によって再び送給機構による部品保持動作を行わせることが可能となり、信頼性の高い部品供給が実現する。また、部品検知センサーからの継続信号と、上記のようなタイマー装置や送給機構からの信号が揃ったところで異常状態を検出するものであるから、正常な繰り返し作動の中で万一保持ミスが発生しても、自動的にかつ確実に保持ミスを検知して送給機構の再動作ができるので、生産ラインにおいて部品欠如などのない信頼性の高い異常検知式部品供給装置が得られる。
(【0011】以降は省略されています)
この特許をJ-PlatPat(特許庁公式サイト)で参照する
関連特許
個人
束ね具
1か月前
個人
収容箱
4か月前
個人
コンベア
6か月前
個人
ゴミ収集器
8か月前
個人
段ボール箱
8か月前
個人
段ボール箱
8か月前
個人
土嚢運搬器具
10か月前
個人
テープ引出機
1か月前
個人
角筒状構造体
7か月前
個人
バンド
3か月前
個人
楽ちんハンド
6か月前
個人
宅配システム
8か月前
個人
コード類収納具
9か月前
個人
包装容器
2か月前
個人
廃棄物収容容器
4か月前
個人
棒状体収容容器
1か月前
個人
お薬の締結装置
7か月前
個人
積み重ね用補助具
4か月前
個人
貯蔵サイロ
8か月前
株式会社コロナ
梱包材
7か月前
個人
把手付米袋
6か月前
株式会社バンダイ
物品
2か月前
個人
蓋閉止構造
5か月前
個人
蓋閉止構造
5か月前
株式会社和気
包装用箱
1か月前
三甲株式会社
容器
3か月前
個人
介護用コップ
3か月前
株式会社KY7
封止装置
4か月前
株式会社新弘
容器
4か月前
個人
袋入り即席麺
8か月前
三甲株式会社
容器
7か月前
個人
搬送システム
8か月前
個人
コード折り畳み器具
5か月前
個人
輸送積荷用動吸振器
7か月前
株式会社ナベル
検査装置
1か月前
三甲株式会社
容器
1か月前
続きを見る
他の特許を見る