TOP
|
特許
|
意匠
|
商標
特許ウォッチ
Twitter
他の特許を見る
10個以上の画像は省略されています。
公開番号
2025145448
公報種別
公開特許公報(A)
公開日
2025-10-03
出願番号
2024045628
出願日
2024-03-21
発明の名称
包装箱
出願人
株式会社トーモク
代理人
個人
主分類
B65D
5/54 20060101AFI20250926BHJP(運搬;包装;貯蔵;薄板状または線条材料の取扱い)
要約
【課題】パレットに箱と箱とをくっつけて積み込んだ場合であっても、側面に予期せぬ座屈が発生することを回避することができる包装箱を提供する。
【解決手段】
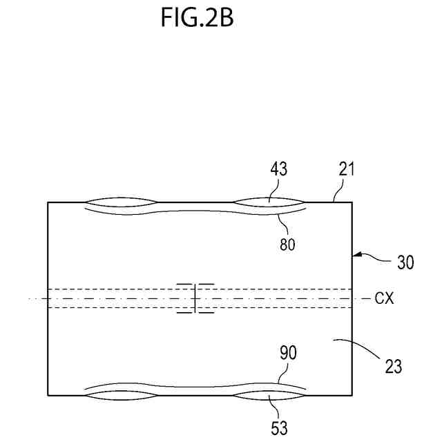
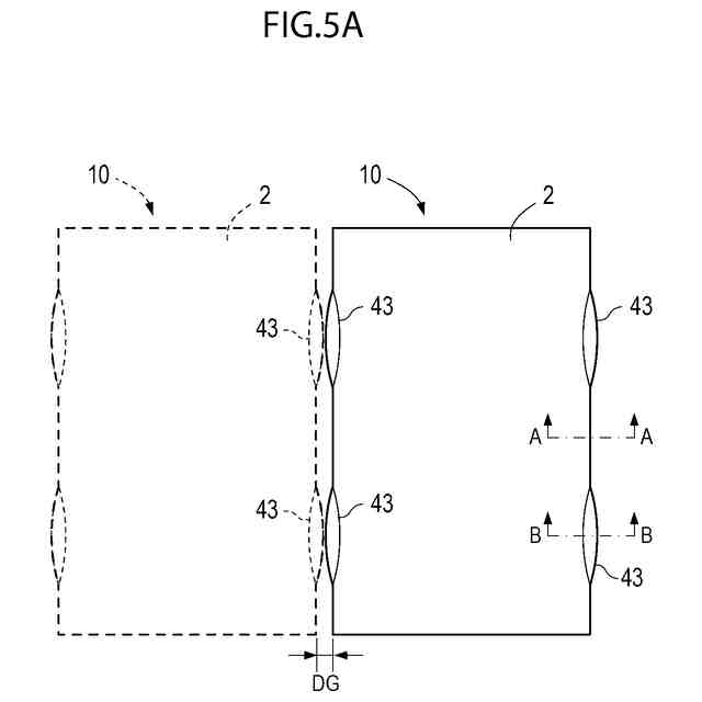
包装箱10の胴部20は、上下方向で対向する一対の第1壁部21、22、及び、一対の第1壁部21、22間を結ぶ一対の第2壁部23がそれぞれ胴部折目線40,50を介して連設されることで構成される。胴部折目線40,50は、第1壁部21,22と第2壁部23との境界線上に沿って延びる2以上の接続折目線41,42と、隣接する接続折目線41,42の端部間を結ぶリーフ状折目線43,53と、を有する。各第2壁部は、上下方向で対向し、胴部折目線40,50のそれぞれから離間して延び、上下方向に沿ってみたときに接続折目線41,42に重複するように形成される一対の座屈誘導折目線80、90を有する。
【選択図】図1
特許請求の範囲
【請求項1】
水平方向に延びる角筒状の胴部と、前記胴部の開放端を閉塞する閉塞部とを有する包装箱であって、
前記胴部は、上下方向で対向する一対の第1壁部、及び、前記一対の第1壁部間を結ぶ一対の第2壁部がそれぞれ胴部折目線を介して連設されることで構成され、
前記第1壁部と前記第2壁部との各境界部分に形成される前記胴部折目線は、前記第1壁部と前記第2壁部との境界線上に沿って延びる2つ以上の接続折目線と、隣接する前記接続折目線の端部間を結ぶとともに前記第1壁部側に向かって凸状に湾曲する第1湾曲折目線及び前記第2壁部側に向かって凸状に湾曲する第2湾曲折目線からなるリーフ状折目線と、を有し、
各第2壁部は、
上下方向で対向し、上縁側及び下縁側の前記胴部折目線のそれぞれから離間しつつ該胴部折目線のそれぞれに沿って延びて、上下方向に沿ってみたときに前記胴部折目線に重複するように形成される一対の座屈誘導折目線を有し、
複数の前記包装箱を上下に積み重ねたときに、前記一対の座屈誘導折目線に沿って山折りされて前記一対の座屈誘導折目線に挟まれる範囲が前記包装箱の外方に突出されることを特徴とする包装箱。
続きを表示(約 450 文字)
【請求項2】
請求項1に記載の包装箱において、
前記リーフ状折目線は、各胴部折目線に対して2つ以上、かつ、各第2壁部において上下対称の位置に形成され、
前記接続折目線は、隣接する2つの前記リーフ状折目線の内側端間を結ぶ中央接続折目線を含み、
前記座屈誘導折目線は、上下方向に沿ってみたときに前記中央接続折目線に重複する領域である第1座屈部を有することを特徴とする包装箱。
【請求項3】
請求項2に記載の包装箱において、
前記座屈誘導折目線は、前記第1座屈部に接続され、上下方向に沿ってみたときに前記第2湾曲折目線に重複する領域である第2座屈部を有し、
各第2壁部は、前記中央接続折目線と第2座屈部の水平方向中間部とを結ぶ補助折目線を有することを特徴とする包装箱。
【請求項4】
請求項3に記載の包装箱において、
前記第2座屈部及び前記補助折目線は、前記第2湾曲折目線に沿って湾曲して形成されていることを特徴とする包装箱。
発明の詳細な説明
【技術分野】
【0001】
本発明は、ブランクシートを折目線に従って折り曲げることにより形成される直方体の包装箱に関する。
続きを表示(約 1,800 文字)
【背景技術】
【0002】
従来、段ボールシートを打ち抜いて得られたブランクシート上に、配列されたびんや缶等の被包装物を載置し、ブランクシートを折目線に従って折り曲げることにより製品を包み込み、そしてフラップを接合することにより、製品を包装しながらケースを形成するようにしたラップアラウンドケースが知られている。この種のラップアラウンドケースでは物品を収納したケースを積み上げた際に、上段側のケースの荷重により下段側のケースに胴膨れが生じ、予期せぬ座屈を発生させてケースの外観を損なうという問題があった。
【0003】
この問題に対して、直方体の包装箱の側面に上下端縁に沿って波状の折目線を上下対称に形成したものが知られている(特許文献1)。この従来の包装箱によれば、物品を収納したケースを積み上げたとき、上段側ケースの荷重により、下段側のケースの側面は一対の波形の折目線に沿って予定した通りに折れ曲がり、一対の波形の折目線に挟まれた部分が前記包装箱の外方に突出して荷重を逃がせるので、予期せぬ座屈を回避することができる。
【先行技術文献】
【特許文献】
【0004】
意匠登録第1548930号
【発明の概要】
【発明が解決しようとする課題】
【0005】
しかしながら、包装箱は、パレットに積み込む際に荷崩れを起こさないためには、上下左右に箱と箱とをくっつけて積んでいく必要がある。そうすると、従来の包装箱は、上段側ケースの荷重により側面の一部を外方に突出させようとした場合に、隣接する包装箱の側面が邪魔になり、突出が阻害されるため、荷重を逃すことができず別異の予期せぬ座屈が生じるという問題がある。
【0006】
そこで、本発明はかかる点に鑑みてなされたものであり、パレットに箱と箱とをくっつけて積み込んだ場合であっても、側面に予期せぬ座屈が発生することを回避することができる包装箱を提供することを目的とする。
【課題を解決するための手段】
【0007】
本発明の包装箱は、水平方向に延びる角筒状の胴部と、前記胴部の開放端を閉塞する閉塞部とを有する包装箱であって、前記胴部は、上下方向で対向する一対の第1壁部、及び、前記一対の第1壁部間を結ぶ一対の第2壁部がそれぞれ胴部折目線を介して連設されることで構成され、前記第1壁部と前記第2壁部との各境界部分に形成される前記胴部折目線は、前記第1壁部と前記第2壁部との境界線上に沿って延びる2つ以上の接続折目線と、隣接する前記接続折目線の端部間を結ぶとともに前記第1壁部側に向かって凸状に湾曲する第1湾曲折目線及び前記第2壁部側に向かって凸状に湾曲する第2湾曲折目線からなるリーフ状折目線と、を有し、各第2壁部は、上下方向で対向し、上縁側及び下縁側の前記胴部折目線のそれぞれから離間しつつ該胴部折目線のそれぞれに沿って延びて、上下方向に沿ってみたときに前記胴部折目線に重複するように形成される一対の座屈誘導折目線を有し、複数の前記包装箱を上下に積み重ねたときに、前記一対の座屈誘導折目線に沿って山折りされて前記一対の座屈誘導折目線に挟まれる範囲が前記包装箱の外方に突出されることを特徴とする(以下、「第1の本発明の包装箱」という。)。
【0008】
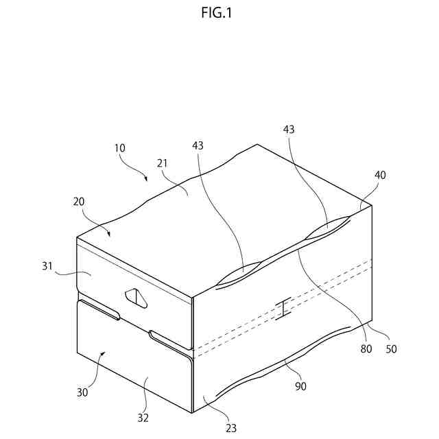
第1の本発明の包装箱では、胴部折目線の一部にリーフ状折目線を含むため、製函に際してブランクシートを胴部折目線に沿って第1壁部と第2壁部とを直角に折り曲げて胴部を形成したときに、第2壁部の一部がリーフ状折目線の第2湾曲折目線に沿って外側に突出する。
【0009】
次いで、この第1の本発明の包装箱をパレットに水平方向にくっつけて並べる場合、隣接する包装箱の第2壁部同士は突出した一部で接触するため、両者の間に隙間が生じる。
【0010】
次いで、第1の本発明の包装箱には、第2壁部の上縁部及び下縁部付近にそれぞれ座屈誘導折目線が上述したリーフ状折目線の形成されていない位置(上下方向に沿ってみたときに前記胴部折目線に重複する位置)に形成されているため、包装箱を上下方向に積み重ねたときに、第2壁部はこの一対の座屈誘導折目線に沿って山折りされ、一対の座屈誘導折目線に挟まれる範囲が包装箱の外方に突出される。
(【0011】以降は省略されています)
この特許をJ-PlatPat(特許庁公式サイト)で参照する
関連特許
株式会社トーモク
包装箱
1か月前
個人
収容箱
3か月前
個人
コンベア
5か月前
個人
容器
9か月前
個人
段ボール箱
7か月前
個人
段ボール箱
7か月前
個人
ゴミ収集器
7か月前
個人
角筒状構造体
5か月前
個人
土嚢運搬器具
8か月前
個人
宅配システム
7か月前
個人
楽ちんハンド
5か月前
個人
バンド
2か月前
個人
廃棄物収容容器
2か月前
個人
コード類収納具
8か月前
個人
包装容器
1か月前
個人
お薬の締結装置
6か月前
個人
閉塞装置
10か月前
個人
蓋閉止構造
4か月前
株式会社和気
包装用箱
9か月前
個人
蓋閉止構造
4か月前
個人
貯蔵サイロ
7か月前
株式会社和気
包装用箱
6日前
個人
積み重ね用補助具
3か月前
個人
ゴミ処理機
9か月前
株式会社コロナ
梱包材
5か月前
株式会社バンダイ
物品
26日前
個人
把手付米袋
4か月前
三甲株式会社
容器
10日前
株式会社KY7
封止装置
3か月前
個人
袋入り即席麺
7か月前
個人
搬送システム
6か月前
個人
コード折り畳み器具
4か月前
個人
包装箱
10か月前
個人
輸送積荷用動吸振器
6か月前
株式会社新弘
容器
3か月前
株式会社イシダ
搬送装置
6か月前
続きを見る
他の特許を見る