TOP
|
特許
|
意匠
|
商標
特許ウォッチ
Twitter
他の特許を見る
公開番号
2025166753
公報種別
公開特許公報(A)
公開日
2025-11-06
出願番号
2024070973
出願日
2024-04-24
発明の名称
案内端末及び電子カルテシステム
出願人
株式会社イシダ
代理人
フェリシテ弁理士法人
主分類
G16H
10/60 20180101AFI20251029BHJP(特定の用途分野に特に適合した情報通信技術)
要約
【課題】患者が待ち時間等にバイタル機器で測定した測定結果を自動的に電子カルテシステムに記録することを可能とし、看護師や医療スタッフの作業を低減すること。
【解決手段】一実施形態に係る案内端末10は、各種情報を記憶する記憶部11と、近距離無線通信により外部メディアから情報を読み取る読取部12と、電子カルテシステムと情報通信する通信部13と、通信部の動作を制御する制御部14とを備え、制御部14は、読取部12から患者のバイタルに関する情報を取得し、記憶部11において患者を一意に識別する識別情報が記憶されている場合、通信部13を介して患者のバイタルに関する情報を電子カルテシステム20に送信する。
【選択図】図2
特許請求の範囲
【請求項1】
病院内において患者が利用する案内端末であって、
各種情報を記憶する記憶部と、
近距離無線通信により外部メディアから情報を読み取る読取部と、
電子カルテシステムと情報通信する通信部と、
前記通信部の動作を制御する制御部と、を備え、
前記制御部は、
前記読取部から前記患者のバイタルに関する情報を取得し、
前記記憶部において前記患者を一意に識別する識別情報が記憶されている場合、前記通信部を介して前記患者のバイタルに関する情報を前記電子カルテシステムに送信する、案内端末。
続きを表示(約 540 文字)
【請求項2】
前記制御部は、
前記通信部を介して外部サーバに対して前記案内端末を所持する患者の認証が完了しているか否かを問い合わせ、
前記問い合わせの結果、前記患者の認証が完了している場合、前記通信部を介して前記患者のバイタルに関する情報を前記電子カルテシステムに送信する、請求項1に記載の案内端末。
【請求項3】
前記患者の認証には、有効期限が設定されており、
前記制御部は、前記患者の認証が完了している場合で且つ前記患者の認証が有効期限内である場合、前記通信部を介して前記患者のバイタルに関する情報を前記電子カルテシステムに送信する、請求項2に記載の案内端末。
【請求項4】
電子カルテシステムであって、
各種情報を記憶する記憶部と、
病院内において患者が利用する案内端末と情報通信する通信部と、
前記通信部の動作を制御する制御部と、を備え、
前記制御部は、
前記通信部を介して前記案内端末から受け取った情報に、前記案内端末を所持する患者の認証情報が含まれている場合、前記案内端末からの前記患者のバイタルに関する情報のアップロードを受信可能とする、電子カルテシステム。
発明の詳細な説明
【技術分野】
【0001】
本発明は、案内端末及び電子カルテシステムに関する。
続きを表示(約 1,600 文字)
【背景技術】
【0002】
従来から、病院で用いられる案内端末が知られている。かかる案内端末は、診察時間になったら診察室へ患者を誘導する機能等を備えている。
【先行技術文献】
【特許文献】
【0003】
特許第7034466号公報
【発明の概要】
【発明が解決しようとする課題】
【0004】
しかしながら、現行の案内端末は、病院内の基幹システムである電子カルテシステムと連携して動作している一方、血圧計や体重計等のバイタル機器は、電子カルテシステムと連携していないため、看護師や医療スタッフが、バイタル機器による測定結果を手動でPCにて入力しなければならないという問題点があった。
【0005】
そこで、本発明は、上記課題に鑑みてなされたものであり、患者が待ち時間等にバイタル機器で測定した測定結果を自動的に電子カルテシステムに記録することを可能とし、看護師や医療スタッフの作業を低減することができる案内端末及び電子カルテシステムを提供することを目的とする。
【課題を解決するための手段】
【0006】
一実施形態に係る案内端末は、病院内において患者が利用する案内端末であって、各種情報を記憶する記憶部と、近距離無線通信により外部メディアから情報を読み取る読取部と、電子カルテシステムと情報通信する通信部と、前記通信部の動作を制御する制御部と、を備え、前記制御部は、前記読取部から前記患者のバイタルに関する情報を取得し、前記記憶部において前記患者を一意に識別する識別情報が記憶されている場合、前記通信部を介して前記患者のバイタルに関する情報を前記電子カルテシステムに送信することを要旨とする。
【0007】
一実施形態に係る電子カルテシステムは、各種情報を記憶する記憶部と、病院内において患者が利用する案内端末と情報通信する通信部と、前記通信部の動作を制御する制御部と、を備え、前記制御部は、前記通信部を介して前記案内端末から受け取った情報に、前記案内端末を所持する患者の認証情報が含まれている場合、前記案内端末からの前記患者のバイタルに関する情報のアップロードを受信可能とすることを要旨とする。
【発明の効果】
【0008】
本発明によれば、患者が待ち時間等にバイタル機器で測定した測定結果を自動的に電子カルテシステムに記録することを可能とし、看護師や医療スタッフの作業を低減することができる案内端末及び電子カルテシステムを提供できる。
【図面の簡単な説明】
【0009】
図1は、第1実施形態に係る病院システム1の全体構成の一例を示す図である。
図2は、第1実施形態に係る案内端末10の機能ブロックの一例を示す図である。
図3は、第1実施形態に係る電子カルテシステム20の機能ブロックの一例を示す図である。
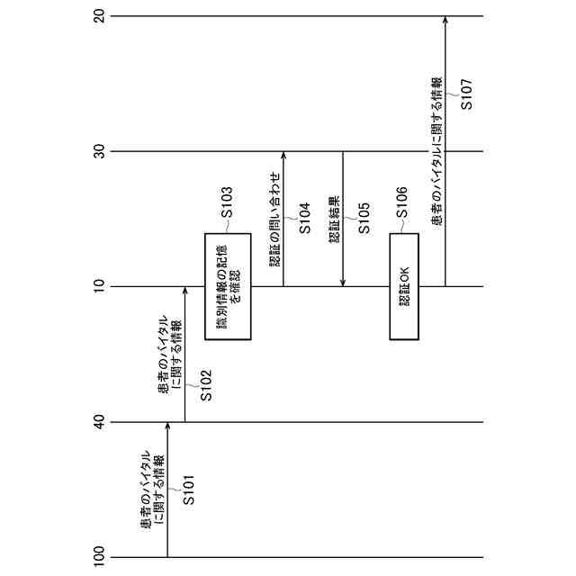
図4は、第1実施形態に係る病院システム1の動作の一例を示すシーケンス図である。
【発明を実施するための形態】
【0010】
以下に添付図面を参照しながら、本発明の好適な実施形態について詳細に説明する。なお、以下の図面の記載において、同一又は類似の部分には、同一又は類似の符号を付している。ただし、図面は模式的なものであり、各寸法の比率等は現実のものとは異なることに留意すべきである。したがって、具体的な寸法等は、以下の説明を参酌して判断すべきである。また、図面相互間においても互いの寸法の関係や比率が異なる部分が含まれ得る。本明細書及び図面において、実質的に同一の機能、構成を有する要素については、同一の符号を付することにより重複説明を省略し、また本発明に直接関係のない要素は図示を省略する。
(【0011】以降は省略されています)
この特許をJ-PlatPat(特許庁公式サイト)で参照する
関連特許
株式会社イシダ
包装装置
1か月前
株式会社イシダ
計量装置
13日前
株式会社イシダ
計量装置
2か月前
株式会社イシダ
製袋包装機
2か月前
株式会社イシダ
X線検査装置
2か月前
株式会社イシダ
商品処理装置
2か月前
株式会社イシダ
X線検査装置
2か月前
株式会社イシダ
X線検査装置
2か月前
株式会社イシダ
受付端末装置
1か月前
株式会社イシダ
組合せ計量装置
1か月前
株式会社イシダ
組合せ計量装置
2か月前
株式会社イシダ
組合せ計量装置
19日前
株式会社イシダ
電子棚札用の制御システム
2か月前
株式会社イシダ
トレーサビリティ管理装置
13日前
株式会社イシダ
院内用書込装置及び受付端末装置
1か月前
株式会社イシダ
案内端末及び電子カルテシステム
27日前
株式会社イシダ
製袋包装機及びフィルムロール交換システム
2か月前
株式会社イシダ
X線検査装置
5日前
株式会社イシダ
重量検査装置
今日
株式会社イシダ
検査システム及び検査装置
2か月前
株式会社イシダ
台紙レスラベルのラベル切断装置
21日前
株式会社イシダ
自走式フィルムロール交換装置、フィルムロール交換システム、及びフィルムロール交換方法
2か月前
個人
支援システム
6か月前
個人
医療のAI化
2か月前
個人
管理装置
6か月前
個人
対話システム
6か月前
個人
通知ぬいぐるみAIシステム
3か月前
キラル株式会社
ヘルスケアシステム
1か月前
キラル株式会社
ヘルスケアシステム
1か月前
キヤノン株式会社
情報処理装置
13日前
株式会社タカゾノ
情報処理装置
5日前
株式会社タカゾノ
薬剤秤量装置
4か月前
株式会社タカゾノ
薬剤秤量装置
4か月前
株式会社タカゾノ
薬剤秤量装置
4か月前
株式会社タカゾノ
薬剤秤量装置
4か月前
株式会社タカゾノ
情報処理装置
5日前
続きを見る
他の特許を見る