TOP
|
特許
|
意匠
|
商標
特許ウォッチ
Twitter
他の特許を見る
10個以上の画像は省略されています。
公開番号
2025143086
公報種別
公開特許公報(A)
公開日
2025-10-01
出願番号
2024042817
出願日
2024-03-18
発明の名称
計量装置
出願人
株式会社イシダ
代理人
弁理士法人新樹グローバル・アイピー
主分類
G01G
23/01 20060101AFI20250924BHJP(測定;試験)
要約
【課題】最適な動補正値を求める計量装置を提供することである。
【解決手段】
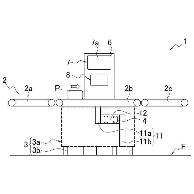
計量装置1は、搬送部2と、計量部4と、制御部8とを備える。搬送部2は、物品を搬送する。計量部4は、搬送部2上の物品の重量を計量する。制御部8は、計量部4から出力される計量信号を処理する。制御部8は、少なくとも第1基準物品であるサンプルP1を静止計量して得られる第1基準重量値と、第2基準物品であるサンプルP2を静止計量して得られる第2基準重量値とを取得する。さらに制御部8は、取得した第1基準重量値および第2基準重量値と、第1基準物品および第2基準物品が搬送部2により搬送されながら計量された計量結果とに基づいて、計量信号の処理において用いる補正値を算出する。
【選択図】図3
特許請求の範囲
【請求項1】
物品を搬送する搬送部と、
前記搬送部上の前記物品の重量を計量する計量部と、
前記計量部から出力される計量信号を処理する処理部と、
を備え、
前記処理部は、第1基準物品を静止計量して得られる第1基準重量値と、第2基準物品を静止計量して得られる第2基準重量値とを取得し、取得した前記第1基準重量値および前記第2基準重量値と、前記第1基準物品および前記第2基準物品が前記搬送部により搬送されながら計量された計量結果とに基づいて、前記計量信号の処理において用いる補正値を算出する、
計量装置。
続きを表示(約 270 文字)
【請求項2】
前記第1基準重量値と前記第2基準重量値とは互いに異なる、
請求項1に記載の計量装置。
【請求項3】
前記第1基準重量値および前記第2基準重量値は、前記搬送部を停止した状態で前記計量部により取得される、
請求項1または請求項2に記載の計量装置。
【請求項4】
前記処理部は、前記第1基準重量値および前記第2基準重量値を取得する際、前記搬送部で搬送している前記物品を計量するための時間よりも長い時間をかけて計量値を取得する、
請求項1または請求項2に記載の計量装置。
発明の詳細な説明
【技術分野】
【0001】
本発明は、計量装置に関する。
続きを表示(約 1,100 文字)
【背景技術】
【0002】
計量装置の一例として、搬送コンベアによって搬送される物品(計量対象物)の重量を計量する装置が挙げられる。たとえば特許文献1(特開2022-64521号公報)に記載の計量装置では、搬送コンベアの停止時にサンプルを計量部で計量して得られる静止計量値と、搬送コンベアによりサンプルを搬送しながら計量部で計量して得られる動的計量値とでは差が生じるので、動的計量値に動補正処理を施している。
【0003】
動補正は1つの代表したサンプルの基準値を入力し、計量結果から動補正値を算出して、動補正を行っている。
【発明の概要】
【発明が解決しようとする課題】
【0004】
しかしながら、動補正値が最適でないときは、良品を不合格と判定される場合、或いはその逆の場合がある。本発明の課題は、最適な動補正値を求める計量装置を提供することにある。
【課題を解決するための手段】
【0005】
第1観点の計量装置は、搬送部と、計量部と、処理部とを備える。搬送部は、物品を搬送する。計量部は、搬送部上の物品の重量を計量する。処理部は、計量部から出力される計量信号を処理する。処理部は、第1基準物品を静止計量して得られる第1基準重量値と、第2基準物品を静止計量して得られる第2基準重量値とを取得する。さらに処理部は、取得した第1基準重量値および第2基準重量値と、第1基準物品および第2基準物品が搬送部により搬送されながら計量された計量結果とに基づいて、計量信号の処理において用いる補正値を算出する。
【0006】
この計量装置では、複数の基準物品に基づいて補正値を算出することによって、より適正な補正値が得られる。
【0007】
第2観点の計量装置は、第1観点の計量装置であって、第1基準重量値と第2基準重量値とは互いに異なる。
【0008】
第3観点の計量装置は、第1観点または第2観点の計量装置であって、第1基準重量値および第2基準重量値が、搬送部を停止した状態で計量部により取得される。
【0009】
この計量装置では、第1基準重量値および第2基準重量値を別の秤で得る手間が省ける。
【0010】
第4観点の計量装置は、第1観点または第2観点の計量装置であって、処理部が、第1基準重量値および第2基準重量値を取得する際、搬送部で搬送している物品を計量するための時間よりも長い時間をかけて計量値を取得する。
(【0011】以降は省略されています)
この特許をJ-PlatPat(特許庁公式サイト)で参照する
関連特許
株式会社イシダ
計量装置
6日前
株式会社イシダ
検査装置
2か月前
株式会社イシダ
包装装置
27日前
株式会社イシダ
計量装置
1か月前
株式会社イシダ
製袋包装機
1か月前
株式会社イシダ
X線検査装置
1か月前
株式会社イシダ
X線検査装置
2か月前
株式会社イシダ
X線検査装置
1か月前
株式会社イシダ
商品処理装置
1か月前
株式会社イシダ
X線検査装置
2か月前
株式会社イシダ
X線検査装置
1か月前
株式会社イシダ
受付端末装置
28日前
株式会社イシダ
組合せ計量装置
1か月前
株式会社イシダ
組合せ計量装置
29日前
株式会社イシダ
組合せ計量装置
1か月前
株式会社イシダ
組合せ計量装置
12日前
株式会社イシダ
トレーサビリティ管理装置
6日前
株式会社イシダ
電子棚札用の制御システム
1か月前
株式会社イシダ
院内用書込装置及び受付端末装置
28日前
株式会社イシダ
案内端末及び電子カルテシステム
20日前
株式会社イシダ
製袋包装機及びフィルムロール交換システム
1か月前
株式会社イシダ
検査システム及び検査装置
1か月前
株式会社イシダ
台紙レスラベルのラベル切断装置
14日前
株式会社イシダ
自走式フィルムロール交換装置、フィルムロール交換システム、及びフィルムロール交換方法
1か月前
個人
採尿及び採便具
27日前
日本精機株式会社
検出装置
21日前
個人
高精度同時多点測定装置
1か月前
個人
計量機能付き容器
16日前
個人
アクセサリー型テスター
1か月前
株式会社ミツトヨ
測定器
1か月前
甲神電機株式会社
電流検出装置
21日前
株式会社カクマル
境界杭
6日前
ユニパルス株式会社
ロードセル
1か月前
アズビル株式会社
電磁流量計
1か月前
株式会社チノー
放射光測温装置
1か月前
株式会社ヨコオ
ソケット
1か月前
続きを見る
他の特許を見る