TOP
|
特許
|
意匠
|
商標
特許ウォッチ
Twitter
他の特許を見る
公開番号
2025144156
公報種別
公開特許公報(A)
公開日
2025-10-02
出願番号
2024043799
出願日
2024-03-19
発明の名称
X線検査装置
出願人
株式会社イシダ
代理人
個人
,
個人
,
個人
主分類
G01N
23/18 20180101AFI20250925BHJP(測定;試験)
要約
【課題】生産性を維持したまま、全体的に細長い形状の異物と全体的に太短い形状の異物とを区別できる、X線検査装置を提供する。
【解決手段】X線検査装置は、X線透過画像に基づき、物品が正常か異常かを判定する判定部を備える。判定部は、X線透過画像を、隣接する画素の濃淡差に基づき複数の領域に分け、複数の領域の中に、所定濃淡値以上の画素によって所定閾値以上の面積、長さ又は密集度となるように形成されている領域がなく、かつ、複数の領域の中に、所定濃淡値以上の画素によって所定閾値未満の面積、長さ又は密集度となるように形成されている特定領域が少なくとも一つある場合、特定領域の少なくとも一つに対する外接矩形の第一辺の長さと、第一辺に接続する第一辺の長さ以上である第二辺の長さとに基づいて、物品が正常か異常かを判定する。
【選択図】図5
特許請求の範囲
【請求項1】
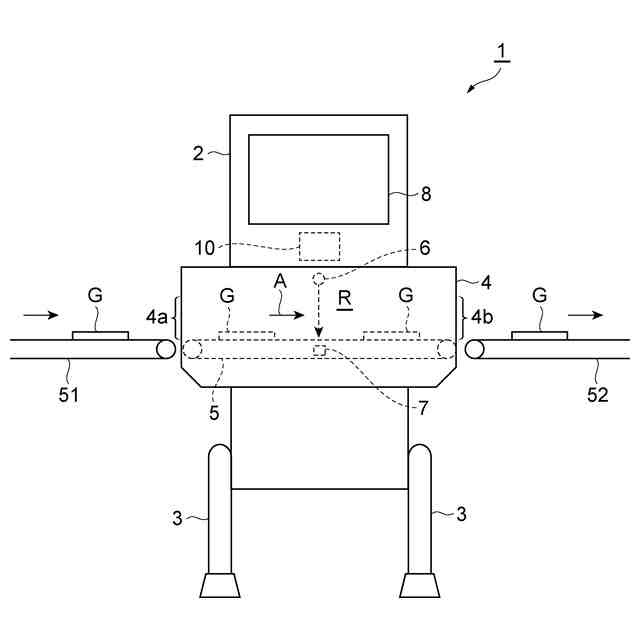
物品を搬送する搬送部と、
前記搬送部に搬送される前記物品にX線を照射するX線源と、
前記X線を検出するX線検出部と、
前記X線検出部による前記X線の検出結果に基づき、X線透過画像を生成するX線画像生成部と、
前記X線透過画像に基づき、前記物品が正常か異常かを判定する判定部と、を備え、
前記判定部は、
前記X線透過画像を、隣接する画素の濃淡差に基づき複数の領域に分け、
前記複数の領域の中の少なくとも一つの前記領域が、所定濃淡値以上の画素によって所定閾値以上の面積、長さ又は密集度となるように形成されている場合、前記物品が異常であると判定し、
前記複数の領域の中に、所定濃淡値以上の画素によって所定閾値以上の面積、長さ又は密集度となるように形成されている領域がなく、かつ、前記複数の領域の中に、前記所定濃淡値以上の画素によって前記所定閾値未満の面積、長さ又は密集度となるように形成されている特定領域が少なくとも一つある場合、前記特定領域の少なくとも一つに対する外接矩形の第一辺の長さと、前記第一辺に接続する前記第一辺の長さ以上である第二辺の長さとに基づいて、前記物品が正常か異常かを判定する、X線検査装置。
続きを表示(約 490 文字)
【請求項2】
前記第一辺の長さに対する前記第二辺の長さの比の値が、第一設定範囲にあるか、又は、前記第二辺の長さに対する前記第一辺の長さの比の値が、第二設定範囲にある場合、前記物品に異常があると判定する、請求項1記載のX線検査装置。
【請求項3】
前記第一設定範囲又は前記第二設定範囲を設定する設定部を備える、請求項2記載のX線検査装置。
【請求項4】
前記判定部による検査結果を表示する表示部を備え、
前記表示部は、前記特定領域がある場合、該当する前記領域の前記面積、前記長さ、前記密集度、前記第一辺の長さに対する前記第二辺の長さの比又は前記第二辺の長さに対する前記第一辺の長さの比を表示する、請求項1~3の何れか一項記載のX線検査装置。
【請求項5】
前記表示部は、前記特定領域がある場合、該当する前記領域の前記面積、前記長さ、前記密集度、前記第一辺の長さに対する前記第二辺の長さの比又は前記第二辺の長さに対する前記第一辺の長さの比に関する最大値、最小値、平均値又は標準偏差を表示する、請求項4記載のX線検査装置。
発明の詳細な説明
【技術分野】
【0001】
本発明の一側面は、X線検査装置に関する。
続きを表示(約 2,100 文字)
【背景技術】
【0002】
搬送されてくる被検査物に対してX線を照射し、被検査物を透過するX線を受光してX線透過画像を生成し、このX線透過画像に基づいて被検査物に異物が混入しているか否かを検査するX線検査装置が知られている。このようなX線検査装置では、金属、石、ガラス等の異物が食品等の被検査物よりも暗く表示される特性を利用して、その画像の中に含まれる所定濃度範囲の画素を抽出し、異物の有無を判定している。ところが、このようなX線検査装置において、異物の検知感度を高めていくと、混入しても危険ではないサイズの異物まで問題のある異物として検知してしまい、生産性を低下させることになる。特許文献1は、このような課題を解決することができるX線検査装置であり、所定濃度範囲の画素の面積、長さ等のパラメータに基づいて所定のサイズ以下の異物を問題のある異物として検知しないように設定することで、誤検知の防止と生産性の向上との両立を図るようにしていた。
【先行技術文献】
【特許文献】
【0003】
特開2005-172510号公報
【発明の概要】
【発明が解決しようとする課題】
【0004】
ここで、口腔内の一部に刺さる等の危険性がある全体的に細長い形状の異物については、所定サイズ未満の異物であっても、問題のある異物として検知したいという要望がある。ところが、所定サイズ未満の異物の中には、口腔内の一部に刺さる等の危険性が小さい全体的に太短い形状の異物がある。このため、サイズに基づいて問題のある異物であるか否かを判定する上記従来のX線検査装置では、生産性を維持したまま、全体的に細長い形状の異物と全体的に太短い形状の異物とを区別することは難しい。
【0005】
そこで、本発明の一側面の目的は、生産性を維持したまま、全体的に細長い形状の異物と全体的に太短い形状の異物とを区別できる、X線検査装置を提供することにある。
【課題を解決するための手段】
【0006】
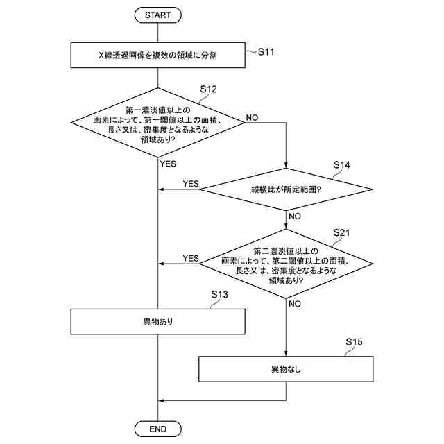
(1)本発明の一側面に係るX線検査装置は、物品を搬送する搬送部と、搬送部に搬送される物品にX線を照射するX線源と、X線を検出するX線検出部と、X線検出部によるX線の検出結果に基づき、X線透過画像を生成するX線画像生成部と、X線透過画像に基づき、物品が正常か異常かを判定する判定部と、を備え、判定部は、X線透過画像を、隣接する画素の濃淡差に基づき複数の領域に分け、複数の領域の中の少なくとも一つの領域が、所定濃淡値以上の画素によって所定閾値以上の面積、長さ又は密集度となるように形成されている場合、物品が異常であると判定し、複数の領域の中に、所定濃淡値以上の画素によって所定閾値以上の面積、長さ又は密集度となるように形成されている領域がなく、かつ、複数の領域の中に、所定濃淡値以上の画素によって所定閾値未満の面積、長さ又は密集度となるように形成されている特定領域が少なくとも一つある場合、特定領域の少なくとも一つに対する外接矩形の第一辺の長さと、第一辺に接続する第一辺の長さ以上である第二辺の長さとに基づいて、物品が正常か異常かを判定する。
【0007】
この構成のX線検査装置では、所定濃淡値以上の画素によって所定閾値以上の面積、長さ又は密集度となるように形成されている領域には、所定サイズ以上の異物があると判定する。また、この構成のX線検査装置では、所定濃淡値以上の画素によって所定閾値未満の面積、長さ又は密集度となるように形成されている領域には、所定サイズ未満の異物があると判定する。そして、この構成のX線検査装置では、所定サイズ未満と判定された異物の領域に対する外接矩形の第一辺と第二辺との比に基づいて、これらの異物が、全体的に細長い形状であるのか、全体的に太短い形状であるのかを区別している。これにより、生産性を維持したまま、全体的に細長い形状の異物と全体的に太短い形状の異物とを区別できる。
【0008】
(2)上記(1)のX線検査装置では、第一辺の長さに対する第二辺の長さの比の値が、第一設定範囲にあるか、又は、第二辺の長さに対する第一辺の長さの比の値が、第二設定範囲にある場合、物品に異常があると判定してもよい。この構成では、細長さの度合が所定レベルにあるとき、全体的に細長い形状の異物であると判定することができる。
【0009】
(3)上記(2)のX線検査装置では、第一設定範囲又は第二設定範囲を設定する設定部を備えてもよい。この構成では、使用者が取り除きたいと考える細長さ度合の異物が含まれる物品を検知できるようになる。
【0010】
(4)上記(1)~(3)の何れか一つのX線検査装置は、判定部による検査結果を表示する表示部を備え、表示部は、特定領域がある場合、該当する領域の面積、長さ、密集度、第一辺の長さに対する第二辺の長さの比又は第二辺の長さに対する第一辺の長さの比を表示してもよい。この構成では、所定サイズ未満の異物がどのような特性を有しているのかを容易に確認することができる。
(【0011】以降は省略されています)
この特許をJ-PlatPat(特許庁公式サイト)で参照する
関連特許
株式会社イシダ
計量装置
1日前
株式会社イシダ
検査装置
29日前
株式会社イシダ
製袋包装機
3日前
株式会社イシダ
X線検査装置
今日
株式会社イシダ
X線検査装置
今日
株式会社イシダ
商品処理装置
1日前
株式会社イシダ
X線検査装置
1日前
株式会社イシダ
X線検査装置
21日前
株式会社イシダ
組合せ計量装置
今日
株式会社イシダ
組合せ計量装置
3日前
株式会社イシダ
電子棚札用の制御システム
今日
株式会社イシダ
製袋包装機及びフィルムロール交換システム
今日
株式会社イシダ
検査システム及び検査装置
2日前
株式会社イシダ
自走式フィルムロール交換装置、フィルムロール交換システム、及びフィルムロール交換方法
今日
日本精機株式会社
位置検出装置
1日前
日本精機株式会社
位置検出装置
1日前
日本精機株式会社
位置検出装置
1日前
大和製衡株式会社
組合せ秤
6日前
大和製衡株式会社
組合せ秤
6日前
アズビル株式会社
圧力センサ
今日
株式会社東芝
センサ
6日前
株式会社ユーシン
操作検出装置
3日前
エイブリック株式会社
磁気センサ回路
今日
トヨタ自動車株式会社
検査装置
3日前
株式会社東芝
センサ
6日前
トヨタ自動車株式会社
表示装置
15日前
TDK株式会社
ガスセンサ
今日
東レエンジニアリング株式会社
計量装置
3日前
個人
粘塑性を用いた有限要素法の定式化
15日前
株式会社ナリス化粧品
角層細胞採取用具
13日前
三菱マテリアル株式会社
温度センサ
13日前
成田空港給油施設株式会社
保持治具
14日前
中国電力株式会社
異常箇所検出装置
14日前
富士電機株式会社
エンコーダ
今日
TDK株式会社
磁気計測装置
14日前
株式会社熊谷組
RI計測装置
1日前
続きを見る
他の特許を見る