TOP
|
特許
|
意匠
|
商標
特許ウォッチ
Twitter
他の特許を見る
公開番号
2025135417
公報種別
公開特許公報(A)
公開日
2025-09-18
出願番号
2024033257
出願日
2024-03-05
発明の名称
保持治具
出願人
成田空港給油施設株式会社
代理人
個人
主分類
G01M
13/003 20190101AFI20250910BHJP(測定;試験)
要約
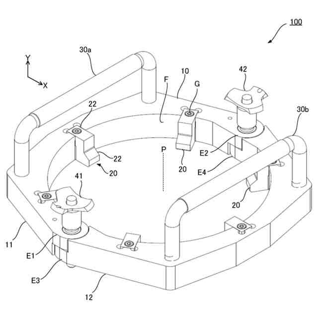
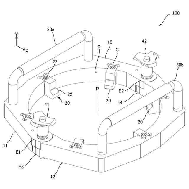
【課題】ハイドラントバルブを保持しやすくする。
【解決手段】ハイドラントバルブを保持するための治具であって、前記ハイドラントバルブの外周面に沿った環状の支持部10と、前記支持部10の内周面Fから突出する突出部22を含み、前記外周面に設けられたフランジ部に係合する係合部20と、前記支持部10に設けられ、作業員が把持するための第1把持部30aおよび第2把持部30bとを具備する保持治具100。
【選択図】図1
特許請求の範囲
【請求項1】
ハイドラントバルブを保持するための治具であって、
前記ハイドラントバルブの外周面に沿った環状の支持部と、
前記支持部の内周面から突出する突出部を含み、前記外周面に設けられたフランジ部に係合する係合部と、
前記支持部に設けられ、作業員が把持するための第1把持部および第2把持部と
を具備する保持治具。
続きを表示(約 790 文字)
【請求項2】
前記第1把持部および前記第2把持部とは、前記支持部の中心軸に平行な方向に向かって突出する
請求項1の保持治具。
【請求項3】
前記支持部は、前記ハイドラントバルブの周方向に沿って第1部分と第2部分とを含み、
前記第1部分は、第1端部と第2端部とを含み、
前記第2部分は、第3端部と第4端部とを含み、
前記第1端部と前記第3端部とを連結する第1連結部と、
前記第2端部と前記第4端部とを連結する第2連結部とをさらに具備し、
前記第1連結部および前記第2連結部の少なくとも一方は、前記連結の解除が可能であり、当該一方において前記連結を解除した状態において、前記第1連結部および前記第2連結部の他方を中心として前記第1部分および前記第2部分とは回転可能である
請求項1の保持治具。
【請求項4】
前記第1連結部は、前記第1端部に設けられた貫通孔と前記第3端部に設けられた貫通孔とに、前記中心軸に平行な方向から挿通されるボールロックピンであり、
前記第2連結部は、前記第2端部に設けられた貫通孔と前記第4端部に設けられた貫通孔とに、前記中心軸に平行な方向から挿通されるボールロックピンである
請求項3の保持治具。
【請求項5】
前記係合部は、前記支持部とは別体であり、取り外しが可能な固着具により当該支持部に接続される
請求項1の保持治具。
【請求項6】
前記突出部のうち前記フランジ部の下面と対向する面は、傾斜面である
請求項1の保持治具。
【請求項7】
前記係合部は、複数あり、
前記複数の係合部は、前記支持部の内周面において所定の間隔で設けられる
請求項1の保持治具。
発明の詳細な説明
【技術分野】
【0001】
本発明は、ハイドラントバルブを保持するための保持治具に関する。
続きを表示(約 1,100 文字)
【背景技術】
【0002】
空港の燃料給油施設において、ハイドラント方式とよばれる給油システムが知られている。ハイドラント方式は、貯油タンクから地下に埋設された輸送管によりエプロン(駐機場)まで航空燃料を届ける給油システムである。
【0003】
ハイドラント方式の給油システムにおいては、エプロンの燃料給油ポイントにおいてハイドラントバルブが輸送管に接続されている。このハイドラントバルブから給油車両を介して燃料を航空機に給油できる。
【0004】
ここで、ハイドラントバルブは、輸送管と給油車両とを接続する役割を果たすとともに、輸送管内の燃料の供給に関する異常や、ハイドラントバルブ自体に異常が発生した際に、速やかにバルブを閉鎖させることで燃料の供給を停止させる機能を有している。したがって、ハイドラントバルブの性能を確保するために、定期的に検査が行われている。
【0005】
そこで、特許文献1には、ハイドラントバルブの性能を検査するための検査治具が開示されている。特許文献1の技術では、輸送管から取り外したハイドラントバルブに検査治具を取り付けて検査をする。そして、検査が完了すると輸送管にハイドラントバルブを再び取り付ける。現状では、作業員が人力でハイドラントバルブの着脱を行っている。
【0006】
ハイドラントバルブの重量は約30~50kgもあることに加えて、ハイドラントバルブは地中のハイドラントピットに配置されていることから、ハイドラントバルブの着脱は、作業員の肉体的負担が非常に大きい。
【先行技術文献】
【特許文献】
【0007】
特許第6622869号公報
【発明の概要】
【発明が解決しようとする課題】
【0008】
しかし、ハイドラントバルブそのものは、作業員が保持しにくい形状になっている。したがって、ハイドラントバルブの着脱において作業員の肉体的負担がより大きくなっている。以上の事情を考慮して、本発明は、ハイドラントバルブを保持しやすくすることを目的とする。
【課題を解決するための手段】
【0009】
[1]ハイドラントバルブを保持するための治具であって、前記ハイドラントバルブの外周面に沿った環状の支持部と、前記支持部の内周面から突出する突出部を含み、前記外周面に設けられたフランジ部に係合する係合部と、前記支持部に設けられ、作業員が把持するための第1把持部および第2把持部とを具備する。
【0010】
[2]前記第1把持部および前記第2把持部とは、前記支持部の中心軸に平行な方向に向かって突出する[1]の保持治具。
(【0011】以降は省略されています)
この特許をJ-PlatPat(特許庁公式サイト)で参照する
関連特許
個人
メジャー文具
5日前
日本精機株式会社
位置検出装置
11日前
日本精機株式会社
位置検出装置
11日前
日本精機株式会社
位置検出装置
11日前
ユニパルス株式会社
ロードセル
4日前
アズビル株式会社
圧力センサ
10日前
エイブリック株式会社
磁気センサ回路
10日前
株式会社ヨコオ
ソケット
3日前
株式会社ヨコオ
ソケット
4日前
ダイキン工業株式会社
監視装置
2日前
トヨタ自動車株式会社
監視装置
3日前
株式会社チノー
放射光測温装置
4日前
TDK株式会社
ガスセンサ
4日前
TDK株式会社
ガスセンサ
10日前
TDK株式会社
磁気センサ
3日前
TDK株式会社
ガスセンサ
9日前
株式会社東芝
重量測定装置
9日前
ダイハツ工業株式会社
移動支援装置
3日前
TDK株式会社
電磁波センサ
4日前
三菱マテリアル株式会社
温度センサ
5日前
富士電機株式会社
エンコーダ
10日前
日本特殊陶業株式会社
センサ
2日前
日本特殊陶業株式会社
センサ
2日前
中国電力株式会社
電柱管理システム
2日前
日本特殊陶業株式会社
センサ
2日前
三恵技研工業株式会社
融雪レドーム
3日前
株式会社熊谷組
RI計測装置
11日前
多摩川精機株式会社
冗長エンコーダ
3日前
日本特殊陶業株式会社
センサ
2日前
日本特殊陶業株式会社
センサ
2日前
株式会社精工技研
光電界センサヘッド
10日前
住友電気工業株式会社
分析方法
5日前
日鉄テックスエンジ株式会社
聴音装置
4日前
コイト電工株式会社
座席濡れ検知装置
2日前
アズビル株式会社
動粘度測定システム
11日前
ミツミ電機株式会社
超音波風速計
2日前
続きを見る
他の特許を見る