TOP
|
特許
|
意匠
|
商標
特許ウォッチ
Twitter
他の特許を見る
公開番号
2025143779
公報種別
公開特許公報(A)
公開日
2025-10-02
出願番号
2024043210
出願日
2024-03-19
発明の名称
光電界センサヘッド
出願人
株式会社精工技研
代理人
個人
主分類
G01R
29/08 20060101AFI20250925BHJP(測定;試験)
要約
【課題】電界強度に対する十分な測定範囲を備えた高電界を対象とする光電界センサヘッドを提供する。
【解決手段】電気光学効果を有する基板に形成された入力光導波路と2本の位相シフト光導波路とを備えた分岐干渉型光導波路と、電圧信号を誘起するアンテナ部と位相シフト光導波路に近接して設置された駆動電極部とからなる電極アンテナとを備え、電極アンテナの誘起する電圧信号に依存して入射光を強度変調して出力する光変調器を有し、第1の電極アンテナ群と第2の電極アンテナ群を有し、第1の電極アンテナ群の駆動電極部が誘起する電圧信号と第2の電極アンテナ群の駆動電極部が誘起する電圧信号は、互いに異なる位相シフト光導波路中に同じ向きの電界成分を発生させ、それぞれの駆動電極部により生ずる位相シフト光導波路中を伝搬する光波の位相シフト量の合計が互いに異なるように構成した。
【選択図】図1
特許請求の範囲
【請求項1】
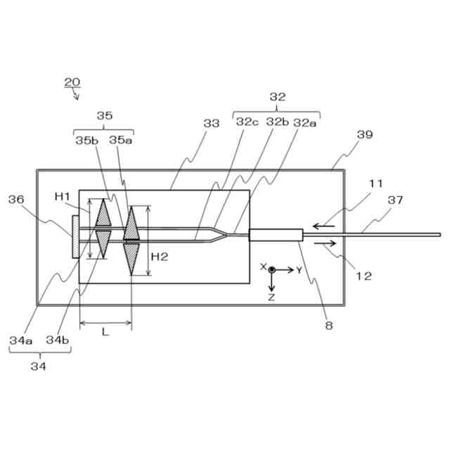
電気光学効果を有する材料からなる基板と、前記基板に形成され、光の入射側から延びる入力光導波路と前記入力光導波路から二股に分岐して延びる2本の位相シフト光導波路とを備えた分岐干渉型光導波路と、その場の電界により電圧信号を誘起するアンテナ部と前記位相シフト光導波路にほぼ平行に近接して設置された駆動電極部とからなる電極アンテナとを備え、前記電極アンテナに誘起された電圧信号に依存して入射光を強度変調して出力する光変調器と、
前記光変調器に接続された入力光ファイバ及び出力光ファイバと、を有する光電界センサヘッドであって、
前記光変調器は、少なくとも1つの前記電極アンテナからなる第1の電極アンテナ群と、少なくとも1つの前記電極アンテナからなる第2の電極アンテナ群とを有し、
前記第1の電極アンテナ群を構成する前記電極アンテナの前記駆動電極部が誘起する前記電圧信号と前記第2の電極アンテナ群を構成する前記電極アンテナの前記駆動電極部が誘起する前記電圧信号は、互いに異なる前記位相シフト光導波路中に同じ向きの電界成分を発生させ、
前記第1の電極アンテナ群と前記第2の電極アンテナ群のそれぞれの前記駆動電極部が発生させた前記電界成分により生ずる前記位相シフト光導波路中を伝搬する光波の位相シフト量の合計が互いに異なるように構成したことを特徴とする光電界センサヘッド。
続きを表示(約 1,600 文字)
【請求項2】
前記の第1及び第2の電極アンテナ群において、それぞれの前記駆動電極部の前記位相シフト光導波路に平行に近接する部分の長さの合計が互いに異なることにより前記位相シフト量の合計が互いに異なるように構成したことを特徴とする請求項1に記載の光電界センサヘッド。
【請求項3】
前記の第1及び第2の電極アンテナ群において、それぞれの前記アンテナ部の形状が互いに異なることにより前記位相シフト量の合計が互いに異なるように構成したことを特徴とする請求項1に記載の光電界センサヘッド。
【請求項4】
前記の第1及び第2の電極アンテナ群において、それぞれの前記駆動電極部が発生させた前記電界成分により生ずる前記位相シフト量の合計の比Rは、0.5≦R<1.0、又は、1.0<R≦2.0であることを特徴とする請求項1に記載の光電界センサヘッド。
【請求項5】
電気光学効果を有する材料からなる基板と、前記基板に形成され、光の入射側から延びる入力光導波路と前記入力光導波路から二股に分岐して延びる2本の位相シフト光導波路とを備えた分岐干渉型光導波路と、その場の電界により電圧信号を誘起するアンテナ部と前記位相シフト光導波路にほぼ平行に近接して設置された駆動電極部とからなる電極アンテナとを備え、前記電極アンテナに誘起された電圧信号に依存して入射光を強度変調して出力する光変調器と、
前記光変調器に接続された入力光ファイバ及び出力光ファイバと、を有する光電界センサヘッドであって、
前記光変調器は、少なくとも1つの前記電極アンテナからなる第1の電極アンテナ群と、少なくとも1つの前記電極アンテナからなる第2の電極アンテナ群とを有し、
前記第1の電極アンテナ群を構成する前記電極アンテナの前記駆動電極部が誘起する前記電圧信号と前記第2の電極アンテナ群を構成する前記電極アンテナの前記駆動電極部が誘起する前記電圧信号は、同じ1本の前記位相シフト光導波路中に互いに逆向きの電界成分を発生させ、
前記第1の電極アンテナ群と前記第2の電極アンテナ群のそれぞれの前記駆動電極部が発生させた前記電界成分により生ずる前記位相シフト光導波路中を伝搬する光波の位相シフト量の絶対値の合計が互いに異なるように構成したことを特徴とする光電界センサヘッド。
【請求項6】
前記の第1及び第2の電極アンテナ群において、それぞれの前記駆動電極部の前記位相シフト光導波路に平行に近接する部分の長さの合計が互いに異なることにより前記位相シフト量の絶対値の合計が互いに異なるように構成したことを特徴とする請求項5に記載の光電界センサヘッド。
【請求項7】
前記の第1及び第2の電極アンテナ群において、それぞれの前記アンテナ部の形状が互いに異なることにより前記位相シフト量の絶対値の合計が互いに異なるように構成したことを特徴とする請求項5に記載の光電界センサヘッド。
【請求項8】
前記の第1及び第2の電極アンテナ群において、それぞれの前記駆動電極部が発生させた前記電界成分により生ずる前記位相シフト量の絶対値の合計の比rは、0.5≦r<1.0、又は、1.0<r≦2.0であることを特徴とする請求項5に記載の光電界センサヘッド。
【請求項9】
前記基板は、ニオブ酸リチウム結晶基板であることを特徴とする請求項1乃至8のいずれか1項に記載の光電界センサヘッド。
【請求項10】
前記光変調器は、前記入射光を内部で反射して折り返す反射型光変調器であって、前記入力光ファイバと前記出力光ファイバは1本の入出力光ファイバで構成されていることを特徴とする請求項9に記載の光電界センサヘッド。
(【請求項11】以降は省略されています)
発明の詳細な説明
【技術分野】
【0001】
本発明は、その場の電磁波などの電界を検出するため、光変調器を用いてその場の電磁波を光信号に変換して出力する光電界センサヘッドに関する。
続きを表示(約 3,200 文字)
【背景技術】
【0002】
EMC分野における電磁波ノイズの検出やイミュニティ試験等における電磁波強度の測定、放送用又は通信用の送信アンテナから放出される電磁波の監視等において、電磁波の電界強度や位相を任意の場所で正確に測定することが必要とされる。従来、このような目的で、光ファイバにより入力された入力光の強度をその場の電界強度に応じて変調して光ファイバにより出力する光電界センサヘッドと、その出力光を電気信号に変換するO/E変換器とを用い、そのO/E変換された電気信号により、その場の電界を測定する光電界センサが使用されている。主として誘電体材料で構成され、電磁波周波数での応答が可能な広帯域特性を有する光電界センサヘッドを測定箇所に設置し、それと光源およびO/E変換器などの測定機器との間を光ファイバで接続することにより、測定する電磁波や電磁ノイズ、落雷などによる誘導の影響を受けないで、電磁波の強度や位相特性を正確に測定することができるという特徴がある。
【0003】
通常、光電界センサヘッドは、電気光学効果を有する材料から作られた基板、例えばニオブ酸リチウム結晶基板上に、光導波路とその光導波路近傍に変調電極を設置することにより構成した光変調器と、変調電極に接続されたアンテナとを備え、電磁波等の電界によりアンテナに誘起された電圧を変調電極に印加して光変調器を通過する光波の強度を変調することを動作原理としている。この場合、アンテナは基板上に変調電極と一体として形成されるか、又は基板の外部に設置される。特に、アンテナを基板上に一体化した光電界センサヘッドは、小型で取り扱いが容易であり、EMC分野での測定以外にも、電気装置近傍や内部での電磁波ノイズの計測、送信アンテナから放出される電波の監視等、様々な用途に使用されている。
【0004】
このような光電界センサヘッドの従来例としては、3軸方向の電界検出を可能にした光電界センサヘッドが特許文献1に、電磁波の伝播方向を分離した測定を可能とした光電界センサヘッドが特許文献2に、それぞれ記載されている。また、光電界センサを用いた電磁波の測定システムの例が特許文献3に記載されている。
【先行技術文献】
【特許文献】
【0005】
特開2004-212137号公報
特開2021-196203号公報
特開2018-59864号公報
【発明の概要】
【発明が解決しようとする課題】
【0006】
従来、アンテナ一体型の光電界センサヘッドは、主として、広帯域で高感度特性の得やすさや作製の容易さ等を考慮して、ニオブ酸リチウム結晶基板上に分岐干渉型光変調器を形成し、その変調電極と一体化した電極アンテナを設けて構成されている。分岐干渉型光変調器を光電界センサの光変調器として使用する場合、印加電界に対する直線性が得られる範囲を大きくするためには、印加電圧が0の場合の動作点は、干渉により光出力が最小、最大となる印加電圧の中間点に近いほど望ましい。通常は、アンテナ電極に導電体を接触させて電源により可変電圧を印加し、光出力の印加電圧特性を求めて、上記の動作点を求めている。
【0007】
また、分岐干渉型光変調器による光電界センサでは、その感度は、電極アンテナの位相シフト光導波路にほぼ平行に近接して設置された部分、すなわち駆動電極部の長さに比例するので、測定する電界強度に応じて駆動電極部の長さを設定していた。そこで、従来、測定対象の電界強度が大きくなれば、それに応じて駆動電極部の長さを短くする必要があった。一方、上記のように、光電界センサヘッドの動作点を求めるためには、光出力が最小から最大となる電圧、すなわち、半波長電圧の少なくとも1.5倍程度の電圧を印加する必要がある。半波長電圧は駆動電極部の長さに反比例するため、駆動電極部の長さが短い高電界を対象とする光電界センサヘッドでは、印加電圧が大きすぎて駆動電極部の破壊を生じ、動作点が判別できないことがあった。このため、従来は、電界強度に対する十分な測定範囲を備えた高電界を対象とする光電界センサヘッドが得られないという問題があった。
【0008】
本発明の目的は、上記の課題を解決し、電界強度に対する十分な測定範囲を備えた高電界を対象とする光電界センサヘッドを提供することにある。
【課題を解決するための手段】
【0009】
上記課題を解決するため、第1の観点では、本発明による光電界センサヘッドは、電気光学効果を有する材料からなる基板と、前記基板に形成され、光の入射側から延びる入力光導波路と、前記入力光導波路から二股に分岐して延びる2本の位相シフト光導波路とを備えた分岐干渉型光導波路と、その場の電界により電圧信号を誘起するアンテナ部と前記位相シフト光導波路にほぼ平行に近接して設置された駆動電極部とからなる電極アンテナとを備え、前記電極アンテナに誘起された電圧信号に依存して入射光を強度変調して出力する光変調器と、前記光変調器に接続された入力光ファイバ及び出力光ファイバと、を有する光電界センサヘッドであって、前記光変調器は、少なくとも1つの前記電極アンテナからなる第1の電極アンテナ群と、少なくとも1つの前記電極アンテナからなる第2の電極アンテナ群とを有し、前記第1の電極アンテナ群を構成する前記電極アンテナの前記駆動電極部が誘起する前記電圧信号と前記第2の電極アンテナ群を構成する前記電極アンテナの前記駆動電極部が誘起する前記電圧信号は、互いに異なる前記位相シフト光導波路中に同じ向きの電界成分を発生させ、前記第1の電極アンテナ群と前記第2の電極アンテナ群のそれぞれの前記駆動電極部が発生させた前記電界成分により生ずる前記位相シフト光導波路中を伝搬する光波の位相シフト量の合計が互いに異なるように構成したことを特徴とする。
【0010】
本観点の発明は、従来のように、分岐干渉型光変調器を形成し、その変調電極と一体化した電極アンテナを設けて構成されている。しかし、従来のように1つの電極アンテナにより誘起された電圧信号だけで電界を検出するのではなく、2つ以上の電極アンテナを設け、少なくとも2つの電極アンテナに誘起された電圧信号が互いに異なる前記位相シフト光導波路中に同じ向きの電界成分を発生させるように構成する。これにより、位相シフト光導波路中を伝搬する光波に同じ方向の位相シフトを発生させて合流させることにより、それらの位相シフトは互いに打ち消し合い、位相シフト量の差分だけ光強度変調に寄与することになる。すなわち、第1の電極アンテナ群と、第2の電極アンテナ群とを備え、第1の電極アンテナ群を構成する電極アンテナの駆動電極部が誘起する電圧信号と第2の電極アンテナ群を構成する電極アンテナの駆動電極部が誘起する電圧信号は、互いに異なる位相シフト光導波路中に同じ向きの電界成分を発生させ、第1及び第2の電極アンテナ群のそれぞれの電界成分により生ずる光波の位相シフト量の合計が互いに異なるように構成することにより、2本の位相シフト光導波路が合流して干渉するときにその差分により光強度変調を生ずることになる。
なお、本発明において、駆動電極部は、位相シフト光導波路の屈折率を変化させるための電界を誘起できればよく、その両端の位相シフト光導波路に対する相対的位置のずれが光導波路幅程度以内となるようにほぼ平行に近接していればよい。
(【0011】以降は省略されています)
この特許をJ-PlatPat(特許庁公式サイト)で参照する
関連特許
株式会社精工技研
光電圧プローブ
1か月前
株式会社精工技研
光電界センサヘッド
4日前
株式会社精工技研
光ファイバ研磨用治具および光ファイバ研磨装置
2か月前
株式会社精工技研
インモールドコート注入装置およびそれを用いたインモールドコート注入方法
2か月前
日本精機株式会社
位置検出装置
5日前
日本精機株式会社
位置検出装置
5日前
日本精機株式会社
位置検出装置
5日前
大和製衡株式会社
組合せ秤
10日前
大和製衡株式会社
組合せ秤
10日前
アズビル株式会社
圧力センサ
4日前
トヨタ自動車株式会社
検査装置
7日前
エイブリック株式会社
磁気センサ回路
4日前
株式会社東芝
センサ
10日前
株式会社東芝
センサ
10日前
株式会社ユーシン
操作検出装置
7日前
TDK株式会社
ガスセンサ
3日前
株式会社東芝
重量測定装置
3日前
東レエンジニアリング株式会社
計量装置
7日前
TDK株式会社
ガスセンサ
4日前
株式会社ナリス化粧品
角層細胞採取用具
17日前
株式会社熊谷組
RI計測装置
5日前
TDK株式会社
磁気計測装置
18日前
富士電機株式会社
エンコーダ
4日前
中国電力株式会社
異常箇所検出装置
18日前
三菱マテリアル株式会社
温度センサ
17日前
三菱マテリアル株式会社
温度センサ
17日前
成田空港給油施設株式会社
保持治具
18日前
株式会社豊田自動織機
制御装置
10日前
株式会社精工技研
光電界センサヘッド
4日前
アンリツ株式会社
物品検査装置
7日前
アンリツ株式会社
物品検査装置
10日前
戸田建設株式会社
測量機
18日前
アズビル株式会社
動粘度測定システム
5日前
株式会社アイシン
回転角検出装置
4日前
TDK株式会社
温度センサ
18日前
オンキヨー株式会社
検出装置、及び、判定装置
6日前
続きを見る
他の特許を見る