TOP
|
特許
|
意匠
|
商標
特許ウォッチ
Twitter
他の特許を見る
10個以上の画像は省略されています。
公開番号
2025139107
公報種別
公開特許公報(A)
公開日
2025-09-26
出願番号
2024037871
出願日
2024-03-12
発明の名称
組合せ秤
出願人
大和製衡株式会社
代理人
個人
主分類
G01G
19/387 20060101AFI20250918BHJP(測定;試験)
要約
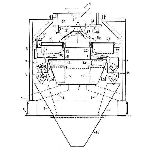
【課題】 分散フィーダに供給された被計量物を、分散フィーダの周囲に放射状に配備した直進フィーダ群へ分散搬送し、各直進フィーダで搬送した被計量物を、供給ホッパを経て計量ホッパへ送り込むよう構成した組合せ秤において、塊になりやすい被計量物を均一に供給ホッパ群へ送り込むことができるようにする。
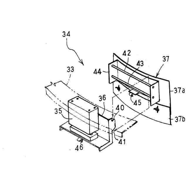
【解決手段】 分散フィーダ5の外周部近傍に、開閉可能な複数台のシャッタ機構34を周方向に並列配備するとともに、直進フィーダ6における被計量物の嵩を検知する嵩検知センサ51を備え、嵩検知センサ51によって直進フィーダ6における被計量物の嵩が設定値より大きいことが検知されると、当該直進フィーダ6に対応するシャッタ機構34を閉じ制御するよう構成してある。
【選択図】 図2
特許請求の範囲
【請求項1】
分散フィーダに供給された被計量物を、分散フィーダの周囲に放射状に配備した直進フィーダ群へ分散搬送し、各直進フィーダで搬送した被計量物を、供給ホッパを経て計量ホッパへ送り込むよう構成した組合せ秤において、
前記分散フィーダの外周部近傍に、開閉可能な複数台のシャッタ機構を周方向に並列配備するとともに、
前記直進フィーダにおける被計量物の嵩を検知する嵩検知センサを備え、
前記嵩検知センサによって直進フィーダにおける被計量物の嵩が設定値より大きいことが検知されると、当該直進フィーダに対応する前記シャッタ機構を閉じ制御するよう構成してある、
ことを特徴とする組合せ秤。
続きを表示(約 530 文字)
【請求項2】
隣接する2台の直進フィーダに対して1台の前記シャッタ機構を配備してある、
請求項1に記載の組合せ秤。
【請求項3】
隣接する2台の直進フィーダの一方に対応して、前記嵩検知センサを配備してある、
請求項2に記載の組合せ秤。
【請求項4】
全ての直進フィーダのそれぞれに対して前記シャッタ機構、及び、前記嵩検知センサを対応配備してある、
請求項1に記載の組合せ秤。
【請求項5】
前記シャッタ機構を、シャッタ開閉駆動機構と、これに対して係合脱着可能に装着したシャッタ本体とで構成してある、
請求項1に記載の組合せ秤。
【請求項6】
前記シャッタ本体を、シャッタ開閉駆動機構に脱着可能に連結されるシャッタ基体と、 これに高さ調節、かつ、脱着可能に支持したシャッタ作用部とで構成してある、
請求項5に記載の組合せ秤。
【請求項7】
前記シャッタ機構の閉じ状態が所定複数以上の個所で発生すると、前記分散フィーダへの被計量物の供給を一時停止するよう構成してある、
請求項1ないし5のいずれか1項に記載の組合せ秤。
発明の詳細な説明
【技術分野】
【0001】
本発明は、食品や菓子などの被計量物を所定重量ずつ計量して排出する組合せ秤に関する。
続きを表示(約 1,500 文字)
【背景技術】
【0002】
組合せ秤としては、例えば、特許文献1に示されているように、装置中心部に投下供給された被計量物である物品を分散フィーダによって放射状に分散搬送して、分散フィーダを囲んで配備された多数台の直進フィーダへ供給し、各直進フィーダで搬送した被計量物を、供給ホッパを介して計量ホッパに少量ずつ送り込み、計量ホッパ群の計量値のうち、所定重量となる組み合わせを演算選択し、選択された複数の計量ホッパを開放制御することで、所定重量の被計量物を排出するよう構成したものが多用されている。
【0003】
係る組合せ秤においては、直進フィーダでの被計量物の搬送量が過大になると、組合せ計量の精度が低下する。そこで、このような不具合を抑制するために、上記特許文献1で示された組合せ秤では、各直進フィーダにおける被計量物の搬送層厚さを制限する層厚調整装置を装備し、各直進フィーダでの搬送量の均一化を図ろうとしている。
【先行技術文献】
【特許文献】
【0004】
特開平11-326023号公報
【発明の概要】
【発明が解決しようとする課題】
【0005】
上記層厚調整装置は、層厚規制板の下端を潜り抜ける被計量物の高さを制限することで、被計量物の搬送層厚さを規制するものであるので、被計量物が崩れやすい物品の場合には有効に機能するが、被計量物が茹でた麺やパスタなどの物品のように、互いに絡まったり、あるいは、くっついたりして、塊になりやすい物品の場合、被計量物が層厚規制板の下を円滑に通過できず、堰き止められて塊になりやすいものであった。
【0006】
本発明は、このような点に着目してなされたものであって、互いに絡まったり、あるいは、くっついたりして、塊になりやすい被計量物を、直進フィーダ群で均一に搬送して、精度の高い組合せ計量を行うことができる組合せ秤を提供することを目的としている。
【課題を解決するための手段】
【0007】
上記目的を達成するために、本発明では次のように構成している。
【0008】
(1)本発明に係る組合せ秤は、分散フィーダに供給された被計量物を、分散フィーダの周囲に放射状に配備した直進フィーダ群へ分散搬送し、各直進フィーダで搬送した被計量物を、供給ホッパを経て計量ホッパへ送り込むよう構成した組合せ秤において、
前記分散フィーダの外周部近傍に、開閉可能な複数台のシャッタ機構を周方向に並列配備するとともに、
前記直進フィーダにおける被計量物の嵩を検知する嵩検知センサを備え、
前記嵩検知センサによって直進フィーダにおける被計量物の嵩が設定値より大きいことが検知されると、当該直進フィーダに対応する前記シャッタ機構を閉じ制御するよう構成してある。
【0009】
この構成によると、通常は、全てのシャッタ機構は開放状態にあり、分散フィーダ上の被計量物は外方に向けて自由に移動することができるが、嵩検知センサによって、或る直進フィーダにおける被計量物の嵩が設定値よりも大きくなると、この直進フィーダに対応するシャッタ機構が閉じられ、直進フィーダへの被計量物の供給が制限される。
【0010】
このように、被計量物の嵩が高い直進フィーダにおいて、後続の被計量物供給を一時制限することで、多量の被計量物が連続して直進フィーダに供給されて、大きい塊になることが抑制され、組合せ計量に不適な過量の被計量物が供給ホッパに送り込まれることが防止される。
(【0011】以降は省略されています)
この特許をJ-PlatPat(特許庁公式サイト)で参照する
関連特許
大和製衡株式会社
組合せ秤
2か月前
大和製衡株式会社
組合せ秤
2か月前
大和製衡株式会社
物品供給装置
1か月前
大和製衡株式会社
組合せ計量装置
1か月前
大和製衡株式会社
組合せ計量装置
1か月前
大和製衡株式会社
組合せ計量装置
3か月前
大和製衡株式会社
箱詰め装置及び箱詰め方法
2か月前
大和製衡株式会社
層厚調整装置及び組合せ秤
2か月前
大和製衡株式会社
計量包装システム及びこれに用いる組合せ秤
2日前
日本精機株式会社
検出装置
23日前
個人
採尿及び採便具
29日前
個人
高精度同時多点測定装置
1か月前
個人
計量機能付き容器
18日前
個人
アクセサリー型テスター
1か月前
甲神電機株式会社
電流検出装置
23日前
日本精機株式会社
発光表示装置
1日前
株式会社ミツトヨ
測定器
1か月前
株式会社カクマル
境界杭
8日前
株式会社トプコン
測量装置
今日
アズビル株式会社
電磁流量計
1か月前
大成建設株式会社
風洞実験装置
18日前
ダイキン工業株式会社
監視装置
1か月前
愛知電機株式会社
軸部材の外観検査装置
1か月前
日本特殊陶業株式会社
ガスセンサ
今日
大和製衡株式会社
組合せ計量装置
1か月前
大和製衡株式会社
組合せ計量装置
1か月前
日本特殊陶業株式会社
ガスセンサ
16日前
ローム株式会社
半導体装置
1か月前
長崎県
形状計測方法
1か月前
個人
計量具及び計量機能付き容器
18日前
愛知時計電機株式会社
ガスメータ
1か月前
日本信号株式会社
距離画像センサ
21日前
双庸電子株式会社
誤配線検査装置
24日前
個人
非接触による電磁パルスの測定方法
21日前
ローム株式会社
半導体装置
1か月前
個人
システム、装置及び実験方法
1か月前
続きを見る
他の特許を見る