TOP
|
特許
|
意匠
|
商標
特許ウォッチ
Twitter
他の特許を見る
10個以上の画像は省略されています。
公開番号
2025172480
公報種別
公開特許公報(A)
公開日
2025-11-26
出願番号
2024078009
出願日
2024-05-13
発明の名称
計量包装システム及びこれに用いる組合せ秤
出願人
大和製衡株式会社
代理人
個人
主分類
G01G
19/387 20060101AFI20251118BHJP(測定;試験)
要約
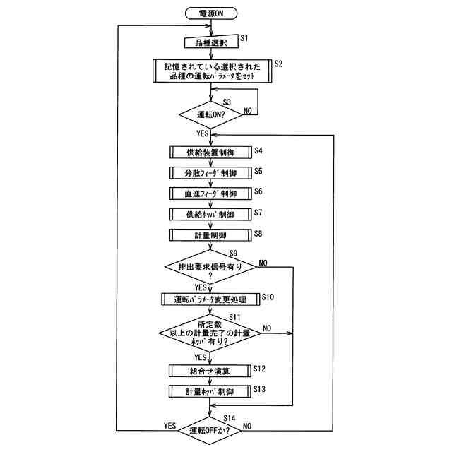
【課題】自動で組合せ秤と包装機の連係を最適な状態にする。
【解決手段】組合せ秤において、運転速度設定を行わず、包装機から発信される物品排出要求信号の周期によって、計量ホッパにおける物品の計量の安定時間を自動で最適なものに変更する。
【選択図】 図3
特許請求の範囲
【請求項1】
物品の重量を組合わせて計量して排出する組合せ秤と、
前記組合せ秤から排出される物品を包装する包装機と、
を含み、
前記包装機は、前記組合せ秤から排出される物品を包装する準備が完了し当該組合せ秤に物品の排出を要求することを示す物品排出要求信号を前記組合せ秤に出力し、
前記組合せ秤は、物品を一時貯留し、貯留してある前記物品の重量を計量する複数の計量ホッパを有し、
前記組合せ秤は、前記包装機からの前記物品排出要求信号の入力に応答して、前記複数の計量ホッパに貯留する物品の重量を組合せ演算し、前記複数の計量ホッパのうち、所定重量範囲内の組合わせである前記計量ホッパを選択するとともに、選択した前記計量ホッパから前記物品を前記包装機に排出することを示す物品排出信号を前記包装機に出力して前記物品を排出する計量包装システムであって、
前記組合せ秤の運転速度の設定を行うことなく前記包装機からの前記物品排出要求信号の入力周期で、前記組合せ秤の前記計量ホッパでの物品の投入後の計量安定時間を自動で決定して更新する、ことを特徴とする計量包装システム。
続きを表示(約 400 文字)
【請求項2】
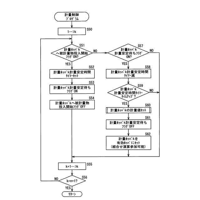
前記計量安定時間において、計量精度が維持できる最低計量安定時間を設定し、前記入力周期の入力周期×1で求められた計量安定時間が、前記最低計量安定時間より小さい場合は、前記入力周期の入力周期×2で計量安定時間を求めることを特徴とする請求項1記載の計量包装システム。
【請求項3】
所定数以上の計量安定時間が経過した計量ホッパがない場合、組合せ演算を行わないことを特徴とする請求項1または2に記載の計量包装システム。
【請求項4】
前記物品排出要求信号の検出回数N回分の時間間隔時間の平均値をサイクル時間とし、前記サイクル時間から前記計量ホッパのゲート開時間を減算した値を前記計量安定時間とする、請求項1ないし3いずれか一項に記載の計量包装システム。
【請求項5】
請求項1ないし4のいずれかに記載の計量包装システムに使用する組合せ秤。
発明の詳細な説明
【技術分野】
【0001】
本発明は、物品を計量して包装する計量包装システム及びこれに用いる組合せ秤に関する。
続きを表示(約 1,200 文字)
【背景技術】
【0002】
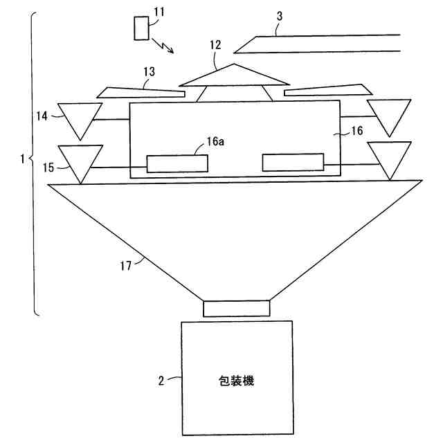
一般的な組合せ秤では、その中心上方から供給された物品を放射状に分散搬送する分散フィーダを有し、当該分散フィーダの周囲に、当該分散フィーダにより分散搬送された物品を更に外方に向けて搬送するよう複数の直進フィーダを配備し、各直進フィーダに対応して配備された複数の計量ユニットに物品を供給するように構成されている。
【0003】
計量ユニットは、直進フィーダから供給される物品を一時貯留して排出する複数の供給ホッパと、各供給ホッパから排出された物品を貯留して、その重量を計量する複数の計量ホッパとを備えている。
【0004】
組合せ秤は、各計量ホッパの物品の重量を組合せた合計重量である組合せ重量が目標組合せ重量に基づく所定重量範囲内となる計量ホッパの組合せを、物品を排出すべき計量ホッパの組合せである適量組合せとして選択する組合せ演算を行う。
【0005】
この組合せ演算によって選択された適量組合せの計量ホッパから物品をそれぞれ排出し、排出された所定重量範囲の物品を集合ホッパに一時貯留し、包装装置からの物品排出要求信号によって包装装置へ排出するように構成されている。
【0006】
このような計量包装システムにおいては、組合せ秤と包装機との連係動作を可能にするため、例えば、包装機をマスター側の装置とし、組合せ秤をスレーブ側の装置として、包装機の動作速度を組合せ秤より遅い動作速度に設定し、包装機において物品包装準備ができると、包装機は、組合せ秤に対して物品の排出を要求することを示す物品排出要求信号を出力する。
【0007】
組合せ秤においては、包装機から物品排出要求信号が入力される前に、物品が投入されて計量安定時間が経過した計量ホッパが、組合せ精度が維持できる計量ホッパ所定数以上準備できており、包装機から物品排出要求信号が入力されると組合せ演算をおこなって、所定重量範囲の計量ホッパの組合せを捜して、該計量ホッパから物品を包装機に排出すると共に、包装機に、物品を排出したことを示す物品排出信号を出力するようにしている。
【0008】
このような計量包装システムでは、計量機と包装機それぞれの制御部において、授受される物品排出信号と物品排出要求信号とを認識するタイミングには揺らぎが生じる。
【0009】
これら信号の認識タイミングに揺らぎが生じると、計量機と包装機両者の動作速度を同じに設定して動作させることが困難となる。
【0010】
そのため、例えば、特許文献1では、実質的な速度の大幅な低下を招くことなく、組合せ秤と包装機双方の動作速度を同じに設定して動作させることができる制御方法を提案している。
【先行技術文献】
【特許文献】
(【0011】以降は省略されています)
この特許をJ-PlatPat(特許庁公式サイト)で参照する
関連特許
大和製衡株式会社
組合せ秤
2か月前
大和製衡株式会社
組合せ秤
2か月前
大和製衡株式会社
物品供給装置
1か月前
大和製衡株式会社
組合せ計量装置
1か月前
大和製衡株式会社
組合せ計量装置
1か月前
大和製衡株式会社
箱詰め装置及び箱詰め方法
2か月前
大和製衡株式会社
層厚調整装置及び組合せ秤
2か月前
大和製衡株式会社
計量包装システム及びこれに用いる組合せ秤
2日前
日本精機株式会社
検出装置
23日前
個人
採尿及び採便具
29日前
個人
計量機能付き容器
18日前
個人
高精度同時多点測定装置
1か月前
個人
アクセサリー型テスター
1か月前
株式会社カクマル
境界杭
8日前
日本精機株式会社
発光表示装置
1日前
甲神電機株式会社
電流検出装置
23日前
株式会社ミツトヨ
測定器
1か月前
株式会社トプコン
測量装置
今日
アズビル株式会社
電磁流量計
1か月前
大成建設株式会社
風洞実験装置
18日前
ダイキン工業株式会社
監視装置
1か月前
トヨタ自動車株式会社
監視装置
1か月前
日本信号株式会社
距離画像センサ
21日前
大和製衡株式会社
組合せ計量装置
1か月前
双庸電子株式会社
誤配線検査装置
24日前
日本特殊陶業株式会社
ガスセンサ
16日前
日本特殊陶業株式会社
ガスセンサ
今日
長崎県
形状計測方法
1か月前
TDK株式会社
磁気センサ
1か月前
愛知電機株式会社
軸部材の外観検査装置
1か月前
大和製衡株式会社
組合せ計量装置
1か月前
個人
システム、装置及び実験方法
1か月前
個人
計量具及び計量機能付き容器
18日前
個人
非接触による電磁パルスの測定方法
21日前
ローム株式会社
半導体装置
1か月前
愛知時計電機株式会社
ガスメータ
1か月前
続きを見る
他の特許を見る