TOP
|
特許
|
意匠
|
商標
特許ウォッチ
Twitter
他の特許を見る
10個以上の画像は省略されています。
公開番号
2025139108
公報種別
公開特許公報(A)
公開日
2025-09-26
出願番号
2024037872
出願日
2024-03-12
発明の名称
組合せ秤
出願人
大和製衡株式会社
代理人
個人
主分類
G01G
19/387 20060101AFI20250918BHJP(測定;試験)
要約
【課題】 分散フィーダに供給された被計量物を、分散フィーダの周囲に放射状に配備した直進フィーダ群へ分散搬送し、各直進フィーダで搬送した被計量物を、供給ホッパを経て計量ホッパへ送り込むよう構成した組合せ秤において、塊になりやすい被計量物を均一に供給ホッパ群へ送り込むことができるようにする。
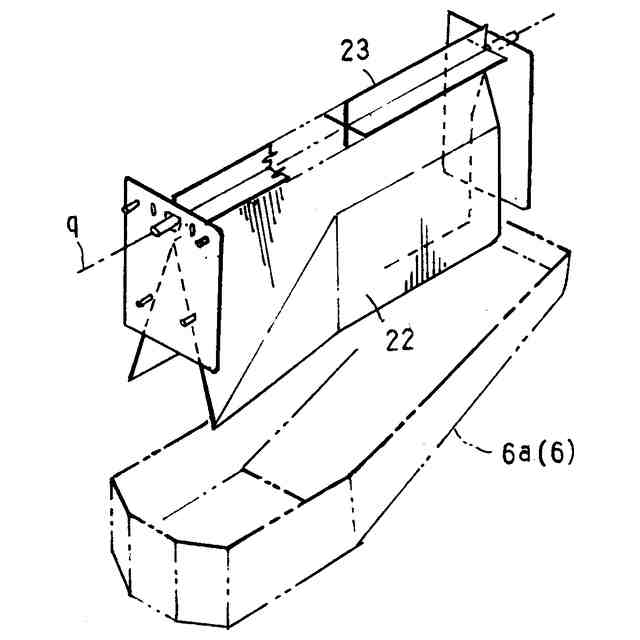
【解決手段】 隣接する直進フィーダ6の境界部位の上方に、境界部位の長手方向に沿う軸心q周りに回転駆動される細長い羽根軸状のほぐし部材23を配備してある。
【選択図】 図2
特許請求の範囲
【請求項1】
分散フィーダに供給された被計量物を、分散フィーダの周囲に放射状に配備した直進フィーダ群へ分散搬送し、各直進フィーダで搬送した被計量物を、供給ホッパを経て計量ホッパへ送り込むよう構成した組合せ秤において、
隣接する直進フィーダの境界部位の上方に、境界部位の長手方向に沿う軸心周りに回転駆動される細長い羽根軸状のほぐし部材を配備してある、
ことを特徴とする組合せ秤。
続きを表示(約 420 文字)
【請求項2】
前記ほぐし部材と前記直進フィーダとの間に、断面形状が下拡がりの流下ガイド板を配備してある、
請求項1に記載の組合せ秤。
【請求項3】
前記ほぐし部材と前記流下ガイド板とをユニット状に組上げてある、
請求項2に記載の組合せ秤。
【請求項4】
前記分散フィーダ、及び、前記直進フィーダが装備されたセンター基体に、前記ほぐし部材の内方端に連動連結されたモータを内装配備してある、
請求項2または3に記載の組合せ秤。
【請求項5】
前記ほぐし部材の全てを単一の前記モータに連動連結してある、
請求項4に記載の組合せ秤。
【請求項6】
前記分散フィーダのトップコーンを、中心の縦軸心周りに旋回駆動するよう構成するとともに、単一の前記モータで前記トップコーンと前記ほぐし部材を駆動するよう構成してある、
請求項5に記載の組合せ秤。
発明の詳細な説明
【技術分野】
【0001】
本発明は、食品や菓子などの被計量物を所定重量ずつ計量して排出する組合せ秤に関する。
続きを表示(約 1,300 文字)
【背景技術】
【0002】
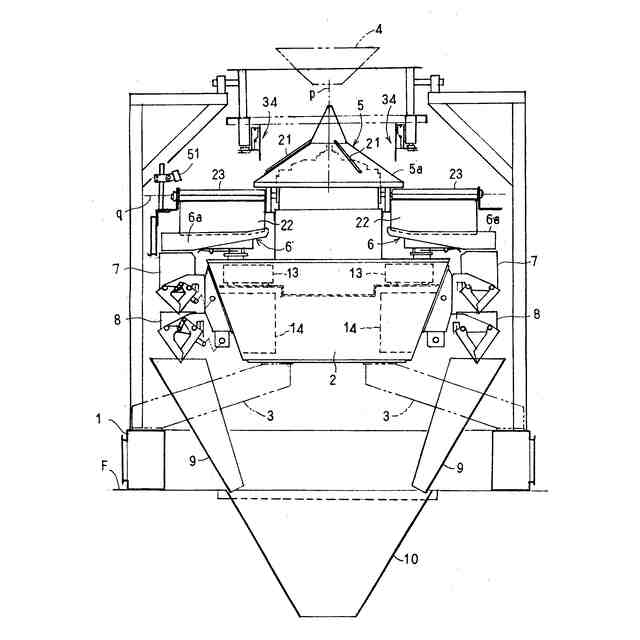
組合せ秤としては、例えば、特許文献1に示されているように、装置中心部に投下供給された被計量物を分散フィーダによって放射状に分散搬送して、分散フィーダを囲んで配備された多数台の直進フィーダへ供給し、各直進フィーダで搬送した被計量物の重量を計測し、計量値群のうち、所定重量となる組み合わせを演算選択し、選択された複数の計量値の被計量物を排出するよう構成したものが知られている。
【0003】
この組合せ秤においては、隣接する直進フィーダの境界部の上に正逆転駆動されるローラを配備して、分散フィーダから送り出された被計量物が隣接する直進フィーダに跨って滞留することを防止するようにしている。
【先行技術文献】
【特許文献】
【0004】
実開平5-36324号公報
【発明の概要】
【発明が解決しようとする課題】
【0005】
上記特許文献1の組合せ秤のように、隣接する直進フィーダの境界部の上に正逆転駆動されるローラを配備した構造は、長くて柔らかい被計量物(例えば、紐状のゼリー菓子やブロイラーなど)には好適に機能するが、互いに絡まったり、あるいは、くっついたりして塊になりやすい被計量物(例えば、茹でた麺やパスタなど)では、大きい塊になった被計量物がそのまま直進フィーダに送り込まれてしまい、精度の高い組合せ計量が困難になるものであった。
【0006】
本発明は、このような点に着目してなされたものであって、互いに絡まったり、あるいは、くっついたりして、塊になりやすい被計量物を、直進フィーダ群に均一に送り込んで、精度の高い組合せ計量を行うことができる組合せ秤を提供することを目的としている。
【課題を解決するための手段】
【0007】
上記目的を達成するために、本発明では次のように構成している。
【0008】
(1)本発明に係る組合せ秤は、
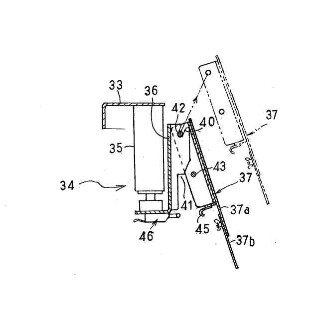
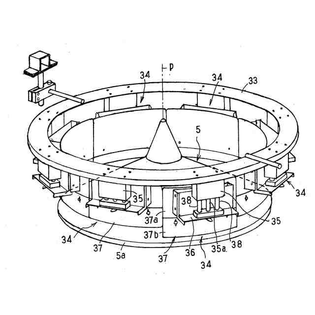
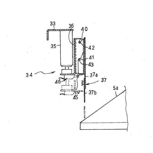
分散フィーダに供給された被計量物を、分散フィーダの周囲に放射状に配備した直進フィーダ群へ分散搬送し、各直進フィーダで搬送した被計量物を、供給ホッパを経て計量ホッパへ送り込むよう構成した組合せ秤において、隣接する直進フィーダの境界部位の上方に、境界部位の長手方向に沿う軸心周りに回転駆動される細長い羽根軸状のほぐし部材を配備してある。
【0009】
この構成によると、絡み付きやすい、あるいは、くっつきやすい被計量物が、分散フィーダから隣接する直進フィーダの境界部位に大きい塊となって送り出されてきても、回転するほぐし部材によってほぐされ、直進フィーダに分散して送り出されることになり、組合せ計量に不適な大きい塊のまま直進フィーダで搬送されて供給ホッパに送り込まれることが防止される。
【0010】
(2)本発明の他の実施態様においては、
前記ほぐし部材と前記直進フィーダとの間に、断面形状が下拡がりの流下ガイドを配備してある。
(【0011】以降は省略されています)
特許ウォッチbot のツイートを見る
この特許をJ-PlatPat(特許庁公式サイト)で参照する
関連特許
大和製衡株式会社
物品供給装置
23日前
大和製衡株式会社
組合せ計量装置
23日前
大和製衡株式会社
組合せ計量装置
23日前
大和製衡株式会社
箱詰め装置及び箱詰め方法
1か月前
個人
採尿及び採便具
20日前
日本精機株式会社
検出装置
14日前
個人
計量機能付き容器
9日前
個人
アクセサリー型テスター
1か月前
個人
高精度同時多点測定装置
1か月前
甲神電機株式会社
電流検出装置
14日前
株式会社ミツトヨ
測定器
26日前
アズビル株式会社
電磁流量計
29日前
ダイキン工業株式会社
監視装置
1か月前
トヨタ自動車株式会社
監視装置
1か月前
大成建設株式会社
風洞実験装置
9日前
株式会社ヨコオ
ソケット
1か月前
株式会社ヨコオ
ソケット
1か月前
ローム株式会社
半導体装置
1か月前
愛知時計電機株式会社
ガスメータ
26日前
日本信号株式会社
距離画像センサ
12日前
日本特殊陶業株式会社
ガスセンサ
7日前
ローム株式会社
半導体装置
1か月前
TDK株式会社
磁気センサ
1か月前
個人
計量具及び計量機能付き容器
9日前
愛知電機株式会社
軸部材の外観検査装置
23日前
長崎県
形状計測方法
1か月前
双庸電子株式会社
誤配線検査装置
15日前
個人
非接触による電磁パルスの測定方法
12日前
大和製衡株式会社
組合せ計量装置
23日前
大和製衡株式会社
組合せ計量装置
23日前
TDK株式会社
ガスセンサ
1か月前
個人
システム、装置及び実験方法
29日前
TDK株式会社
電磁波センサ
1か月前
日東精工株式会社
振動波形検査装置
15日前
日本特殊陶業株式会社
センサ
1か月前
日本特殊陶業株式会社
センサ
1か月前
続きを見る
他の特許を見る