TOP
|
特許
|
意匠
|
商標
特許ウォッチ
Twitter
他の特許を見る
10個以上の画像は省略されています。
公開番号
2025162346
公報種別
公開特許公報(A)
公開日
2025-10-27
出願番号
2024065587
出願日
2024-04-15
発明の名称
物品供給装置
出願人
大和製衡株式会社
代理人
個人
主分類
B65G
23/24 20060101AFI20251020BHJP(運搬;包装;貯蔵;薄板状または線条材料の取扱い)
要約
【課題】 ベルトコンベヤの入力側に入力軸を水平支承し、前記入力軸の外端部に取付けた入力ギヤと、駆動ケースの横外側に軸支した出力ギヤとをギヤ咬合連動させるよう構成した物品供給装置において、ギヤ駆動部位の小型化を図ることで、隣接するコンベヤ間隔を小さくし、物品搬送装置全体を幅狭でコンパクトなものにする。
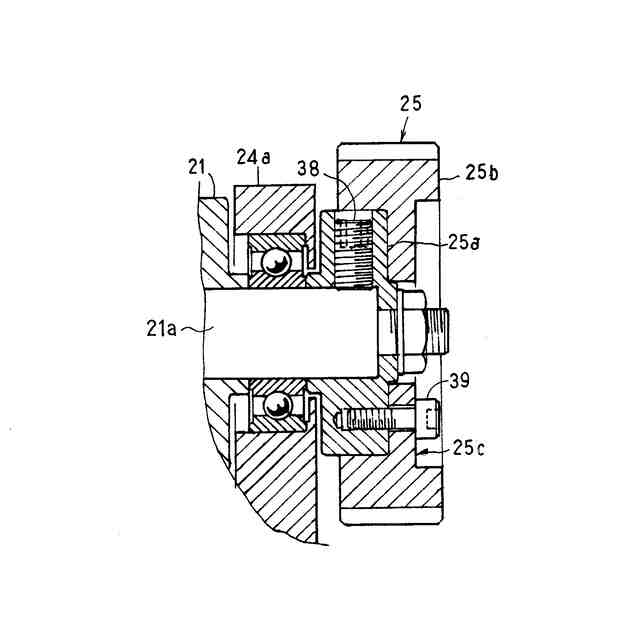
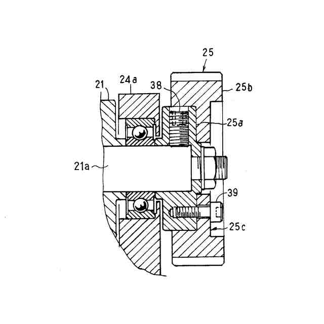
【解決手段】 ベルトコンベヤの入力ギヤ25を、入力軸21aに外嵌されるハブ25aと、このハブ25aに外嵌されるギヤ部25bとで構成し、ハブ25aを、外周から装着したセットビス38で入力軸21aに固定するとともに、ギヤ部25bを、軸心方向外方から装着したボルト39によってハブ25aに固定するよう構成してある。
【選択図】 図7
特許請求の範囲
【請求項1】
ベルトコンベヤの入力側に入力軸を水平支承し、前記入力軸の外端部に取付けた入力ギヤと、駆動ケースの横外側に軸支した出力ギヤとをギヤ咬合連動させるよう構成した物品供給装置であって、
前記入力ギヤを、前記入力軸に外嵌されるハブと、このハブに外嵌されるギヤ部とで構成し、前記ハブを、外周から装着したセットビスで前記入力軸に固定するとともに、前記ギヤ部を、軸心方向外方から装着したボルトによって前記ハブに固定するよう構成してある、
ことを特徴とする物品供給装置。
続きを表示(約 540 文字)
【請求項2】
前記ボルトの頭部を、前記ギヤ部の横外側面より沈み込ませてある、
請求項1に記載の物品供給装置。
【請求項3】
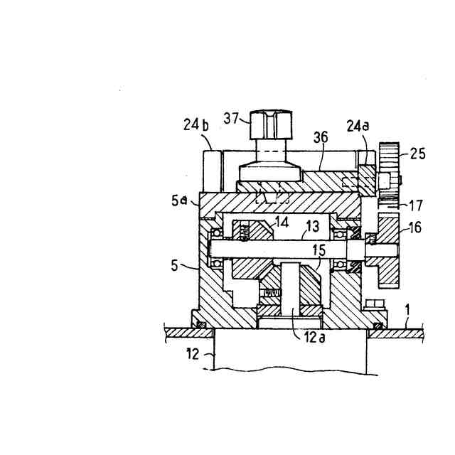
前記ベルトコンベヤにおける入力側の横外側に、前記入力軸を回転自在に軸受け支承する左右一対の軸受けブラケットを配備し、一方の軸受けブラケットから横外方に貫通突出させた前記入力軸に前記入力ギヤを装着してある、
請求項1に記載の物品供給装置。
【請求項4】
前記ベルトコンベヤを前記駆動ケースに対して脱着可能に連結支持し、前記駆動ケースの前記出力ギヤに咬合する中間ギヤを駆動ケースの横側部に装備し、ベルトコンベヤの前記入力ギヤを、前記中間ギヤを介して出力ギヤに咬合連動させてある、
請求項3に記載の物品供給装置。
【請求項5】
前記出力ギヤと前記入力ギヤをそれぞれ金属材で形成するとともに、前記中間ギヤをアセタール樹脂材で形成してある、
請求項4に記載の物品供給装置。
【請求項6】
複数台のベルトコンベヤを並列配備し、各ベルトコンベヤの終端を、組合せ計量を行う複数連の計量ユニットに臨設してある、
請求項ないし5のいずれか一項に記載の物品供給装置。
発明の詳細な説明
【技術分野】
【0001】
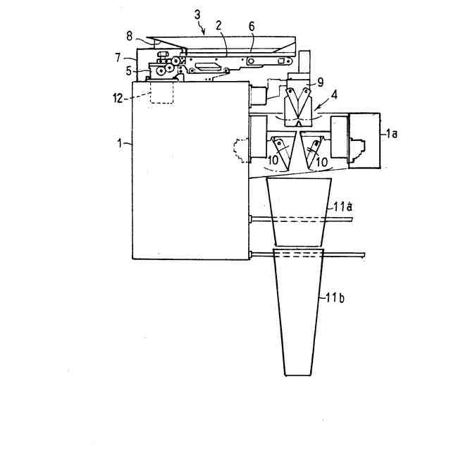
本発明は、計量処理する物品を、ベルトコンベヤを利用して載置搬送する物品供給装置に係り、特には、複数の供給径路が近接して並列配備される仕様の物品搬送構造に好適に利用することができる物品供給装置に関する。
続きを表示(約 1,100 文字)
【背景技術】
【0002】
ベルトコンベヤを利用して載置搬送する物品供給装置を備えた組合せ計量装置として、例えば、特許文献1に示されているように、複数のベルトコンベヤを並列配備するとともに、各ベルトコンベヤの終端部を複数連の計量ユニットに臨設したものが知られている。
特開2023-175545号
【発明の概要】
【発明が解決しようとする課題】
【0003】
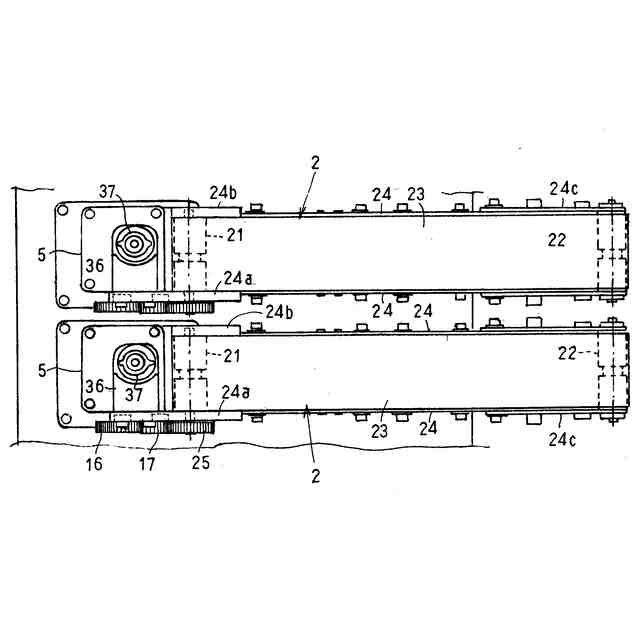
上記組合せ計量装置においては、ベルトコンベヤは脱着可能に装備されており、所定位置への取付けに伴って、ベルトコンベヤの入力ギヤが、固定配備された駆動ケースの出力ギヤに中間ギヤを介して自動的に咬合連動されるように構成されている。
【0004】
この場合、ベルトコンベヤの入力ギヤは、外向きにボス部が突出したものが使用されており、ボス部に外周からセットビスを締め込んで入力軸に入力ギヤを連結固定するようにしている。
【0005】
このように、セットビス方式で連結されるギヤは、ボス部を含めた全体の横幅が大きくならざるを得ず、ギヤ駆動部位の横幅が大きくなるものであった。
【0006】
従って、複数のベルトコンベヤを並列配備するような場合、ギヤ駆動部位の横幅が大きい分、隣接するコンベヤ間隔が大きくなり、物品搬送装置全体の横幅が大きくなるものであった。特に、ベルトコンベヤの並列数が増すほど物品搬送装置全体の大型化を招くものとなっていた。
【0007】
本発明は、このような点に着目してなされたものであって、ギヤ駆動部位の小型化を図ることで、隣接するコンベヤ間隔を小さくし、物品搬送装置全体を幅狭でコンパクトなものにすることを目的としている。
【課題を解決するための手段】
【0008】
上記目的を達成するために、本発明では次のように構成している。
【0009】
(1)本発明に係る物品供給装置は、
ベルトコンベヤの入力側に入力軸を水平支承し、前記入力軸の外端部に取付けた入力ギヤと、駆動ケースの横外側に軸支した出力ギヤとをギヤ咬合連動させるよう構成した物品供給装置であって、
前記入力ギヤを、前記入力軸に外嵌されるハブと、このハブに外嵌されるギヤ部とで構成し、前記ハブを、外周から装着したセットビスで前記入力軸に固定するとともに、前記ギヤ部を、軸心方向外方から装着したボルトによって前記ハブに固定するよう構成してある。
【0010】
この構成によると、入力ギヤ全体の横幅を歯幅と同程度にすることができ、ギヤ駆動部位を横幅の小さいコンパクトなものにすることができる。
(【0011】以降は省略されています)
この特許をJ-PlatPat(特許庁公式サイト)で参照する
関連特許
大和製衡株式会社
物品供給装置
1か月前
大和製衡株式会社
組合せ計量装置
1か月前
大和製衡株式会社
組合せ計量装置
1か月前
大和製衡株式会社
箱詰め装置及び箱詰め方法
2か月前
大和製衡株式会社
計量包装システム及びこれに用いる組合せ秤
15日前
大和製衡株式会社
物品個数計数システム、及び、それに用いる組合せ秤
今日
個人
収容箱
4か月前
個人
束ね具
1か月前
個人
コンベア
6か月前
個人
ゴミ収集器
8か月前
個人
段ボール箱
8か月前
個人
段ボール箱
8か月前
個人
容器
10か月前
個人
バンド
3か月前
個人
テープ引出機
1か月前
個人
楽ちんハンド
6か月前
個人
土嚢運搬器具
10か月前
個人
宅配システム
8か月前
個人
角筒状構造体
7か月前
個人
コード類収納具
9か月前
個人
閉塞装置
11か月前
個人
棒状体収容容器
1か月前
個人
お薬の締結装置
7か月前
個人
包装容器
2か月前
個人
廃棄物収容容器
4か月前
個人
ゴミ処理機
10か月前
株式会社バンダイ
物品
2か月前
個人
蓋閉止構造
5か月前
株式会社和気
包装用箱
10か月前
個人
蓋閉止構造
5か月前
個人
把手付米袋
6か月前
個人
積み重ね用補助具
4か月前
株式会社和気
包装用箱
1か月前
株式会社コロナ
梱包材
7か月前
個人
貯蔵サイロ
8か月前
三甲株式会社
蓋体
9か月前
続きを見る
他の特許を見る