TOP
|
特許
|
意匠
|
商標
特許ウォッチ
Twitter
他の特許を見る
公開番号
2025140185
公報種別
公開特許公報(A)
公開日
2025-09-29
出願番号
2024039393
出願日
2024-03-13
発明の名称
箱詰め装置及び箱詰め方法
出願人
大和製衡株式会社
代理人
弁理士法人有古特許事務所
主分類
B65B
5/06 20060101AFI20250919BHJP(運搬;包装;貯蔵;薄板状または線条材料の取扱い)
要約
【課題】高速化に適した外装箱への物品の箱詰め装置及び箱詰め方法を提供する。
【解決手段】箱詰め装置1は、支持面4Sを有し支持面4Sに載置された物品Wを搬送する搬送機4、搬送機4を物品Wを搬送機4の搬送方向上流側から受け入れる受け入れ位置と下方に物品Wを収容する外装箱Vが配置された差し出し位置との間で移動させる移動機5、及び、差し出し位置にある搬送機4から物品Wを吸着可能な吸着ヘッド7Aと、吸着ヘッド7Aを昇降させる昇降機7Bと、を有する保持機7を備える。
【選択図】図1
特許請求の範囲
【請求項1】
支持面を有し前記支持面に載置された物品を搬送する搬送機、
前記搬送機を、前記物品を前記搬送機の搬送方向上流側から受け入れる受け入れ位置と下方に前記物品を収容する外装箱が配置された差し出し位置との間で移動させる移動機、
及び、
前記差し出し位置にある前記搬送機から前記物品を吸着可能な吸着ヘッドと、前記吸着ヘッドを昇降させる昇降機と、を有する保持機を備える、箱詰め装置。
続きを表示(約 860 文字)
【請求項2】
前記移動機が、平面視において前記搬送機が前記物品を搬送する方向に交差する方向に前記搬送機を移動させる、請求項1に記載の箱詰め装置。
【請求項3】
前記移動機が、前記物品の搬送中である前記搬送機を前記差し出し位置に移動させる、請求項1又は2に記載の箱詰め装置。
【請求項4】
前記搬送機に載置された前記物品を検出するセンサを備える、請求項1又は2に記載の箱詰め装置。
【請求項5】
前記搬送機が搬送する前記物品を前記搬送機の幅方向中央に案内するガイドを有する、請求項1又は2に記載の箱詰め装置。
【請求項6】
前記移動機が、前記搬送機に連結されるタイミングベルト、及び、前記タイミングベルトを駆動するサーボモータを有する、請求項1又は2に記載の箱詰め装置。
【請求項7】
制御器を備え、
前記制御器が、
前記搬送機を、前記支持面に前記物品を載置後に前記受け入れ位置から前記差し出し位置に移動させ、
前記吸着ヘッドを下降させ、
前記差し出し位置にある前記搬送機から前記物品を前記吸着ヘッドに吸着させ、
前記吸着ヘッドを上昇させ、
前記差し出し位置から前記搬送機を移動させ、
前記吸着ヘッドを下降させて前記物品を前記外装箱に収容する、請求項1又は2に記載の箱詰め装置。
【請求項8】
支持面を有する搬送機で前記支持面に載置された物品を搬送し、
前記支持面に前記物品が載置された状態の前記搬送機を、前記物品を前記搬送機の搬送方向上流側から受け入れる受け入れ位置から下方に前記物品を収容する外装箱が配置された差し出し位置に移動させ、
前記物品を持ち上げる保持機で、前記差し出し位置にある前記搬送機から前記物品を持ち上げ、
前記搬送機を前記差し出し位置から移動させ、
前記保持機で、前記外装箱に前記物品を収容する、箱詰め方法。
発明の詳細な説明
【技術分野】
【0001】
本明細書は、箱詰め装置及び箱詰め方法を開示する。
続きを表示(約 1,600 文字)
【背景技術】
【0002】
例えば、ポテトチップ、飴、豆、スープ等の食品、洗剤等は、これらの内容物を袋詰めした物品や箱詰めした物品として取り扱われることが多い。これらの物品は、更に、段ボール、ダース箱等の外装箱に箱詰めされ出荷されることが多い。その様な外装箱への箱詰め装置が特開2008-143572公報に開示されている。
【0003】
この箱詰め装置では、コンベヤが物品を集積位置に搬送する。押出装置が、集積位置にある物品を配置位置に押し出す。吸着具が配置位置にある物品を吸着する。開閉装置が配置位置の床を開放する。吸着具が、開放された床の下に配置された外装箱に物品を箱詰めする。
【先行技術文献】
【特許文献】
【0004】
特開2008-143572公報
【発明の概要】
【発明が解決しようとする課題】
【0005】
この箱詰め装置では、押出装置が、集積位置にある物品を配置位置に押し出す。押出装置による押し出しは、高速化することで物品にダメージを与える恐れがある。この押出装置を用いない方法として、吸着具で集積位置にある物品を配置位置に移動する方法が考えられる。この方法では、吸着具が物品を上下方向に移動させると共に、物品を集積位置から配置位置へ水平方向にも移動させる。しかし、吸着具での物品の移動は、高速化することで、物品を落下させる恐れがある。この様に、外装箱への物品の箱詰めの高速化は容易でない。
【0006】
本出願人の意図するところは、高速化に適した外装箱への物品の箱詰め装置及び箱詰め方法の提供にある。
【課題を解決するための手段】
【0007】
本明細書が開示する箱詰め装置は、
支持面を有し前記支持面に載置された物品を搬送する搬送機、
前記搬送機を、前記物品を前記搬送機の搬送方向上流側から受け入れる受け入れ位置と下方に前記物品を収容する外装箱が配置された差し出し位置との間で移動させる移動機、
及び、
前記差し出し位置にある前記搬送機から前記物品を吸着可能な吸着ヘッドと、前記吸着ヘッドを昇降させる昇降機と、を有する保持機を備える。
【0008】
本明細書が開示する箱詰め方法は、
支持面を有する搬送機で前記支持面に載置された物品を搬送し、
前記支持面に前記物品が載置された状態の前記搬送機を、前記物品を前記搬送機の搬送方向上流側から受け入れる受け入れ位置から下方に前記物品を収容する外装箱が配置された差し出し位置に移動させ、
前記物品を持ち上げる保持機で、前記差し出し位置にある前記搬送機から前記物品を持ち上げ、
前記搬送機を前記差し出し位置から移動させ、
前記保持機で、前記外装箱に前記物品を収容する。
【発明の効果】
【0009】
この箱詰め装置は、物品の箱詰めを高速化しうる。同様に、この箱詰め方法は、物品の箱詰めを高速化しうる。
【図面の簡単な説明】
【0010】
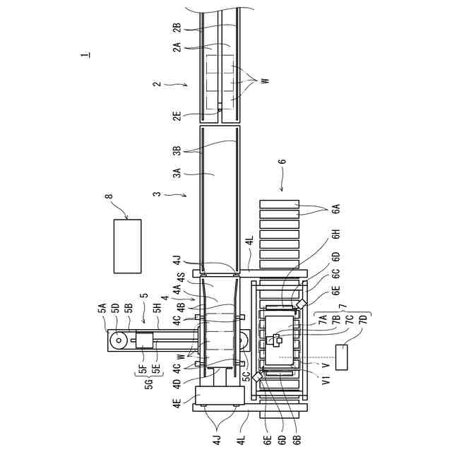
図1は、一実施形態に係る箱詰め装置を上から見た平面図である。
図2は、図1の箱詰め装置を左から見た側面図である。
図3Aは図1の箱詰め装置が備える外装箱搬送機の使用状態が示された説明図であり、図3Bは外装箱搬送機の他の使用状態が示された説明図である。
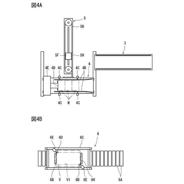
図4Aは図1の箱詰め装置が備える位置決め搬送機と位置決め搬送機を移動させる移動機との使用状態が示された説明図であり、図4Bは図4Aの位置決め搬送機の下方に位置する外装箱搬送機の使用状態が示された説明図である。
図5Aは図1の箱詰め装置が備える保持器の使用状態が示された説明図であり、図5Bは保持機の他の使用状態が示された説明図である。
【発明を実施するための形態】
(【0011】以降は省略されています)
この特許をJ-PlatPat(特許庁公式サイト)で参照する
関連特許
大和製衡株式会社
物品供給装置
1か月前
大和製衡株式会社
組合せ計量装置
1か月前
大和製衡株式会社
組合せ計量装置
1か月前
大和製衡株式会社
箱詰め装置及び箱詰め方法
2か月前
大和製衡株式会社
計量包装システム及びこれに用いる組合せ秤
12日前
個人
束ね具
27日前
個人
収容箱
4か月前
個人
コンベア
6か月前
個人
ゴミ収集器
8か月前
個人
段ボール箱
8か月前
個人
段ボール箱
8か月前
個人
容器
10か月前
個人
宅配システム
8か月前
個人
テープ引出機
27日前
個人
土嚢運搬器具
9か月前
個人
楽ちんハンド
6か月前
個人
角筒状構造体
6か月前
個人
バンド
3か月前
個人
包装容器
2か月前
個人
コード類収納具
9か月前
個人
閉塞装置
11か月前
個人
お薬の締結装置
7か月前
個人
棒状体収容容器
1か月前
個人
廃棄物収容容器
4か月前
株式会社和気
包装用箱
1か月前
個人
蓋閉止構造
5か月前
個人
貯蔵サイロ
8か月前
個人
蓋閉止構造
5か月前
株式会社和気
包装用箱
10か月前
個人
ゴミ処理機
10か月前
株式会社コロナ
梱包材
6か月前
個人
積み重ね用補助具
4か月前
個人
把手付米袋
6か月前
株式会社バンダイ
物品
2か月前
個人
介護用コップ
3か月前
個人
袋入り即席麺
8か月前
続きを見る
他の特許を見る