TOP
|
特許
|
意匠
|
商標
特許ウォッチ
Twitter
他の特許を見る
公開番号
2025144040
公報種別
公開特許公報(A)
公開日
2025-10-02
出願番号
2024043612
出願日
2024-03-19
発明の名称
回転角検出装置
出願人
株式会社アイシン
代理人
個人
,
個人
主分類
G01D
5/244 20060101AFI20250925BHJP(測定;試験)
要約
【課題】回転体の回転数を検出することが可能であるとともに、回転体の全周にわたって回転角を検出することが可能な回転角検出装置を提供する。
【解決手段】この回転角検出装置100では、複数の被検出部10は、複数の第1被検出部11と、1つの第2被検出部12とを含み、第2被検出部12は、複数の第1被検出部11の形状と異なる形状を有する。
【選択図】図2
特許請求の範囲
【請求項1】
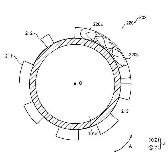
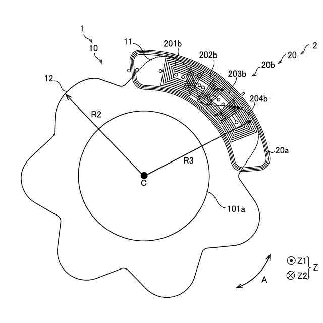
回転可能に構成され、回転方向に沿って並ぶように複数設けられ、径方向外側に突出する被検出部を含む回転体と、
前記被検出部に対向して配置され、前記複数の被検出部ごとに正弦波を検出することにより前記回転体の回転による磁界の変化を検出する検出コイルを含む検出部と、を備え、
前記複数の被検出部は、複数の第1被検出部と、1つの第2被検出部とを含み、
前記第2被検出部は、前記複数の第1被検出部の形状と異なる形状を有する、回転角検出装置。
続きを表示(約 650 文字)
【請求項2】
前記第2被検出部は、前記複数の第1被検出部よりも径方向の長さが小さくなるか、または、前記複数の第1被検出部よりも回転方向の幅が小さくなるように構成されている、請求項1に記載の回転角検出装置。
【請求項3】
前記複数の被検出部と、前記検出コイルとのうちの一方は、回転方向に沿って並ぶ矩形状を有しているとともに、他方は回転方向に沿って並ぶ正弦波状を有するように構成されており、
前記被検出部が正弦波状を有している場合には、前記第2被検出部は、前記複数の第1被検出部よりも径方向の長さが小さくなるように構成され、
前記被検出部が矩形状を有している場合には、前記第2被検出部は、前記複数の第1被検出部よりも周方向の幅が小さくなるように構成されている、請求項1に記載の回転角検出装置。
【請求項4】
前記被検出部は、正弦波状を有しており、
前記第1被検出部は、正弦波状を構成する第1凸部分と第1凹部分とを含み、
前記第2被検出部は、正弦波状を構成する第2凸部分と第2凹部分とを含み、
前記回転体の中心から前記第2凹部分の頂点までの径方向の長さは、前記回転体の中心から前記第1凹部分の頂点までの径方向の長さよりも大きく構成され、かつ、前記回転体の中心から前記第2凸部分の頂点までの径方向の長さは、前記回転体の中心から前記第1凸部分の頂点までの径方向の長さよりも小さく構成されている、請求項3に記載の回転角検出装置。
発明の詳細な説明
【技術分野】
【0001】
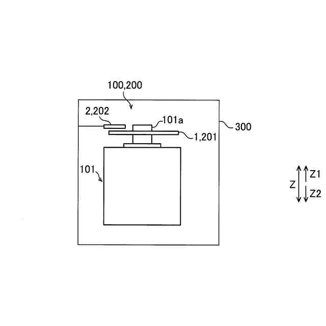
本発明は、回転角検出装置に関し、特に、被検出部を備える回転角検出装置に関する。
続きを表示(約 1,700 文字)
【背景技術】
【0002】
従来、被検出部を備える回転角検出装置が知られている(たとえば、特許文献1)。
【0003】
上記特許文献1には、回転体と、プリント基板とを備え、回転体は、外周縁部または内周縁部が正弦波形状に形成されている複数のターゲット部(被検出部)を含むとともに、プリント基板に第1コイルと第2コイルとが形成されている回転角度センサ(回転角検出装置)が開示されている。特許文献1では、第1コイルにより発生した第1磁界がターゲット部に作用し、ターゲット部において第1磁界に対応して発生した渦電流により第2磁界が発生する。また、第2コイルがターゲット部に対向することにより、第2磁界の強弱に対応した正弦波形状の振幅を有する誘導電流が出力され、出力された正弦波形状の振幅を有する誘導電流から回転体の回転角度が検出される。
【0004】
上記特許文献1では、複数の被検出部は、形状が同じであるため、検出された正弦波が複数の被検出部のうちどれに対応しているのかを識別できず、回転体の回転数を検出できない。
【0005】
そこで、従来では、回転体の回転数を検出するために、回転体に設けられる被検出部の一部を切り欠いた回転角検出装置が用いられる。被検出部の一部を切り欠くことにより、被検出部と第2コイルとが対向しないため、切り欠いた被検出部の位置では正弦波が検出されない。そのため、正弦波が検出されない部分を回転体の回転の基準位置とすることにより、正弦波の検出されなかった回数から回転数を検出している。
【先行技術文献】
【特許文献】
【0006】
特許第7347123号公報
【発明の概要】
【発明が解決しようとする課題】
【0007】
しかしながら、被検出部の一部を切り欠いた回転角検出装置は、回転体の回転数を検出することができるが、正弦波が検出されないため、切り欠かれた部分の回転角を検出することができない。このため、回転体の回転数を検出することができるとともに、回転体の全周にわたって回転角を検出することができることが望まれている。
【0008】
この発明は、上記のような課題を解決するためになされたものであり、この発明の1つの目的は、回転体の回転数を検出することが可能であるとともに、回転体の全周にわたって回転角を検出することが可能な回転角検出装置を提供することである。
【課題を解決するための手段】
【0009】
上記目的を達成するために、この発明の一の局面における回転角検出装置は、回転可能に構成され、回転方向に沿って並ぶように複数設けられ、径方向外側に突出する被検出部を含む回転体と、被検出部に対向して配置され、複数の被検出部ごとに正弦波を検出することにより回転体の回転による磁界の変化を検出する検出コイルを含む検出部と、を備え、複数の被検出部は、複数の第1被検出部と、1つの第2被検出部とを含み、第2被検出部は、複数の第1被検出部の形状と異なる形状を有する。
【0010】
この発明の一の局面による回転角検出装置では、上記のように、複数の被検出部は、複数の第1被検出部と、1つの第2被検出部とを含み、第2被検出部は、複数の第1被検出部の形状と異なる形状を有する。これにより、1つの第2被検出部の第2波形は、複数の第1被検出部の第1波形と異なるため、第1波形と第2波形とを区別することができる。そのため、第2波形を基準とし、第2波形を検出した回数に基づいて、回転体の回転数を検出することができる。また、第2被検出部を設けることにより、被検出部を切り欠く場合と異なり正弦波を検出することができるため、第1被検出部に加えて、回転体の回転数を検出する際の基準となる第2被検出部においても回転角を検出することができる。これらの結果、回転体の回転数を検出することが可能であるとともに、回転体の全周にわたって回転角を検出することができる。
(【0011】以降は省略されています)
この特許をJ-PlatPat(特許庁公式サイト)で参照する
関連特許
株式会社アイシン
空気袋
3日前
株式会社アイシン
制御装置
1か月前
株式会社アイシン
発電装置
1か月前
株式会社アイシン
駆動装置
1日前
株式会社アイシン
コンデンサ
27日前
株式会社アイシン
自律移動体
1か月前
株式会社アイシン
鋳ぐるみ品
3日前
株式会社アイシン
温度調節器
13日前
株式会社アイシン
温度調節器
13日前
株式会社アイシン
温度調節器
3日前
株式会社アイシン
電動ポンプ
1か月前
株式会社アイシン
心拍検出装置
6日前
株式会社アイシン
駐車支援装置
6日前
株式会社アイシン
ポンプケース
6日前
株式会社アイシン
車両駆動装置
23日前
株式会社アイシン
運転支援装置
23日前
株式会社アイシン
温度調節装置
27日前
株式会社アイシン
車両下部構造
22日前
株式会社アイシン
物体検出装置
13日前
株式会社アイシン
排熱回収装置
23日前
株式会社アイシン
冷却プレート
27日前
株式会社アイシン
電力変換装置
29日前
株式会社アイシン
直流回転電機
27日前
株式会社アイシン
電力変換装置
29日前
株式会社アイシン
乗員検知装置
14日前
株式会社アイシン
立体構造基板
3日前
株式会社アイシン
動力伝達装置
1か月前
株式会社アイシン
マニホールド
1日前
株式会社アイシン
振動発生装置
1日前
株式会社アイシン
開閉システム
今日
株式会社アイシン
物体検出装置
1か月前
株式会社アイシン
物体検出装置
1か月前
株式会社アイシン
電解システム
1か月前
株式会社アイシン
車両用駆動装置
27日前
株式会社アイシン
車両用駆動装置
1か月前
株式会社アイシン
バスバーホルダ
1か月前
続きを見る
他の特許を見る