TOP
|
特許
|
意匠
|
商標
特許ウォッチ
Twitter
他の特許を見る
公開番号
2025140614
公報種別
公開特許公報(A)
公開日
2025-09-29
出願番号
2024040129
出願日
2024-03-14
発明の名称
温度調節器
出願人
株式会社アイシン
代理人
弁理士法人R&C
主分類
H01M
10/6557 20140101AFI20250919BHJP(基本的電気素子)
要約
【課題】少ない部品点数で組み立ても容易に行える温度調節器を提供する。
【解決手段】流体Lが内部に流れる側方フレーム15と、側方フレーム15から供給された流体Lによる熱交換によって、セル11における第1方向の側面の温度調節を行う複数の熱交換プレート16とを備え、側方フレーム15が嵌合凹部Paを有し、熱交換プレート16が嵌合凹部Paに嵌合する嵌合凸部Qaを有し、嵌合凹部Paに嵌合凸部Qaが嵌合した嵌合連結状態にある嵌合連結部を介して流体Lが側方フレーム15から熱交換プレート16に供給される。
【選択図】図2
特許請求の範囲
【請求項1】
第1方向に沿って並ぶ複数のセルを有するバッテリモジュールを備えたバッテリの温度を調節する温度調節器であって、
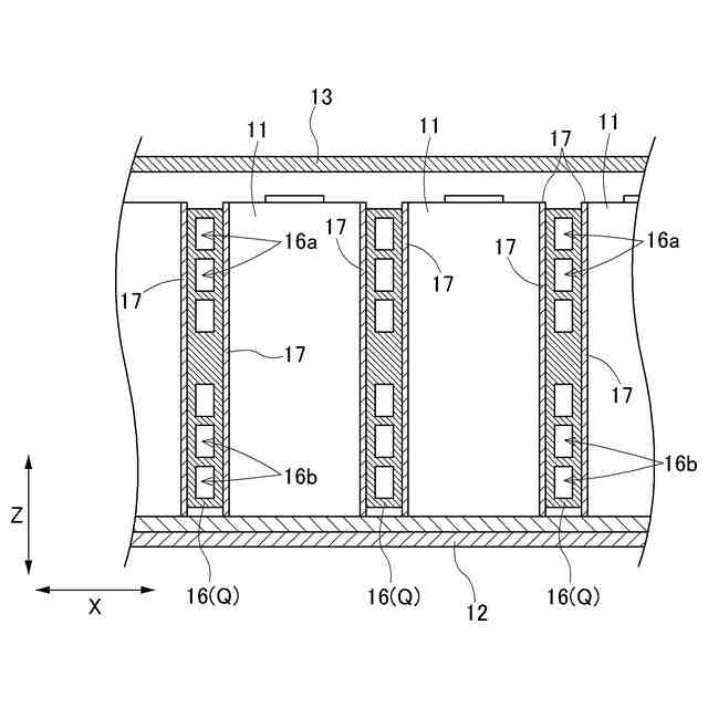
流体が内部に流れる側方フレームと、
前記側方フレームから供給された前記流体による熱交換によって、前記セルにおける前記第1方向の側面の温度調節を行う複数の熱交換プレートとを備え、
前記側方フレームが嵌合凹部を有し、前記熱交換プレートが前記嵌合凹部に嵌合する嵌合凸部を有し、
前記嵌合凹部に前記嵌合凸部が嵌合した嵌合連結状態にある嵌合連結部を介して前記流体が前記側方フレームから前記熱交換プレートに供給される温度調節器。
続きを表示(約 610 文字)
【請求項2】
前記側方フレームは、前記流体が供給される供給側流路と、当該供給側流路と並列する位置に前記流体が戻される排出側流路とを有し、
前記熱交換プレートは、前記供給側流路からの前記流体が流れる上流側流路と、前記排出側流路に前記流体を戻す下流側流路と、前記上流側流路の終端部から前記下流側流路の始端部に前記流体を折り返して流すリターン流路とを有し、
前記嵌合凹部は、前記供給側流路に形成された供給側孔部と、前記排出側流路に形成された排出側孔部とを有し、
前記嵌合凸部は、前記上流側流路に形成された上流側凸部と、前記下流側流路に形成された下流側凸部とを有し、
前記供給側孔部と前記上流側凸部とが嵌合連結し、前記排出側孔部と前記下流側凸部とが嵌合連結している請求項1に記載の温度調節器。
【請求項3】
前記供給側流路には、複数の前記熱交換プレートと同数の前記供給側孔部が形成されており、前記嵌合連結状態において、前記上流側凸部の流路断面積は、前記側方フレームにおいて前記流体が流れる流通方向で上流側ほど小さく設定されている請求項2に記載の温度調節器。
【請求項4】
前記側方フレームが、車体の衝撃吸収フレームと一体化されており、
前記側方フレームと前記衝撃吸収フレームとの間に緩衝部材が配置されている請求項1~3の何れか一項に記載の温度調節器。
発明の詳細な説明
【技術分野】
【0001】
本発明は、温度調節器に関する。
続きを表示(約 1,200 文字)
【背景技術】
【0002】
近年、走行駆動源として電動モータを備えた自動車(ハイブリッド車(HEV:Hybrid Electric Vehicle)、プラグインハイブリッド車(PHEV:Plug-in Hybrid Electric Vehicle)、バッテリ車(BEV:Battery Electric Vehicle)、燃料電池車(FCEV:Fuel Cell Electric Vehicle)等)が普及している。これら電動型の自動車には電動モータを駆動させるバッテリが搭載されている。
【0003】
電動型の自動車に搭載されるバッテリは、複数のバッテリセルを有するバッテリモジュールを容器に収容した構成を有する。そのため、バッテリは、使用時に伴う熱が容器の外部に放出されず、容器内部の温度が上昇し、バッテリの劣化を招くことがあった。そこで、特許文献1に記載されるように、バッテリを冷却する技術が検討されてきた。
【0004】
特許文献1には、車両に搭載されるバッテリを冷却する装置について記載されている。この装置は、複数のバッテリセルを複数の列状に配置し、列状に配置したバッテリセルに隣接する位置の夫々に水冷板アッセンブリを配置し、これらをケースに収納している。
【0005】
複数の水冷板アッセンブリは、長手方向の一端に冷却液の供給部を備え、複数の供給部が供給側管状部材で接続されている。夫々の水冷板アッセンブリは、長手方向の他端に冷却液の排出部を備え、複数の排出部が排出側管状部材で接続されている。
【0006】
尚、特許文献1の水冷板アッセンブリは、冷却流体を長手方向に流す3つのチャンネルを内部に備え、長手方向の一端の供給部から供給された冷却液を、長手方向の他端で折り返して供給部の方向に送り、折り返された冷却水を更に折り返して送ることにより排出部から排出する構造を有する。
【先行技術文献】
【特許文献】
【0007】
中国特許出願公開第114665188号明細書
【発明の概要】
【発明が解決しようとする課題】
【0008】
複数のバッテリセルの温度調節を行うためには、特許文献1にも記載されるように複数のバッテリセルの夫々の近傍に熱交換部(特許文献1では水冷板アッセンブリ)を配置し、熱交換部に温調流体を供給することにより熱交換を行うことが望ましい。
【0009】
しかしながら、特許文献1に記載されるように熱交換のための熱交換部の一端側の供給部を繋ぎ合わせて管状の流路を形成し、熱交換部の他端の排出部を繋ぎ合わせて管状の流路を形成するものでは構造の複雑化を招き、部品点数の増大に繋がるものであった。
【0010】
特に、複数の部品を用いて温調のための流路を組み立てる工程が複雑になり、組み立てに要する時間も長くなることが懸念される。
(【0011】以降は省略されています)
この特許をJ-PlatPat(特許庁公式サイト)で参照する
関連特許
株式会社アイシン
ロータ
17日前
株式会社アイシン
ロータ
11日前
株式会社アイシン
ロータ
15日前
株式会社アイシン
制御装置
16日前
株式会社アイシン
回転電機
18日前
株式会社アイシン
ステータ
15日前
株式会社アイシン
電子機器
16日前
株式会社アイシン
保護装置
16日前
株式会社アイシン
制御装置
16日前
株式会社アイシン
検知装置
16日前
株式会社アイシン
回転電機
18日前
株式会社アイシン
ステータ
15日前
株式会社アイシン
ステータ
15日前
株式会社アイシン
ステータ
15日前
株式会社アイシン
駆動装置
16日前
株式会社アイシン
制御装置
16日前
株式会社アイシン
歯車機構
11日前
株式会社アイシン
制御装置
22日前
株式会社アイシン
車体構造
22日前
株式会社アイシン
回転電機
22日前
株式会社アイシン
レーダ装置
16日前
株式会社アイシン
温度調節器
22日前
株式会社アイシン
電解システム
16日前
株式会社アイシン
乗員検知装置
16日前
株式会社アイシン
出庫支援装置
16日前
株式会社アイシン
開閉システム
23日前
株式会社アイシン
車両制御装置
16日前
株式会社アイシン
運転支援装置
16日前
株式会社アイシン
衝撃吸収部材
16日前
株式会社アイシン
案内システム
16日前
株式会社アイシン
電解システム
17日前
株式会社アイシン
超音波センサ
17日前
株式会社アイシン
センサ固定具
17日前
株式会社アイシン
駐車支援装置
18日前
株式会社アイシン
車両制御装置
22日前
株式会社アイシン
駐車支援装置
22日前
続きを見る
他の特許を見る