TOP
|
特許
|
意匠
|
商標
特許ウォッチ
Twitter
他の特許を見る
公開番号
2025151391
公報種別
公開特許公報(A)
公開日
2025-10-09
出願番号
2024052791
出願日
2024-03-28
発明の名称
レーダ装置
出願人
株式会社アイシン
代理人
弁理士法人酒井国際特許事務所
主分類
H01Q
1/42 20060101AFI20251002BHJP(基本的電気素子)
要約
【課題】指向性の特性の低下を防止できるレーダ装置を得る。
【解決手段】レーダ装置は、第1の壁と、前記第1の壁から突出する第1の支持壁と、前記第1の壁から前記第1の支持壁よりも短く突出するとともに隙間を空けて前記第1の支持壁を囲む第1の外壁と、を有し、金属で作られた、ケースと、前記第1の支持壁に支持される第1の面と、前記第1の面の反対側に位置する第2の面と、前記第2の面に設けられたアンテナと、を有する基板と、前記第2の面を覆う第2の壁と、前記第2の面を支持して前記第1の支持壁との間に前記基板を保持する第2の支持壁と、前記第1の支持壁及び前記基板を囲む第2の外壁と、前記第2の外壁から突出して前記隙間に収容されるとともに前記第1の支持壁を囲む凸壁と、を有し、誘電体で作られた、カバーと、を備える。
【選択図】図3
特許請求の範囲
【請求項1】
第1の壁と、前記第1の壁から突出する第1の支持壁と、前記第1の壁から前記第1の支持壁よりも短く突出するとともに隙間を空けて前記第1の支持壁を囲む第1の外壁と、を有し、金属で作られた、ケースと、
前記第1の支持壁に支持される第1の面と、前記第1の面の反対側に位置する第2の面と、前記第2の面に設けられたアンテナと、を有する基板と、
前記第2の面を覆う第2の壁と、前記第2の面を支持して前記第1の支持壁との間に前記基板を保持する第2の支持壁と、前記第1の支持壁及び前記基板を囲む第2の外壁と、前記第2の外壁から突出して前記隙間に収容されるとともに前記第1の支持壁を囲む凸壁と、を有し、誘電体で作られた、カバーと、
を備えるレーダ装置。
続きを表示(約 460 文字)
【請求項2】
前記カバーは、前記第2の外壁から前記第2の面に沿う方向に突出する突起を有する、
請求項1に記載のレーダ装置。
【請求項3】
前記第1の支持壁に設けられたネジ穴に嵌るネジ軸と、前記ネジ軸の端に設けられたネジ頭と、を有し、前記ネジ頭と前記第1の支持壁との間に前記基板を保持する、ネジ、
をさらに備え、
前記ケースは、前記第1の支持壁から互いに離間して突出するとともに前記第2の面に沿う方向に前記基板が移動することを制限する複数のガイドを有し、
前記ネジ頭は、前記複数のガイドよりも前記第1の支持壁から離間している、
請求項1に記載のレーダ装置。
【請求項4】
前記第1の支持壁は、前記第1の面の縁の内側において当該第1の面を支持する支持部と、互いに離間するとともに前記支持部から前記第2の面に沿う方向に突出する複数の張出部と、を有し、
前記複数のガイドは、前記複数の張出部から突出する、
請求項3に記載のレーダ装置。
発明の詳細な説明
【技術分野】
【0001】
本発明は、レーダ装置に関する。
続きを表示(約 1,500 文字)
【背景技術】
【0002】
レーダ装置は、例えば、アンテナが設けられた基板と、当該基板を支持するケースと、当該基板を覆うカバーとを備える。基板は、ケースとカバーとの間に保持される。アンテナは、誘電体で作られたカバーを通じて電波を出射する。
【先行技術文献】
【特許文献】
【0003】
特開2020-008474号公報
【発明の概要】
【発明が解決しようとする課題】
【0004】
電波は、アンテナから正面のみならず横に向かっても出射される。ケースが金属で作られる場合、横に向かって出射された電波は、ケースにより反射されることがある。ケースに反射される電波の電力が大きいと、リンギングが生じてレーダ装置の指向性の特性を低下させる。
【0005】
本発明は、上記に鑑みてなされたものであって、指向性の特性の低下を防止できるレーダ装置を提供する。
【課題を解決するための手段】
【0006】
本発明に係るレーダ装置は、第1の壁と、前記第1の壁から突出する第1の支持壁と、前記第1の壁から前記第1の支持壁よりも短く突出するとともに隙間を空けて前記第1の支持壁を囲む第1の外壁と、を有し、金属で作られた、ケースと、前記第1の支持壁に支持される第1の面と、前記第1の面の反対側に位置する第2の面と、前記第2の面に設けられたアンテナと、を有する基板と、前記第2の面を覆う第2の壁と、前記第2の面を支持して前記第1の支持壁との間に前記基板を保持する第2の支持壁と、前記第1の支持壁及び前記基板を囲む第2の外壁と、前記第2の外壁から突出して前記隙間に収容されるとともに前記第1の支持壁を囲む凸壁と、を有し、誘電体で作られた、カバーと、を備える。
【発明の効果】
【0007】
本発明に係るレーダ装置によれば、指向性の特性の低下を防止できる。
【図面の簡単な説明】
【0008】
図1は、一つの実施形態に係る車両の構成の一例を模式的に示す図である。
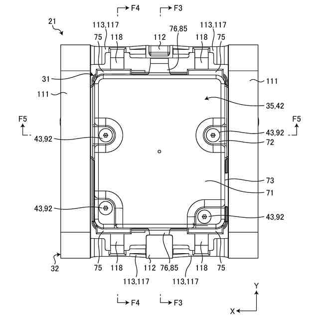
図2は、上記実施形態のレーダ装置を示す平面図である。
図3は、上記実施形態のレーダ装置を図2のF3-F3線に沿って示す断面図である。
図4は、上記実施形態のレーダ装置を図2のF4-F4線に沿って示す断面図である。
図5は、上記実施形態の装置本体を図2のF5-F5線に沿って示す断面図である。
図6は、上記実施形態の基板、ケース、及びネジを示す斜視図である。
図7は、上記実施形態の基板及びレドームを示す斜視図である。
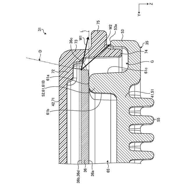
図8は、上記実施形態のレーダ装置の一部を拡大して示す断面図である。
【発明を実施するための形態】
【0009】
以下に、本発明の一つの実施形態について、図1乃至図8を参照して説明する。なお、本明細書において、実施形態に係る構成要素及び当該要素の説明が、複数の表現で記載されることがある。構成要素及びその説明は、一例であり、本明細書の表現によって限定されない。構成要素は、本明細書におけるものとは異なる名称でも特定され得る。また、構成要素は、本明細書の表現とは異なる表現によっても説明され得る。
【0010】
図1は、本実施形態に係る車両1の構成の一例を模式的に示す図である。図1に示すように、本実施形態の車両1は、車体11と、複数のシート12と、乗員検知システム13とを有する。なお、車両1は、この例に限られない。
(【0011】以降は省略されています)
この特許をJ-PlatPat(特許庁公式サイト)で参照する
関連特許
株式会社アイシン
車両
20日前
株式会社アイシン
車両
20日前
株式会社アイシン
潤滑油
5日前
株式会社アイシン
粉砕機
7日前
株式会社アイシン
熱交換器
20日前
株式会社アイシン
熱交換器
20日前
株式会社アイシン
動力変換装置
20日前
株式会社アイシン
ヒートシンク
1か月前
株式会社アイシン
操作検出装置
14日前
株式会社アイシン
焼き入れ方法
5日前
株式会社アイシン
焼き入れ方法
5日前
株式会社アイシン
車両用ドア装置
1か月前
株式会社アイシン
回転角検出装置
20日前
株式会社アイシン
車両用駆動装置
1か月前
株式会社アイシン
車両用駆動装置
20日前
株式会社アイシン
情報検索システム
今日
株式会社アイシン
位置姿勢取得装置
13日前
株式会社アイシン
ステータユニット
1日前
株式会社アイシン
情報検索システム
今日
株式会社アイシン
複合歯車の製造方法
12日前
株式会社アイシン
車両用駆動伝達装置
20日前
株式会社アイシン
ペロブスカイト太陽電池
5日前
株式会社アイシン
二酸化炭素回収システム
13日前
株式会社アイシン
硬化性組成物及びその硬化物
今日
株式会社アイシン
ペロブスカイト太陽電池の製造方法
21日前
株式会社アイシン
ペロブスカイト太陽電池及びカーボン液
12日前
株式会社アイシン
車両用制御装置及び車両用制御プログラム
13日前
株式会社アイシン
エポキシ系接着剤組成物及びその硬化物並びに積層コア
5日前
株式会社アイシン
ナノ結晶軟磁性合金
7日前
トヨタ自動車株式会社
計数装置、計数方法及び計数用コンピュータプログラム
12日前
株式会社デンソーテン
画像処理装置、情報処理システム、情報処理方法、および、プログラム
5日前
株式会社豊田中央研究所
二酸化炭素回収システム
1日前
トヨタ自動車株式会社
足元位置推定装置、足元位置推定方法、足元位置推定システム及び足元位置推定用コンピュータプログラムならびに移動検知装置
6日前
個人
三重コイル変圧器
今日
APB株式会社
蓄電セル
1か月前
東ソー株式会社
絶縁電線
1か月前
続きを見る
他の特許を見る