TOP
|
特許
|
意匠
|
商標
特許ウォッチ
Twitter
他の特許を見る
10個以上の画像は省略されています。
公開番号
2025154652
公報種別
公開特許公報(A)
公開日
2025-10-10
出願番号
2024057768
出願日
2024-03-29
発明の名称
折り畳み装置
出願人
株式会社アイシン
代理人
弁理士法人酒井国際特許事務所
主分類
B62K
15/00 20060101AFI20251002BHJP(鉄道以外の路面車両)
要約
【課題】折り畳み装置において折り畳み操作の容易性を向上させる。
【解決手段】折り畳み装置は、第1のフレームと、第2のフレームと、第3のフレームと、第1のフレームと第2のフレームとの折り畳み動作を許容する許容状態と、当該折り畳み動作を禁止する禁止状態とが切り替わる第1のロック部と、第2の回転部材を有し、第2の回転部材の回転により、第1のフレームと第3のフレームとの折り畳み動作を許容する許容状態と、当該折り畳み動作を禁止する禁止状態とが切り替わる第2のロック部と、第1の回転部材と第2の回転部材とを連動させる回転連動部と、を備え、回転連動部は、第1の回転部材及び第2の回転部材を回転させる方向に移動することにより、許容状態と禁止状態とを変更可能な第1の可動部材を有する。
【選択図】図11
特許請求の範囲
【請求項1】
第1のフレームと、
第2のフレームと、
第3のフレームと、
前記第1のフレームと前記第2のフレームとの折り畳み動作を可能に、前記第1のフレームと前記第2のフレームとを連結する第1の折畳部と、
前記第1のフレームと前記第3のフレームとの折り畳み動作を可能に、前記第1のフレームと前記第3のフレームとを連結する第2の折畳部と、
第1の回転部材を有し、前記第1の回転部材の回転により、前記第1のフレームと前記第2のフレームとの折り畳み動作を許容する許容状態と、当該折り畳み動作を禁止する禁止状態とが切り替わる第1のロック部と、
第2の回転部材を有し、前記第2の回転部材の回転により、前記第1のフレームと前記第3のフレームとの折り畳み動作を許容する許容状態と、当該折り畳み動作を禁止する禁止状態とが切り替わる第2のロック部と、
前記第1の回転部材と前記第2の回転部材とを連動させる回転連動部と、
を備え、
前記回転連動部は、前記第1の回転部材及び前記第2の回転部材を回転させる方向に移動することにより、前記許容状態と前記禁止状態とを変更可能な第1の可動部材を有する、
折り畳み装置。
続きを表示(約 570 文字)
【請求項2】
前記第1の可動部材は、前記第1の回転部材と前記第2の回転部材とを連結するとともに前記第1の回転部材と前記第2の回転部材とのそれぞれに相対回転可能に連結され、前記第1の回転部材及び前記第2の回転部材を回転させる方向に平行移動することにより、前記許容状態と前記禁止状態とを変更可能である、
請求項1に記載の折り畳み装置。
【請求項3】
前記回転連動部は、第2の可動部材を有し、
前記第2の可動部材は、操作力が入力される入力アーム部と、前記第1の可動部材に相対回転可能に連結される連結アーム部と、を有し、前記操作力によって回転することにより、前記第1の可動部材を移動させ、
前記第2の可動部材が前記第1の可動部材を移動させる場合において、前記第2の可動部材の回転量と、前記第1の回転部材の回転量と、前記第2の回転部材の回転量とは、同じである、
請求項2に記載の折り畳み装置。
【請求項4】
前記回転連動部は、円弧状の面を有し前記入力アーム部と相対回転可能な維持部材を有し、
前記第1のロック部及び前記第2のロック部は、前記入力アーム部が前記面に沿って前記維持部材と相対回転している間は、前記許容状態を維持する、
請求項3に記載の折り畳み装置。
発明の詳細な説明
【技術分野】
【0001】
本発明の実施形態は、折り畳み装置に関する。
続きを表示(約 2,600 文字)
【背景技術】
【0002】
従来、車両等に設けられ、展開状態と折り畳み状態とに変更可能な折り畳み装置が知られている。例えば、前輪と後輪との間のメインフレームとリアフォークとを軸線上に設けた三箇所のヒンジで折り畳み及び展開可能に連結した折り畳装置がある(例えば、特許文献1参照)。
【先行技術文献】
【特許文献】
【0003】
特開平10-291488号公報
【発明の概要】
【発明が解決しようとする課題】
【0004】
この種の折り畳み装置は、折り畳みの節となるヒンジ等の折畳部の数を増やすほど小さく折り畳むことが可能であるが、折畳部毎にロック部を設けるため、折畳部の数が増加するほどロック部の数も増加し、折り畳みの操作性が悪化してしまう。
【0005】
本発明の実施形態が解決しようとする課題の一つは、折り畳み操作の容易性を向上させることである。
【課題を解決するための手段】
【0006】
本発明の実施形態に係る折り畳み装置は、第1のフレームと、第2のフレームと、第3のフレームと、前記第1のフレームと前記第2のフレームとの折り畳み動作を可能に、前記第1のフレームと前記第2のフレームとを連結する第1の折畳部と、前記第1のフレームと前記第3のフレームとの折り畳み動作を可能に、前記第1のフレームと前記第3のフレームとを連結する第2の折畳部と、第1の回転部材を有し、前記第1の回転部材の回転により、前記第1のフレームと前記第2のフレームとの折り畳み動作を許容する許容状態と、当該折り畳み動作を禁止する禁止状態とが切り替わる第1のロック部と、第2の回転部材を有し、前記第2の回転部材の回転により、前記第1のフレームと前記第3のフレームとの折り畳み動作を許容する許容状態と、当該折り畳み動作を禁止する禁止状態とが切り替わる第2のロック部と、前記第1の回転部材と前記第2の回転部材とを連動させる回転連動部と、を備え、前記回転連動部は、前記第1の回転部材及び前記第2の回転部材を回転させる方向に移動することにより、前記許容状態と前記禁止状態とを変更可能な第1の可動部材を有する。
【発明の効果】
【0007】
本発明の実施形態に係る折り畳み装置によれば、折り畳み操作の容易性を向上させることができる。
【図面の簡単な説明】
【0008】
図1は、実施形態の折り畳み装置を備える車両の概略構成を示す例示的かつ模式的な側面図であって、展開状態を示す図である。
図2は、実施形態の車両の折り畳み手順の一部を示す例示的かつ模式的な図である。
図3は、実施形態の車両の折り畳み手順の一部を示す例示的かつ模式的な図であって、図2に続く手順を示す図である。
図4は、実施形態の車両の折り畳み手順の一部を示す例示的かつ模式的な図であって、図3に続く手順を示す図である。
図5は、実施形態の車両の折り畳み手順の一部を示す例示的かつ模式的な図であって、図4に続く手順を示す図である。
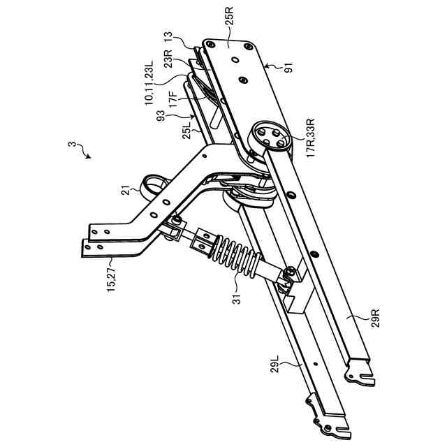
図6は、実施形態の折り畳み装置の一部を示す例示的かつ模式的な斜視図である。
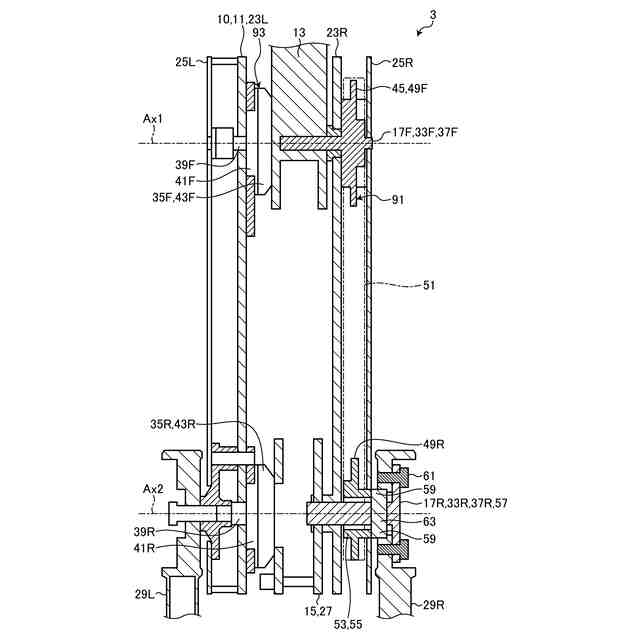
図7は、実施形態の折り畳み装置の一部を示す例示的かつ模式的な断面図である。
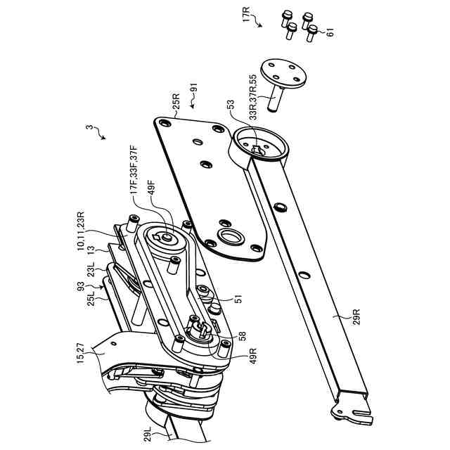
図8は、実施形態の折り畳み装置の一部を示す例示的かつ模式的な分解斜視図示す図である。
図9は、実施形態の折り畳み装置車両を示す例示的かつ模式的な分解斜視図である。
図10は、実施形態の折り畳み装置の一部を示す例示的かつ模式的な斜視図である。
図11は、実施形態の折り畳み装置の一部を示す例示的かつ模式的な側面図である。
図12は、実施形態の折り畳み装置の一部を示す例示的かつ模式的な斜視図である。
図13は、実施形態の折り畳み装置の一部を示す例示的かつ模式的な側面図である。
図14は、実施形態の折り畳み装置の動きを説明するための図である。
図15は、実施形態の折り畳み装置の一部を示す例示的かつ模式的な斜視図である。
図16は、実施形態の折り畳み装置の一部を示す例示的かつ模式的な斜視図である。
図17は、実施形態の折り畳み装置の一部を示す例示的かつ模式的な斜視図である。
図18は、実施形態の折り畳み装置の一部を示す例示的かつ模式的な斜視図である。
図19は、実施形態の折り畳み装置の一部を示す例示的かつ模式的な斜視図である。
図20は、実施形態の折り畳み装置の一部を示す例示的かつ模式的な斜視図である。
図21は、実施形態の折り畳み装置の一部の動作を説明するための図であって、図2の手順に対応する状態を示す図である。
図22は、実施形態の折り畳み装置の一部の動作を説明するための図であって、図3の手順に対応する状態を示す図である。
図23は、実施形態の折り畳み装置の一部の動作を説明するための図であって、図4の手順に対応する状態を示す図である。
図24は、実施形態の折り畳み装置の一部の動作を説明するための図であって、図5の手順に対応する状態を示す図である。
図25は、実施形態の折り畳み装置の一部の動作を説明するための図である。
図26は、実施形態の折り畳み装置の操作部材を示す例示的かつ模式的な側面図である。
図27は、実施形態の折り畳み装置の操作部材の一部を示す例示的かつ模式的な側面図である。
図28は、実施形態の折り畳み装置の操作部材及びピンの動作を説明するための図である。
【発明を実施するための形態】
【0009】
以下、本開示の実施形態を図面に基づいて説明する。以下に記載する実施形態の構成、ならびに当該構成によってもたらされる作用及び効果は、あくまで一例であって、以下の記載内容に限られるものではない。
【0010】
なお、図面は模式的なものであり、各要素の寸法の関係、各要素の比率等は、現実と異なる場合がある。また、図面の相互間においても、互いの寸法の関係や比率が異なる部分が含まれている場合がある。
(【0011】以降は省略されています)
この特許をJ-PlatPat(特許庁公式サイト)で参照する
関連特許
株式会社アイシン
車両用駆動装置
2日前
株式会社アイシン
車両用駆動伝達装置
2日前
株式会社アイシン
車両用駆動伝達装置
3日前
株式会社アイシン
ペロブスカイト太陽電池
1日前
株式会社アイシン
静電容量センサシステム
1日前
株式会社アイシン
バルブ装置の学習装置及び学習方法
3日前
株式会社アイシン
バルブ制御装置及びバルブ制御方法
3日前
株式会社アイシン
ホール輸送材料およびホール輸送材料を用いた太陽電池
8日前
株式会社アイシン
ホール輸送材料およびホール輸送材料を用いた太陽電池
10日前
株式会社アイシン
ペロブスカイト太陽電池及びペロブスカイト太陽電池の製造方法
14日前
ミクロエース株式会社
被覆銅材の剥離処理方法、処理装置、処理装置制御部およびプログラム
8日前
個人
カート
4か月前
個人
走行装置
4か月前
個人
三輪バイク
15日前
個人
乗り物
6か月前
個人
電動走行車両
4か月前
個人
駐輪設備
2か月前
個人
自転車用歩数計
23日前
個人
電動モビリティ
8か月前
個人
発音装置
8か月前
個人
閂式ハンドル錠
4か月前
個人
折り畳み自転車
11か月前
個人
ボギー・フレーム
2か月前
個人
“zen-go.”
3か月前
個人
三輪電動車両
23日前
個人
体重掛けリフト台車
11か月前
個人
ルーフ付きトライク
3か月前
個人
自由方向乗車自転車
8か月前
個人
ルーフ付きトライク
2か月前
個人
キャンピングトライク
9か月前
個人
パワーアシスト自転車
2か月前
個人
車の室内高温防止屋根
1日前
個人
自転車用荷物台
11か月前
井関農機株式会社
作業車両
8日前
個人
ステアリングの操向部材
9か月前
個人
フロントフットブレーキ。
4か月前
続きを見る
他の特許を見る