TOP
|
特許
|
意匠
|
商標
特許ウォッチ
Twitter
他の特許を見る
公開番号
2025150735
公報種別
公開特許公報(A)
公開日
2025-10-09
出願番号
2024051783
出願日
2024-03-27
発明の名称
検知装置
出願人
株式会社アイシン
代理人
弁理士法人酒井国際特許事務所
主分類
G08B
21/22 20060101AFI20251002BHJP(信号)
要約
【課題】夜間等の周囲の環境に影響されることなく車両の状況をモニタすることができる。
【解決手段】検知装置は、車両の車室内に向けて送信した送信波が、車室内で移動している物体により反射された反射波に基づいて、車室内で移動している物体の位置を表す1つ以上の検知点を点群として示した点群の時系列データを取得する取得部と、点群の時系列データに基づいて時間経過とともに移動していく点群の挙動を解析する演算部と、点群の挙動に基づいて、車室に対する物体の出入りが生じているか否かを判定する判定部と、を備える。
【選択図】図5
特許請求の範囲
【請求項1】
車両の車室内に向けて送信した送信波が、前記車室内で移動している物体により反射された反射波に基づいて、前記車室内で移動している前記物体の位置を表す1つ以上の検知点を点群として示した点群の時系列データを取得する取得部と、
前記点群の時系列データに基づいて時間経過とともに移動していく前記点群の挙動を解析する演算部と、
前記点群の挙動に基づいて、前記車室に対する前記物体の出入りが生じているか否かを判定する判定部と、を備える、
検知装置。
続きを表示(約 200 文字)
【請求項2】
前記判定部は、
前記点群が、前記車室の内外に連通する出入口を起点として前記車室の内奥へと向かう挙動を示している場合、前記車室内への前記物体の進入が生じていると判定する、
請求項1に記載の検知装置。
【請求項3】
前記車室内への前記物体の進入が生じていると判定した場合、警報を出力する出力部を更に備える、
請求項2に記載の検知装置。
発明の詳細な説明
【技術分野】
【0001】
本発明の実施形態は、検知装置に関する。
続きを表示(約 1,500 文字)
【背景技術】
【0002】
車両の内外を監視するため、例えば特許文献1においては、凸面鏡を有する監視カメラを車両に設けている。しかしながら、監視カメラを用いた場合、例えば夜間において検知対象を認識することが困難である。
【先行技術文献】
【特許文献】
【0003】
特開2004-026144号公報
【発明の概要】
【発明が解決しようとする課題】
【0004】
本発明は、上記に鑑みてなされたものであって、夜間等の周囲の環境に影響されることなく車両の状況をモニタすることができる検知装置を提供することである。
【課題を解決するための手段】
【0005】
実施形態の検知装置は、車両の車室内に向けて送信した送信波が、前記車室内で移動している物体により反射された反射波に基づいて、前記車室内で移動している前記物体の位置を表す1つ以上の検知点を点群として示した点群の時系列データを取得する取得部と、前記点群の時系列データに基づいて時間経過とともに移動していく前記点群の挙動を解析する演算部と、前記点群の挙動に基づいて、前記車室に対する前記物体の出入りが生じているか否かを判定する判定部と、を備える。
【0006】
実施形態の検知装置は、夜間等の周囲の環境に影響されることなく車両の状況をモニタすることができる。
【図面の簡単な説明】
【0007】
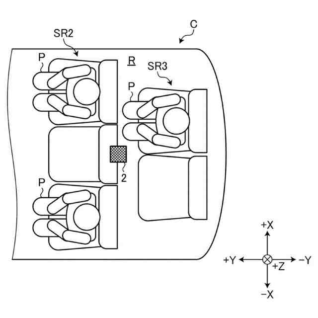
図1は、実施形態にかかる検知システムが搭載される車両の車室内の構成の一例を示す透視側面図である。
図2は、実施形態にかかる検知システムが搭載される車両の車室内の構成の一例を示す透視上面図である。
図3は、実施形態にかかる検知システムのハードウェア構成の一例を示すブロック図である。
図4は、実施形態にかかる検知システムの機能構成の一例を示すブロック図である。
図5は、実施形態にかかる検知システムによる判定手法についての説明図である。
図6は、実施形態にかかる検知システムによる判定手法についての説明図である。
図7は、実施形態にかかる検知システムによる判定手法についての説明図である。
図8は、実施形態にかかる検知装置による検知処理の手順の一例を示すフロー図である。
【発明を実施するための形態】
【0008】
以下、本発明の例示的な実施形態が開示される。以下に示される実施形態の構成、並びに当該構成によりもたらされる作用、結果、及び効果は、一例である。本発明は、以下の実施形態に開示される構成以外によりも実現可能であるとともに、基本的な構成に基づく種々の効果や派生的な効果のうち、少なくとも1つを得ることが可能である。
【0009】
(検知システムの構成例)
図1は、実施形態にかかる検知システム1が搭載される車両Cの車室R内の構成の一例を示す透視側面図である。図2は、実施形態にかかる検知システム1が搭載される車両Cの車室R内後部の構成の一例を示す透視上面図である。
【0010】
図中、+X方向は車両Cの左右方向中心部から右側へ向かう方向であり、-X方向は車両Cの左右方向中心部から左側へ向かう方向である。車両Cの左右方向は運転席から見た方向である。+Y方向は車両Cの前後方向中心部から後方へ向かう方向であり、-Y方向は車両Cの前後方向中心部から前方へ向かう方向である。+Z方向は、車両Cの天井5から下方へ向かう方向である。
(【0011】以降は省略されています)
この特許をJ-PlatPat(特許庁公式サイト)で参照する
関連特許
株式会社アイシン
ロータ
29日前
株式会社アイシン
ロータ
27日前
株式会社アイシン
ロータ
23日前
株式会社アイシン
電子機器
28日前
株式会社アイシン
歯車機構
23日前
株式会社アイシン
ステータ
27日前
株式会社アイシン
ステータ
27日前
株式会社アイシン
回転電機
1か月前
株式会社アイシン
ステータ
27日前
株式会社アイシン
制御装置
28日前
株式会社アイシン
制御装置
28日前
株式会社アイシン
制御装置
28日前
株式会社アイシン
駆動装置
28日前
株式会社アイシン
ステータ
27日前
株式会社アイシン
保護装置
28日前
株式会社アイシン
検知装置
28日前
株式会社アイシン
回転電機
1か月前
株式会社アイシン
レーダ装置
28日前
株式会社アイシン
超音波センサ
29日前
株式会社アイシン
衝撃吸収部材
28日前
株式会社アイシン
運転支援装置
28日前
株式会社アイシン
電解システム
29日前
株式会社アイシン
案内システム
28日前
株式会社アイシン
運転支援装置
27日前
株式会社アイシン
運転支援装置
28日前
株式会社アイシン
センサ固定具
29日前
株式会社アイシン
超音波センサ
29日前
株式会社アイシン
車両制御装置
28日前
株式会社アイシン
乗員検知装置
28日前
株式会社アイシン
電解システム
28日前
株式会社アイシン
ドア支持装置
27日前
株式会社アイシン
出庫支援装置
28日前
株式会社アイシン
運転支援装置
27日前
株式会社アイシン
車両制御装置
27日前
株式会社アイシン
駐車支援装置
1か月前
株式会社アイシン
折り畳み装置
27日前
続きを見る
他の特許を見る