TOP
|
特許
|
意匠
|
商標
特許ウォッチ
Twitter
他の特許を見る
10個以上の画像は省略されています。
公開番号
2025147536
公報種別
公開特許公報(A)
公開日
2025-10-07
出願番号
2024047827
出願日
2024-03-25
発明の名称
回転電機
出願人
株式会社アイシン
代理人
個人
,
個人
,
個人
主分類
H02K
9/19 20060101AFI20250930BHJP(電力の発電,変換,配電)
要約
【課題】コイルエンド部を覆うコイルエンドカバーにより冷媒空間を形成する構成において、スロット内への冷媒空間内の冷媒の流入を最小化しつつ、ステータコアに対する端面カバーの必要な固定強度を確保する。
【解決手段】鉄心コアと、発泡された発泡材料により形成され、鉄心コアにおける複数のティース部の間に形成される複数のスロットに配置される発泡絶縁体と、コイル線と、コイルエンド部を、軸方向外側、径方向内側、及び径方向外側から覆う第1カバー部材と、鉄心コアの軸方向端面を覆い、かつ、複数のスロットに対応する周方向位置にコイル線が軸方向に通る貫通孔を有する第2カバー部材と、第1カバー部材と第2カバー部材との間に冷媒空間と、を備え、第1カバー部材と第2カバー部材とは互いに結合され、発泡絶縁体は、貫通孔の内周壁に接合する態様で、鉄心コアの軸方向端面よりも軸方向外側で終端する、回転電機が開示される。
【選択図】図3
特許請求の範囲
【請求項1】
複数のティース部を有する鉄心コアと、
発泡された発泡材料により形成され、前記鉄心コアにおける複数の前記ティース部の間に形成される複数のスロットに配置される発泡絶縁体と、
前記複数のスロット内において前記発泡絶縁体に囲まれる態様で前記鉄心コアに巻装され、前記鉄心コアの軸方向端面に対して軸方向外側にコイルエンド部を形成するコイル線と、
前記コイルエンド部を、軸方向外側、径方向内側、及び径方向外側から覆う第1カバー部材と、
前記鉄心コアの軸方向端面を覆い、かつ、前記複数のスロットに対応する周方向位置に前記コイル線が軸方向に通る貫通孔を有する第2カバー部材と、
前記第1カバー部材と前記第2カバー部材との間に冷媒空間と、を備え、
前記第1カバー部材と前記第2カバー部材とは互いに結合され、
前記発泡絶縁体は、前記貫通孔の内周壁に接合する態様で、前記鉄心コアの軸方向端面よりも軸方向外側で終端する、回転電機。
続きを表示(約 260 文字)
【請求項2】
前記発泡絶縁体は、前記貫通孔の軸方向外側端部位置と同じ軸方向位置又は前記貫通孔の軸方向外側端部位置よりも軸方向内側の軸方向位置で、終端する、請求項1に記載の回転電機。
【請求項3】
前記発泡絶縁体は、前記スロットの径方向の開口を塞ぐ、請求項1に記載の回転電機。
【請求項4】
前記発泡絶縁体は、発泡前はスロット紙の形態であり、スロット紙の端部同士をスロット内の径方向外側でオーバーラップさせて形成される、請求項1から3のうちのいずれか1項に記載の回転電機。
発明の詳細な説明
【技術分野】
【0001】
本開示は、回転電機に関する。
続きを表示(約 2,000 文字)
【背景技術】
【0002】
コイルエンド部を覆うコイルエンドカバーと、ステータコアの軸方端面を覆う端面カバーとを係合させ、コイルエンドカバーと端面カバーとの間に冷媒空間を形成する技術が知られている。
【先行技術文献】
【特許文献】
【0003】
特開2005-348594号公報
【発明の概要】
【発明が解決しようとする課題】
【0004】
しかしながら、上記のような従来技術では、コイルエンド部の冷媒空間内の冷媒が、端面カバーの貫通孔を介してスロット内に入ることを積極的に許容する構造であり、かかるスロット内への冷媒の流入を最小化する構造に適用することができない。また、上記のような従来技術では、ステータコアに対する端面カバーの固定方法に難があり、ステータコアに対する端面カバーの必要な固定強度を確保することが難しい。
【0005】
そこで、1つの側面では、本開示は、コイルエンド部を覆うコイルエンドカバーにより冷媒空間を形成する構成において、スロット内への冷媒空間内の冷媒の流入を最小化しつつ、ステータコアに対する端面カバーの必要な固定強度を確保することを目的とする。
【課題を解決するための手段】
【0006】
1つの側面では、複数のティース部を有する鉄心コアと、
発泡された発泡材料により形成され、前記鉄心コアにおける複数の前記ティース部の間に形成される複数のスロットに配置される発泡絶縁体と、
前記複数のスロット内において前記発泡絶縁体に囲まれる態様で前記鉄心コアに巻装され、前記鉄心コアの軸方向端面に対して軸方向外側にコイルエンド部を形成するコイル線と、
前記コイルエンド部を、軸方向外側、径方向内側、及び径方向外側から覆う第1カバー部材と、
前記鉄心コアの軸方向端面を覆い、かつ、前記複数のスロットに対応する周方向位置に前記コイル線が軸方向に通る貫通孔を有する第2カバー部材と、
前記第1カバー部材と前記第2カバー部材との間に冷媒空間と、を備え、
前記第1カバー部材と前記第2カバー部材とは互いに結合され、
前記発泡絶縁体は、前記貫通孔の内周壁に接合する態様で、前記鉄心コアの軸方向端面よりも軸方向外側で終端する、回転電機が提供される。
【発明の効果】
【0007】
1つの側面では、本開示によれば、コイルエンド部を覆うコイルエンドカバーにより冷媒空間を形成する構成において、スロット内への冷媒空間内の冷媒の流入を最小化しつつ、ステータコアに対する端面カバーの必要な固定強度を確保することが可能となる。
【図面の簡単な説明】
【0008】
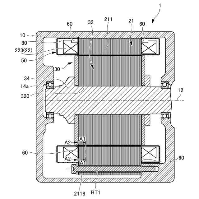
一実施例によるモータの断面構造を概略的に示す断面図である。
ステータコアの一部の断面図である。
図1のラインA-Aに沿ったステータの断面図である。
モータケースから取り出した状態のステータの斜視図である。
回転軸を通る平面によるステータの断面図であって、スロットが存在しない周方向位置での断面図である。
回転軸に垂直な平面によるステータの断面図であって、コア端面カバーを通る平面による断面図である。
軸方向外側から視たコイルエンドカバーの単品状態の斜視図である。
軸方向内側から視たコイルエンドカバーの単品状態の斜視図である。
軸方向外側から視たコア端面カバーの単品状態の斜視図である。
軸方向内側から視たコア端面カバーの単品状態の斜視図である。
コイルエンドカバーとコア端面カバーの結合構造のうちの、第1スナップフィット部を拡大して示す斜視図である。
コイルエンドカバーとコア端面カバーの結合構造のうちの、第2スナップフィット部を拡大して示す斜視図である。
回転軸を通る平面によるステータの断面図であって、スロットを通る周方向位置での断面図である。
図12のB部の拡大図である。
図12のラインC-Cに沿った断面図である。
【発明を実施するための形態】
【0009】
以下、添付図面を参照しながら各実施例について詳細に説明する。なお、図面の寸法比率はあくまでも一例であり、これに限定されるものではなく、また、図面内の形状等は、説明の都合上、部分的に誇張している場合がある。また、図面では、見易さのために、複数存在する同一属性の部位には、一部のみしか参照符号が付されていない場合がある。
【0010】
図1は、一実施例によるモータ1の断面構造を概略的に示す断面図である。図2は、ステータコア211の一部の断面図である。図3は、図1のラインA-Aに沿ったステータ21の断面図である。
(【0011】以降は省略されています)
この特許をJ-PlatPat(特許庁公式サイト)で参照する
関連特許
株式会社アイシン
車両
20日前
株式会社アイシン
車両
20日前
株式会社アイシン
潤滑油
5日前
株式会社アイシン
粉砕機
7日前
株式会社アイシン
熱交換器
20日前
株式会社アイシン
熱交換器
20日前
株式会社アイシン
キックセンサ
1か月前
株式会社アイシン
ヒートシンク
1か月前
株式会社アイシン
電力変換装置
1か月前
株式会社アイシン
焼き入れ方法
5日前
株式会社アイシン
焼き入れ方法
5日前
株式会社アイシン
動力変換装置
20日前
株式会社アイシン
操作検出装置
14日前
株式会社アイシン
車両用駆動装置
1か月前
株式会社アイシン
車両用駆動装置
20日前
株式会社アイシン
回転角検出装置
20日前
株式会社アイシン
車両用ドア装置
1か月前
株式会社アイシン
車両用駆動装置
1か月前
株式会社アイシン
冷却モジュール
1か月前
株式会社アイシン
ドアロック装置
1か月前
株式会社アイシン
位置姿勢取得装置
13日前
株式会社アイシン
情報検索システム
今日
株式会社アイシン
ステータユニット
1日前
株式会社アイシン
情報検索システム
今日
株式会社アイシン
複合歯車の製造方法
12日前
株式会社アイシン
車両用駆動伝達装置
20日前
株式会社アイシン
車両用駆動伝達装置
1か月前
株式会社アイシン
車両用駆動伝達装置
1か月前
株式会社アイシン
二酸化炭素回収システム
13日前
株式会社アイシン
ペロブスカイト太陽電池
1か月前
株式会社アイシン
静電容量センサシステム
1か月前
株式会社アイシン
ペロブスカイト太陽電池
5日前
株式会社アイシン
車両用のドアロック装置
1か月前
株式会社アイシン
硬化性組成物及びその硬化物
今日
株式会社アイシン
ペロブスカイト太陽電池の製造方法
21日前
株式会社アイシン
バルブ制御装置及びバルブ制御方法
1か月前
続きを見る
他の特許を見る