TOP
|
特許
|
意匠
|
商標
特許ウォッチ
Twitter
他の特許を見る
10個以上の画像は省略されています。
公開番号
2025154364
公報種別
公開特許公報(A)
公開日
2025-10-10
出願番号
2024057309
出願日
2024-03-29
発明の名称
生体情報検出装置
出願人
株式会社アイシン
代理人
弁理士法人酒井国際特許事務所
主分類
A61B
5/0245 20060101AFI20251002BHJP(医学または獣医学;衛生学)
要約
【課題】生体情報を高精度に検出すること。
【解決手段】生体情報検出装置は、人の体動に関する情報を検出するセンサと、前記センサによる前記体動に関する情報の検出信号を周波数解析する周波数解析部と、周波数解析の結果に基づいたフィルタを生成し、生成されたフィルタを前記検出信号に対して適用するフィルタ処理部と、前記フィルタの適用後の検出信号のピークに対応する前記フィルタの適用前の検出信号に基づいて、心拍の間隔である生体情報を検出する検出部と、を備える。
【選択図】図4
特許請求の範囲
【請求項1】
人の体動に関する情報を検出するセンサと、
前記センサによる前記体動に関する情報の検出信号を周波数解析する周波数解析部と、
周波数解析の結果に基づいたフィルタを生成し、生成されたフィルタを前記検出信号に対して適用するフィルタ処理部と、
前記フィルタの適用後の検出信号のピークに対応する前記フィルタの適用前の検出信号に基づいて、心拍の間隔である生体情報を検出する検出部と、
を備える生体情報検出装置。
続きを表示(約 1,700 文字)
【請求項2】
前記体動の基本周波数を推定する推定部、をさらに備え、
前記フィルタ処理部は、推定された前記基本周波数に基づく帯域である基本周波数帯域と、前記基本周波数帯域より高い周波数の帯域である高調波帯域における所定範囲の帯域と、を通過帯域とする前記フィルタを生成し、前記検出信号に対して、生成された前記フィルタを適用する、
請求項1に記載の生体情報検出装置。
【請求項3】
前記フィルタ処理部は、前記基本周波数帯域および前記高調波帯域ごとに、前記検出信号の信号雑音比を求め、前記信号雑音比が第1の閾値以上である帯域のみを前記通過帯域とする前記フィルタを生成する、
請求項2に記載の生体情報検出装置。
【請求項4】
前記フィルタ処理部は、前記基本周波数帯域と、前記高調波帯域のうち、前記センサの周波数応答特性に応じた帯域と、を前記通過帯域とする前記フィルタを生成する、
請求項2に記載の生体情報検出装置。
【請求項5】
前記推定部は、前記基本周波数が存在すると想定される帯域である想定心拍基本周波数帯域における前記検出信号の信号雑音比が、第2の閾値未満である場合に、前記基本周波数より高い周波数が存在すると想定される帯域である想定心拍高調波帯域で、前記検出信号の周波数領域信号のピークを検出し、前記想定心拍高調波帯域で検出されたピークの周波数に基づいて、前記基本周波数を推定する、
をさらに備える請求項2に記載の生体情報検出装置。
【請求項6】
前記推定部は、前記想定心拍高調波帯域として、前記想定心拍基本周波数帯域の整数倍の帯域で、前記検出信号の周波数領域信号のピークを検出し、前記想定心拍高調波帯域で検出されたピークの周波数の差から逆算して前記基本周波数を推定する、
請求項5に記載の生体情報検出装置。
【請求項7】
前記推定部は、前記検出信号の周波数領域信号から呼吸による体動を呼吸体動情報として検出し、検出された前記呼吸体動情報と、前記想定心拍基本周波数帯域または前記想定心拍高調波帯域で検出されたピークの周波数と、に基づいて、前記体動の基本周波数を推定する、
請求項5に記載の生体情報検出装置。
【請求項8】
前記推定部は、前記呼吸体動情報として、呼吸の基本周波数を検出し、検出された前記呼吸の基本周波数及び前記呼吸の基本周波数に対する呼吸高調波と、前記想定心拍基本周波数帯域で検出されたピークの周波数と、が重なるか否かを判断し、重ならない場合に、前記想定心拍基本周波数帯域で検出されたピークの周波数を、前記検出信号の基本周波数として推定し、重なる場合に、前記想定心拍基本周波数帯域から、前記呼吸の基本周波数および前記呼吸高調波と重ならないピークの周波数を検出し前記体動の基本周波数として推定する、
請求項7に記載の生体情報検出装置。
【請求項9】
前記検出部は、前記フィルタの適用後の検出信号におけるピークである第1のピークのそれぞれに対して、前記フィルタの適用前の検出信号における、前記第1のピークの時刻の直前のピークである第2のピークと、前記フィルタの適用前の検出信号における、前記第1のピークの時刻の直後におけるピークである第3のピークと、のそれぞれの位置に応じて、前記検出信号のピークの配列を前記生体情報として検出する、
請求項2に記載の生体情報検出装置。
【請求項10】
前記検出部は、前記第1のピークのそれぞれにおいて、前記第1のピークの位置が、前記第2のピークと前記第3のピークとの間隔の中央位置から所定距離より離れている場合に、前記第2のピークと前記第3のピークのうち前記第1のピークに最も近いピークを前記検出信号のピークとし、前記検出信号のピークの配列を前記生体情報として検出する、
請求項9に記載の生体情報検出装置。
(【請求項11】以降は省略されています)
発明の詳細な説明
【技術分野】
【0001】
本発明は、生体情報検出装置に関する。
続きを表示(約 1,800 文字)
【背景技術】
【0002】
従来から、人の体動を取得して生体情報を検出する技術が知られている。例えば、特許文献1には、周波数変換により、0.5~2Hzの区間で最大のピークを基本周波数とし、基本周波数の4倍の周波数である4倍波までの高調波帯域を通過帯域とするフィルタを用いて、当該通過帯域の心拍信号の逆変換により心拍の波形を抽出する技術が開示されている。
【先行技術文献】
【特許文献】
【0003】
特開2009-22638号公報
【発明の概要】
【発明が解決しようとする課題】
【0004】
しかしながら、この従来技術では、高調波帯域にちょうど雑音が重畳する場合や、体質やセンサの接触によって特定の高調波成分の信号の強度が不十分である場合において、フィルタ適用後の後の信号波形の信号雑音比が劣化してしまう。また、この従来技術では、基本周波数の近傍に雑音が重畳した場合、正しく基本周波数を推定できない。このため、従来技術では、心拍等の生体情報を高精度に検出することが困難な場合があった。
【0005】
本発明は、上記に鑑みてなされたものであって、生体情報を高精度に検出することができる生体情報検出装置および生体情報検出方法を提供することを目的の一つとする。
【課題を解決するための手段】
【0006】
本発明に係る生体情報検出装置は、人の体動に関する情報を検出するセンサと、前記センサによる前記体動に関する情報の検出信号を周波数解析する周波数解析部と、周波数解析の結果に基づいたフィルタを生成し、生成されたフィルタを前記検出信号に対して適用するフィルタ処理部と、前記フィルタの適用後の検出信号のピークに対応する前記フィルタの適用前の検出信号に基づいて、心拍の間隔である生体情報を検出する検出部と、を備える。
【発明の効果】
【0007】
本発明に係る生体情報検出装置によれば、生体情報を高精度に検出することができる。
【図面の簡単な説明】
【0008】
図1は、第1実施形態に係る車両の構成の一例を示す図である。
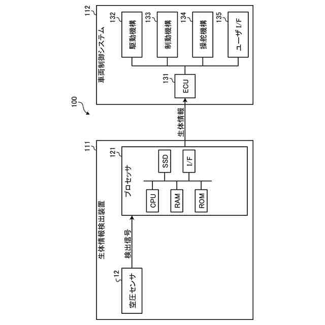
図2は、第1の実施形態に係る空圧センサの構成の一例を示す図である。
図3は、第1実施形態に係る生体情報検出システムのシステム構成及びハードウェア構成の一例を示すブロック図である。
図4は、第1実施形態の生体情報検出装置の機能構成の一例を示す図である。
図5は、第1の実施形態に係る生体情報検出処理の手順の一例を示すフローチャートである。
図6は、第1の実施形態に係る周波数解析結果の波形の一例を示す図である。
図7は、第1の実施形態に係る基本周波数推定処理の手順の一例を示すフローチャートである。
図8は、第1の実施形態に係るフィルタ処理の手順の一例を示すフローチャートである。
図9は、第1の実施形態に係るピーク検出処理の手順の一例を示すフローチャートである。
図10は、第1の実施形態に係るフィルタ適用前の検出信号とフィルタ適用後の検出信号とを対比して示す図である。
図11は、第1の実施形態に係るピーク補正処理の手順の一例を示すフローチャートである。
図12は、第2の実施形態に係る生体情報検出処理の手順の一例を示すフローチャートである。
図13は、第2の実施形態に係る基本周波数推定処理の手順の一例を示すフローチャートである。
【発明を実施するための形態】
【0009】
以下、本発明の例示的な実施形態が開示される。以下に示される実施形態の構成、並びに当該構成によってもたらされる作用、結果及び効果は、一例である。本発明は、以下の実施形態に開示される構成以外によっても実現可能であるとともに、基本的な構成に基づく種々の効果や、派生的な効果のうち、少なくとも一つを得ることが可能である。
【0010】
(第1実施形態)
図1は、第1実施形態に係る車両1の構成の一例を示す図である。車両1は、生体情報検出装置が搭載される移動体の一例である。本実施形態に係る生体情報検出装置は、車両1を運転している運転者2と運転者2以外を含む乗員の状態を推定する。図1の例では、運転者2の状態を検出する例を示している。
(【0011】以降は省略されています)
特許ウォッチbot のツイートを見る
この特許をJ-PlatPat(特許庁公式サイト)で参照する
関連特許
株式会社アイシン
車両
3日前
株式会社アイシン
車両
3日前
株式会社アイシン
熱交換器
3日前
株式会社アイシン
熱交換器
3日前
株式会社アイシン
ヒートシンク
16日前
株式会社アイシン
キックセンサ
16日前
株式会社アイシン
電力変換装置
16日前
株式会社アイシン
動力変換装置
3日前
株式会社アイシン
車両用駆動装置
18日前
株式会社アイシン
冷却モジュール
16日前
株式会社アイシン
車両用ドア装置
16日前
株式会社アイシン
車両用駆動装置
16日前
株式会社アイシン
車両用駆動装置
3日前
株式会社アイシン
回転角検出装置
3日前
株式会社アイシン
車両用駆動伝達装置
3日前
株式会社アイシン
車両用駆動伝達装置
18日前
株式会社アイシン
車両用駆動伝達装置
19日前
株式会社アイシン
車両用のドアロック装置
16日前
株式会社アイシン
ペロブスカイト太陽電池
17日前
株式会社アイシン
静電容量センサシステム
17日前
株式会社アイシン
バルブ制御装置及びバルブ制御方法
19日前
株式会社アイシン
ペロブスカイト太陽電池の製造方法
4日前
株式会社アイシン
バルブ装置の学習装置及び学習方法
19日前
株式会社アイシン
水性エマルジョン系制振塗料組成物及びその硬化塗膜
16日前
株式会社アイシン
ホール輸送材料およびホール輸送材料を用いた太陽電池
26日前
株式会社アイシン
ホール輸送材料およびホール輸送材料を用いた太陽電池
24日前
ミクロエース株式会社
被覆銅材の剥離処理方法、処理装置、処理装置制御部およびプログラム
24日前
個人
貼付剤
27日前
個人
簡易担架
9日前
個人
腋臭防止剤
9日前
個人
短下肢装具
4か月前
個人
足踏み器具
16日前
個人
排尿補助器具
1か月前
個人
嚥下鍛錬装置
4か月前
個人
洗井間専家。
8か月前
個人
白内障治療法
8か月前
続きを見る
他の特許を見る