TOP
|
特許
|
意匠
|
商標
特許ウォッチ
Twitter
他の特許を見る
10個以上の画像は省略されています。
公開番号
2025171793
公報種別
公開特許公報(A)
公開日
2025-11-20
出願番号
2024077466
出願日
2024-05-10
発明の名称
回転角検出装置
出願人
株式会社アイシン
代理人
個人
,
個人
主分類
G01D
5/20 20060101AFI20251113BHJP(測定;試験)
要約
【課題】第1誘導型回転角度センサおよび第2誘導型回転角度センサを用いた冗長構成に起因する装置の軸方向の大型化を抑制することが可能な回転角検出装置を提供する。
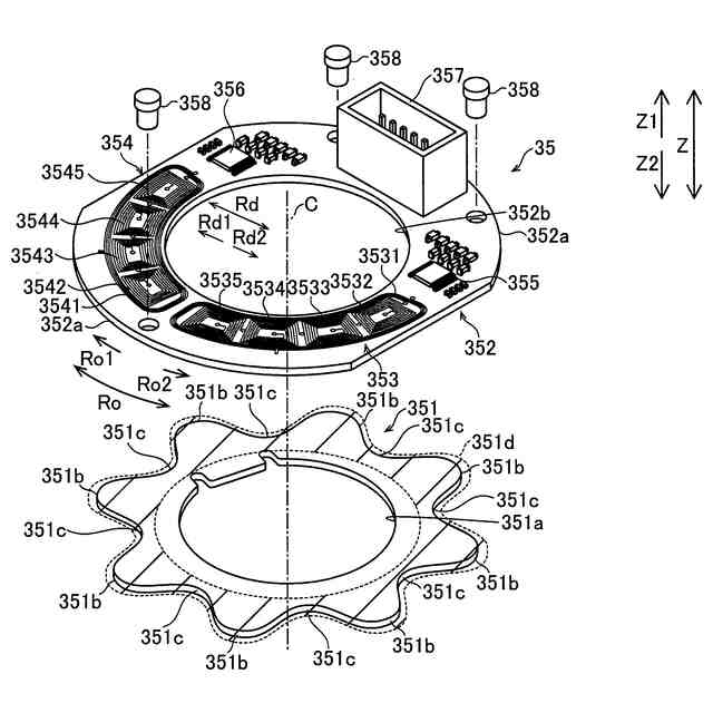
【解決手段】この回転角検出装置35は、回転体351の回転角度を取得するために検出された正弦波および余弦波を別個に出力する第1誘導型回転角度センサ353および第2誘導型回転角度センサ354と、基板352とを備える。第2誘導型回転角度センサ354は、回転中心軸線Cの周方向Roにおいて、第1誘導型回転角度センサ353の第2誘導型回転角度センサ354と反対側の端部Ed1に対して、回転体351の正弦波形状の2周期分離れたPe2位置よりも近い位置に第1誘導型回転角度センサ353側の端部Ed2を配置した状態で、第1誘導型回転角度センサ353と並んで基板352の表面に配置されている。
【選択図】図2
特許請求の範囲
【請求項1】
回転中心軸線回りに回転可能に構成されており、前記回転中心軸線の径方向の外側に突出した山部を含む正弦波形状を有する回転体と、
前記回転体に対して磁界を発生させる励磁コイルと、前記回転中心軸線の軸方向において前記回転体の正弦波形状と対向し、前記回転体の回転に伴う磁界の変化を正弦波および余弦波として検出する検出コイルとを含み、前記回転体の回転角度を取得するために検出された正弦波および余弦波を別個に出力する第1誘導型回転角度センサおよび第2誘導型回転角度センサと、
基板とを備え、
前記第2誘導型回転角度センサは、前記回転中心軸線の周方向において、前記第1誘導型回転角度センサの前記第2誘導型回転角度センサと反対側の端部に対して、前記回転体の正弦波形状の2周期分離れた位置よりも近い位置に前記第1誘導型回転角度センサ側の端部を配置した状態で、前記第1誘導型回転角度センサと並んで前記基板の表面に配置されている、回転角検出装置。
続きを表示(約 1,500 文字)
【請求項2】
前記第1誘導型回転角度センサおよび前記第2誘導型回転角度センサの各々の前記検出コイルは、前記回転体の正弦波形状の1/4周期分だけずらすように、前記周方向のうち前記第1誘導型回転角度センサから前記第2誘導型回転角度センサに向かう一方向に並べた4つのコイル部を含み、
前記第2誘導型回転角度センサは、前記一方向において、前記第1誘導型回転角度センサの前記4つのコイル部の先頭のコイル部に対して、前記回転体の正弦波形状の1周期分離れた位置よりも1/4周期分以上離れた位置に先頭のコイル部を配置して前記4つのコイル部を並べた状態で、前記第1誘導型回転角度センサと隣接して配置されている、請求項1に記載の回転角検出装置。
【請求項3】
前記4つのコイル部は、前記回転体の正弦波形状の1/4周期分だけずらすように前記一方向に並べた、第1コイル部、第2コイル部、第3コイル部および第4コイル部を含み、
前記第1誘導型回転角度センサでは、前記第1コイル部、前記第2コイル部、前記第3コイル部および前記第4コイル部が、前記一方向に順に並べられており、
前記第2誘導型回転角度センサでは、前記回転体の正弦波形状の1周期分離れた位置よりも1/4周期分離れた位置に先頭のコイル部として前記第2コイル部を配置して、前記第2コイル部、前記第3コイル部、前記第4コイル部および前記第1コイル部が、前記一方向に順に並べられている、請求項2に記載の回転角検出装置。
【請求項4】
前記4つのコイル部は、前記回転体の正弦波形状の1/4周期分だけずらすように前記一方向に並べた、第1コイル部、第2コイル部、第3コイル部および第4コイル部を含み、
前記第1誘導型回転角度センサでは、前記第1コイル部、前記第2コイル部、前記第3コイル部および前記第4コイル部が、前記一方向に順に並べられており、
前記第2誘導型回転角度センサでは、前記回転体の正弦波形状の1周期分離れた位置よりも2/4周期分離れた位置に先頭のコイル部として前記第3コイル部を配置して、前記第3コイル部、前記第4コイル部、前記第1コイル部および前記第2コイル部が、前記一方向に順に並べられている、請求項2に記載の回転角検出装置。
【請求項5】
前記4つのコイル部は、前記回転体の正弦波形状の1/4周期分だけずらすように前記一方向に並べた、第1コイル部、第2コイル部、第3コイル部および第4コイル部を含み、
前記第1誘導型回転角度センサでは、前記第1コイル部、前記第2コイル部、前記第3コイル部および前記第4コイル部が、前記一方向に順に並べられており、
前記第2誘導型回転角度センサでは、前記回転体の正弦波形状の1周期分離れた位置よりも3/4周期分離れた位置に先頭のコイル部として前記第4コイル部を配置して、前記第4コイル部、前記第1コイル部、前記第2コイル部および前記第3コイル部が、前記一方向に順に並べられている、請求項2に記載の回転角検出装置。
【請求項6】
前記第1誘導型回転角度センサの前記励磁コイルおよび前記第2誘導型回転角度センサの前記励磁コイルに対して、互いに所定周波数だけ異なる周波数の電力を供給する電力供給部と、
前記検出コイルが検出した、前記励磁コイルから発生した磁界の変化の信号のうち、前記電力供給部から供給された互いに所定周波数だけ異なる周波数の電力に起因して発生する高周波成分を除去するとともに、低周波成分を通過させるフィルタ部とをさらに備える、請求項1に記載の回転角検出装置。
発明の詳細な説明
【技術分野】
【0001】
本発明は、回転角検出装置に関する。
続きを表示(約 2,800 文字)
【背景技術】
【0002】
従来、回転角検出装置が知られている(たとえば、特許文献1参照)。
【0003】
上記特許文献1には、回転角度センサが開示されている。この回転角度センサは、被検出部と、検出部と、角度演算回路部とを備えている。被検出部は、モータの回転出力軸に取り付けられている。被検出部は、回転出力軸と一体的に回転する。検出部は、回転出力軸の回転中心軸線の径方向の外側に被検出部に対向して配置されている。角度演算回路部は、検出部から出力される検出信号に基づいて、モータにおけるロータの回転角度を演算する回路である。このような、回転角度センサは、回転出力軸の回転中心軸線の延びる軸方向の異なる位置に並んで2つ配置されている。これにより、2つの回転角度センサは、2つの回転角度センサのうちの一方に不具合が生じた場合、2つの回転角度センサのうちの他方から出力される検出信号に基づくロータの回転角度の演算を行う冗長構成を実現している。
【0004】
また、特許文献2には、モータの回転角度を検出する回転角度検出センサが開示されている。回転角度検出センサは、回転体と、第1コイルと、複数の第2コイルと、基板とを備えている。回転体は、モータの出力シャフトとともに回転する。回転板の外周縁部は、山部と谷部とが交互に並ぶ正弦波形状に形成されている。第1コイルは、回転板の正弦波形状に向けて磁界を発生させるように構成されている。複数の第2コイルは、第1コイルから回転板の正弦波形状に向けて発生された磁界の変化を検出するように構成されている。回転角度検出センサでは、複数の第2コイルの各々の磁界の変化の検出値に基づいて、回転角度情報が取得される。基板には、第1コイルおよび複数の第2コイルが、形成されている。
【先行技術文献】
【特許文献】
【0005】
特許第5481236号公報
特許第7347123号公報
【発明の概要】
【発明が解決しようとする課題】
【0006】
しかしながら、上記特許文献1の2つの回転角度センサが、冗長構成を実現するため、回転出力軸の軸方向の異なる位置に並んで2つ配置されているので、モータが軸方向に大型化してしまう。ここで、上記特許文献2のような回転角度検出センサにおいて、軸方向の異なる位置に2つ並んで配置して冗長構成を実現した場合、第1コイルおよび複数の第2コイルが形成された基板と、回転体とを含む構成が、軸方向の異なる位置に2つ並んで配置されることになるので、モータが軸方向により大型化してしまう。この場合、モータの軸方向の大型化に起因して回転出力軸に接続される他の構成の配置位置が変更されることが考えられるので、モータの車両などへの搭載性が悪化することが考えられる。そこで、2つの回転角度センサ(第1誘導型回転角度センサおよび第2誘導型回転角度センサ)を用いた冗長構成に起因する装置の軸方向の大型化を抑制することが望まれている。
【0007】
この発明は、上記のような課題を解決するためになされたものであり、この発明の1つの目的は、第1誘導型回転角度センサおよび第2誘導型回転角度センサを用いた冗長構成に起因する装置の軸方向の大型化を抑制することが可能な回転角検出装置を提供することである。
【課題を解決するための手段】
【0008】
上記目的を達成するために、この発明の一の局面における回転角検出装置は、回転中心軸線回りに回転可能に構成されており、回転中心軸線の径方向の外側に突出した山部を含む正弦波形状を有する回転体と、回転体に対して磁界を発生させる励磁コイルと、回転中心軸線の軸方向において回転体の正弦波形状と対向し、回転体の回転に伴う磁界の変化を正弦波および余弦波として検出する検出コイルとを含み、回転体の回転角度を取得するために検出された正弦波および余弦波を別個に出力する第1誘導型回転角度センサおよび第2誘導型回転角度センサと、基板とを備え、第2誘導型回転角度センサは、回転中心軸線の周方向において、第1誘導型回転角度センサの第2誘導型回転角度センサと反対側の端部に対して、回転体の正弦波形状の2周期分離れた位置よりも近い位置に第1誘導型回転角度センサ側の端部を配置した状態で、第1誘導型回転角度センサと並んで基板の表面に配置されている。
【0009】
この発明の一の局面における回転角検出装置では、上記のように、第2誘導型回転角度センサは、回転中心軸線の周方向において、第1誘導型回転角度センサの第2誘導型回転角度センサと反対側の端部に対して、回転体の正弦波形状の2周期分離れた位置よりも近い位置に第1誘導型回転角度センサ側の端部を配置した状態で、第1誘導型回転角度センサと並んで基板の表面に配置されている。これにより、第1誘導型回転角度センサおよび第2誘導型回転角度センサを回転中心軸線の軸方向に並べて配置することにより冗長構成を実現する場合と比較して、回転角検出装置の軸方向の大型化を抑制することができるので、第1誘導型回転角度センサおよび第2誘導型回転角度センサを用いた冗長構成に起因する装置の軸方向の大型化を抑制することができる。また、回転角検出装置の軸方向の大型化を抑制することにより、回転角検出装置をモータに適用した場合のモータの軸方向の大型化を抑制することができる。その結果、軸方向の大型化に起因するモータに接続される他の構成の配置位置の変更を抑制することができるので、モータの車両などへの搭載性の悪化を抑制することができる。また、第1誘導型回転角度センサと第2誘導型回転角度センサとを周方向に並べるために必要な基板の配置スペースの増大を抑制することができるので、配置スペースの増大を抑制した分だけ基板を小型化することができる。
【0010】
上記一の局面による回転角検出装置において、好ましくは、第1誘導型回転角度センサおよび第2誘導型回転角度センサの各々の検出コイルは、回転体の正弦波形状の1/4周期分だけずらすように、周方向のうち第1誘導型回転角度センサから第2誘導型回転角度センサに向かう一方向に並べた4つのコイル部を含み、第2誘導型回転角度センサは、一方向において、第1誘導型回転角度センサの4つのコイル部の先頭のコイル部に対して、回転体の正弦波形状の1周期分離れた位置よりも1/4周期分以上離れた位置に先頭のコイル部を配置して4つのコイル部を並べた状態で、第1誘導型回転角度センサと隣接して配置されている。
(【0011】以降は省略されています)
特許ウォッチbot のツイートを見る
この特許をJ-PlatPat(特許庁公式サイト)で参照する
関連特許
株式会社アイシン
車両
2日前
株式会社アイシン
車両
2日前
株式会社アイシン
ロータ
1か月前
株式会社アイシン
ロータ
1か月前
株式会社アイシン
熱交換器
2日前
株式会社アイシン
ステータ
1か月前
株式会社アイシン
ステータ
1か月前
株式会社アイシン
熱交換器
2日前
株式会社アイシン
歯車機構
1か月前
株式会社アイシン
ステータ
1か月前
株式会社アイシン
ステータ
1か月前
株式会社アイシン
運転支援装置
1か月前
株式会社アイシン
環境認識装置
1か月前
株式会社アイシン
走行制御装置
1か月前
株式会社アイシン
折り畳み装置
1か月前
株式会社アイシン
ガス検出装置
1か月前
株式会社アイシン
牽引支援装置
1か月前
株式会社アイシン
折り畳み装置
1か月前
株式会社アイシン
折り畳み装置
1か月前
株式会社アイシン
キックセンサ
15日前
株式会社アイシン
牽引支援装置
1か月前
株式会社アイシン
折り畳み装置
1か月前
株式会社アイシン
車両制御装置
1か月前
株式会社アイシン
ドア支持装置
1か月前
株式会社アイシン
電力変換装置
15日前
株式会社アイシン
ヒートシンク
15日前
株式会社アイシン
運転支援装置
1か月前
株式会社アイシン
運転支援装置
1か月前
株式会社アイシン
動力変換装置
2日前
株式会社アイシン
車両用駆動装置
1か月前
株式会社アイシン
車両用ドア装置
1か月前
株式会社アイシン
車両用ドア装置
1か月前
株式会社アイシン
サンルーフ装置
1か月前
株式会社アイシン
車両用駆動装置
17日前
株式会社アイシン
回転角検出装置
2日前
株式会社アイシン
車両用駆動装置
2日前
続きを見る
他の特許を見る