TOP
|
特許
|
意匠
|
商標
特許ウォッチ
Twitter
他の特許を見る
10個以上の画像は省略されています。
公開番号
2025155826
公報種別
公開特許公報(A)
公開日
2025-10-14
出願番号
2025006623
出願日
2025-01-17
発明の名称
サンルーフ装置
出願人
株式会社アイシン
代理人
個人
,
個人
主分類
B60J
7/05 20060101AFI20251002BHJP(車両一般)
要約
【課題】車両の高速走行時における使い勝手を向上できるサンルーフ装置を提供する。
【解決手段】サンルーフ装置30において、可動パネル40は、ルーフ開口部24を覆うパネル本体41と、パネル本体41の幅方向における両端部から下方に延びるサイドリップ45cと、を有する。リアシュー110は、内壁140及び外壁150の双方を介してリアリンク220を変位させる動力をリアリンク220に伝達する。幅方向において、リアリンク220は、リアシュー110の内壁140及び外壁150の間に配置される。リアリンク220とリアシュー110の外壁150との間には、可動パネル40のサイドリップ45cを収容可能なリップ収容空間SPが存在している。
【選択図】図19
特許請求の範囲
【請求項1】
車両のルーフ開口部を全閉する全閉位置と、前記全閉位置よりも後端部が上昇するチルトアップ位置と、の間で作動する可動パネルと、
前後方向を長手方向とするガイドレールと、
前記可動パネルを支持し、前後方向を長手方向とする支持ブラケットと、
前記支持ブラケットの前端よりも後端に近い部分を支持した状態で、格納位置及び起立位置の間を変位するリアリンクと、
前記ガイドレールに沿って前後方向に移動することにより、前記リアリンクを駆動する駆動シューと、を備え、
前記可動パネルは、前記ルーフ開口部を覆うパネル本体と、前記パネル本体の幅方向における両端部から下方に延びるサイドリップと、を有し、
前記リアリンクは、前記駆動シューの前方及び後方のうちの一方への移動に伴い前記起立位置に変位することで、前記可動パネルを前記チルトアップ位置に変位させ、前記駆動シューの前方及び後方のうちの他方への移動に伴い前記格納位置に変位することで、前記可動パネルを前記全閉位置に変位させ、
前記駆動シューは、底壁と、前記底壁から上方に延びる内壁と、前記内壁よりも幅方向における外方で前記底壁から上方に延びる外壁と、を有し、前記内壁及び前記外壁の双方を介して、前記リアリンクを変位させる動力を前記リアリンクに伝達し、
幅方向において、前記リアリンクは、前記駆動シューの前記内壁及び前記外壁の間に配置され、前記リアリンクと前記外壁との間には、前記可動パネルの前記サイドリップを収容可能なリップ収容空間が存在している
サンルーフ装置。
続きを表示(約 720 文字)
【請求項2】
前記駆動シューの前記外壁の高さは、前記駆動シューの前記内壁の高さよりも低い
請求項1に記載のサンルーフ装置。
【請求項3】
前記リアリンクは、幅方向を軸方向とする内側摺動軸と幅方向を軸方向とする外側摺動軸とを有し、
前記駆動シューの前記外壁は、前記駆動シューが前後方向に移動するときに前記外側摺動軸と摺動することにより、前記リアリンクに動力を伝達する外側摺動面を有し、
前記駆動シューの前記内壁は、前記駆動シューが前後方向に移動するときに前記内側摺動軸と摺動することにより、前記リアリンクに動力を伝達する内側摺動面を有し、
前記内側摺動軸は、第1内側摺動軸と、前記第1内側摺動軸と間隔をあけて位置する第2内側摺動軸と、を含み、
前記内側摺動面は、前記第1内側摺動軸と摺動する第1内側摺動面と、前記第2内側摺動軸と摺動する第2内側摺動面と、を含み、
前記リアリンクと前記外壁との隙間は、前記リアリンクと前記内壁との隙間よりも大きい
請求項1又は請求項2に記載のサンルーフ装置。
【請求項4】
前記リアリンクが前記格納位置から前記起立位置に変位する場合、前記駆動シューと摺動することにより、前記リアリンクの前記第1内側摺動軸が下降するとともに、前記リアリンクの前記第2内側摺動軸が上昇し、
前記リアリンクが前記起立位置から前記格納位置に変位する場合、前記駆動シューと摺動することにより、前記リアリンクの前記第1内側摺動軸が上昇するとともに、前記リアリンクの前記第2内側摺動軸が下降する
請求項3に記載のサンルーフ装置。
発明の詳細な説明
【技術分野】
【0001】
本発明は、サンルーフ装置に関する。
続きを表示(約 2,500 文字)
【背景技術】
【0002】
特許文献1には、ルーフ開口部を有する車体と、ルーフ開口部に設置されるサンルーフ装置と、を備える車両が記載されている。サンルーフ装置は、ルーフ開口部を開閉する可動パネルと、可動パネルを駆動する開閉手段と、を備える。可動パネルは、開閉手段に駆動されることによって、ルーフ開口部を全閉する全閉位置と、全閉位置よりも可動パネルの後端が上昇するチルトアップ位置と、の間で開閉作動する。
【0003】
可動パネルがチルトアップ位置に配置される状態において、車両が走行する場合には、可動パネルの幅方向における両端付近を流れる走行風に起因して、風切音が発生することがある。こうした風切音は、車両の走行速度が高いほど大きくなりやすい。この点、特許文献1に記載の可動パネルは、幅方向における両端部にサイドリップを設けることで、上記の風切音を抑制している。
【先行技術文献】
【特許文献】
【0004】
国際公開第2015/114962号
【発明の概要】
【発明が解決しようとする課題】
【0005】
車両が走行する場合には、可動パネルの上面に沿って流れる走行風に起因して、可動パネルに上向き荷重が作用する。こうした上向き荷重は、車両の走行速度が高いほど大きくなりやすい。この点で、上記のようなサンルーフ装置は、車両が高速走行する場合には、可動パネルに作用する荷重に対する対応も求められている。言い換えれば、上記のようなサンルーフ装置は、車両の高速走行時における使い勝手をさらに向上させることが望まれている。
【課題を解決するための手段】
【0006】
上記課題を解決するサンルーフ装置は、車両のルーフ開口部を全閉する全閉位置と、前記全閉位置よりも後端部が上昇するチルトアップ位置と、の間で作動する可動パネルと、前後方向を長手方向とするガイドレールと、前記可動パネルを支持し、前後方向を長手方向とする支持ブラケットと、前記支持ブラケットの前端よりも後端に近い部分を支持した状態で、格納位置及び起立位置の間を変位するリアリンクと、前記ガイドレールに沿って前後方向に移動することにより、前記リアリンクを駆動する駆動シューと、を備え、前記可動パネルは、前記ルーフ開口部を覆うパネル本体と、前記パネル本体の幅方向における両端部から下方に延びるサイドリップと、を有し、前記リアリンクは、前記駆動シューの前方及び後方のうちの一方への移動に伴い前記起立位置に変位することで、前記可動パネルを前記チルトアップ位置に変位させ、前記駆動シューの前方及び後方のうちの他方への移動に伴い前記格納位置に変位することで、前記可動パネルを前記全閉位置に変位させ、前記駆動シューは、底壁と、前記底壁から上方に延びる内壁と、前記内壁よりも幅方向における外方で前記底壁から上方に延びる外壁と、を有し、前記内壁及び前記外壁の双方を介して、前記リアリンクを変位させる動力を前記リアリンクに伝達し、幅方向において、前記リアリンクは、前記駆動シューの前記内壁及び前記外壁の間に配置され、前記リアリンクと前記外壁との間には、前記可動パネルの前記サイドリップを収容可能なリップ収容空間が存在している。
【発明の効果】
【0007】
サンルーフ装置は、車両の高速走行時における使い勝手を向上できる。
【図面の簡単な説明】
【0008】
図1は、サンルーフ装置を備える車両の模式図である。
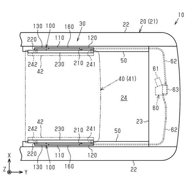
図2は、図1のサンルーフ装置の概略構成を示す平面図である。
図3は、図1のサンルーフ装置の可動パネルの右半分の分解斜視図である。
図4は、図1のサンルーフ装置の可動パネルの側面図である。
図5は、図1のサンルーフ装置の部分分解斜視図である。
図6は、図1のサンルーフ装置のガイドレールの断面図である。
図7は、図1のサンルーフ装置の駆動機構の後部の分解斜視図である。
図8は、図1のサンルーフ装置の駆動機構の後部の分解斜視図である。
図9は、図1のサンルーフ装置の駆動機構の後部の平面図である。
図10は、図1のサンルーフ装置の概略構成を示す側面図である。
図11は、図1のサンルーフ装置の概略構成を示す側面図である。
図12は、図1のサンルーフ装置の概略構成を示す側面図である。
図13は、図1のサンルーフ装置の作用を説明する側面図である。
図14は、図1のサンルーフ装置の作用を説明する側面図である。
図15は、図1のサンルーフ装置の作用を説明する側面図である。
図16は、図1のサンルーフ装置の作用を説明する側面図である。
図17は、図1のサンルーフ装置の作用を説明する側面図である。
図18は、図1のサンルーフ装置の作用を説明する側面図である。
図19は、図13のサンルーフ装置の19-19線矢視断面図である。
図20は、図17のサンルーフ装置の20-20線矢視断面図である。
【発明を実施するための形態】
【0009】
以下、サンルーフ装置の一実施形態について、図面を参照しつつ説明する。図中における部材の断面を示すハッチングは、部材の材質に関わらず、同じ種類のハッチングを用いている。
【0010】
<本実施形態の構成>
図1に示すように、車両10は、車体20と、サンルーフ装置30と、を備える。図中において、X軸の延びる方向は車両10の幅方向を示し、Y軸の延びる方向は車両10の前後方向を示し、Z軸の延びる方向は車両10の上下方向を示している。以降の説明では、車両10の幅方向、車両10の前後方向及び車両10の上下方向を、それぞれ幅方向、前後方向及び上下方向ともいう。また、幅方向において、車両10の中心から離れる方向を外方ともいい、車両10の中心に近付く方向を内方ともいう。
(【0011】以降は省略されています)
この特許をJ-PlatPat(特許庁公式サイト)で参照する
関連特許
株式会社アイシン
ロータ
27日前
株式会社アイシン
ロータ
23日前
株式会社アイシン
ステータ
27日前
株式会社アイシン
ステータ
27日前
株式会社アイシン
ステータ
27日前
株式会社アイシン
ステータ
27日前
株式会社アイシン
歯車機構
23日前
株式会社アイシン
ガス検出装置
27日前
株式会社アイシン
牽引支援装置
27日前
株式会社アイシン
折り畳み装置
27日前
株式会社アイシン
環境認識装置
27日前
株式会社アイシン
運転支援装置
27日前
株式会社アイシン
折り畳み装置
27日前
株式会社アイシン
車両制御装置
27日前
株式会社アイシン
牽引支援装置
27日前
株式会社アイシン
折り畳み装置
27日前
株式会社アイシン
折り畳み装置
27日前
株式会社アイシン
ドア支持装置
27日前
株式会社アイシン
運転支援装置
27日前
株式会社アイシン
運転支援装置
27日前
株式会社アイシン
走行制御装置
27日前
株式会社アイシン
車両用駆動装置
27日前
株式会社アイシン
車両用ドア装置
27日前
株式会社アイシン
車両用ドア装置
27日前
株式会社アイシン
サンルーフ装置
23日前
株式会社アイシン
車両用駆動装置
1日前
株式会社アイシン
ドアロック装置
21日前
株式会社アイシン
露光制御システム
27日前
株式会社アイシン
燃料電池システム
23日前
株式会社アイシン
燃料電池システム
23日前
株式会社アイシン
燃料電池システム
23日前
株式会社アイシン
生体情報検出装置
27日前
株式会社アイシン
車両用駆動伝達装置
1日前
株式会社アイシン
車両用駆動伝達装置
2日前
株式会社アイシン
静電容量センサシステム
今日
株式会社アイシン
ペロブスカイト太陽電池
今日
続きを見る
他の特許を見る