TOP
|
特許
|
意匠
|
商標
特許ウォッチ
Twitter
他の特許を見る
10個以上の画像は省略されています。
公開番号
2025155631
公報種別
公開特許公報(A)
公開日
2025-10-14
出願番号
2024177415
出願日
2024-10-09
発明の名称
燃料電池システム
出願人
株式会社アイシン
代理人
弁理士法人アイテック国際特許事務所
主分類
H01M
8/04 20160101AFI20251002BHJP(基本的電気素子)
要約
【課題】燃料オフガスから水蒸気を良好に除去すると共にシステムの小型化を図る。
【解決手段】燃料電池システムは、燃料電池スタックとモジュールケースとを含む複数の発電モジュールと、複数の発電モジュールに燃料ガスを供給する複数の燃料供給ラインを含む複数の燃料供給系と、複数の発電モジュールから排出される燃料オフガスをそれぞれの熱交換器に通過させた後、対応する燃料供給ラインに還流させる複数の還流ラインを含む複数の循環系と、複数の循環系において対応する熱交換器で燃料オフガスに含まれる水蒸気が凝縮することで得られた凝縮水を蓄える複数の凝縮水タンクと、複数の発電モジュールと複数の燃料供給系と複数の凝縮水タンクとを支持するフレームと、を備える。複数の凝縮水タンクは、フレームにおける複数の発電モジュールの設置位置よりも下方に画成される空間内に設置される。
【選択図】図2
特許請求の範囲
【請求項1】
アノードに供給される燃料ガスとカソードに供給される酸化剤ガスとにより発電する燃料電池スタックと、当該燃料電池スタックを収容する断熱性のモジュールケースと、をそれぞれに含む複数の発電モジュールと、
前記複数の発電モジュールのそれぞれに燃料ガスを供給する複数の燃料供給ラインを含む複数の燃料供給系と、
前記複数の発電モジュールのそれぞれから排出される燃料オフガスをそれぞれの熱交換器に通過させた後、対応する前記燃料供給ラインに還流させる複数の還流ラインを含む複数の循環系と、
前記複数の循環系のそれぞれにおいて対応する前記熱交換器で燃料オフガスに含まれる水蒸気が凝縮することで得られた凝縮水を蓄える複数の凝縮水タンクと、
前記複数の発電モジュールと前記複数の燃料供給系と前記複数の凝縮水タンクとを支持するフレームと、
を備え、
前記複数の凝縮水タンクは、前記フレームにおける前記複数の発電モジュールの設置位置よりも下方に画成される空間内に設置される、
燃料電池システム。
続きを表示(約 670 文字)
【請求項2】
請求項1に記載の燃料電池システムであって、
前記複数の凝縮水タンクは、前記複数の燃料供給系の下方に位置するように設置される、
燃料電池システム。
【請求項3】
請求項2に記載の燃料電池システムであって、
前記複数の燃料供給系は、それぞれ対応する前記発電モジュールと横方向に並ぶように設置され、
前記複数の凝縮水タンクは、前記複数の燃料供給系の下方において横方向に並ぶように設置される、
燃料電池システム。
【請求項4】
請求項1ないし3いずれか1項に記載の燃料電池システムであって、
前記複数の凝縮水タンクに接続される複数の凝縮水ラインを備え、
前記複数の循環系は、それぞれ、対応する前記発電モジュールから排出される燃料オフガスが流れる燃料オフガスラインと、前記燃料オフガスラインに設けられる前記熱交換器と、前記燃料オフガスラインにおける前記熱交換器の下流側と対応する前記燃料供給ラインとに接続される還流ラインと、を含み、
前記複数の凝縮水ラインは、それぞれ対応する前記循環系の燃料オフガスラインにおける前記熱交換器の下流側の分岐点から分岐して対応する前記凝縮水タンクに接続され、
前記複数の凝縮水ラインは、それぞれ対応する前記分岐点から下方に延出され、
前記複数の燃料オフガスラインは、それぞれの前記凝縮水ラインとの前記分岐点から上方に延出されて対応する前記還流ラインに接続される、
燃料電池システム。
発明の詳細な説明
【技術分野】
【0001】
本明細書は、燃料電池システムについて開示する。
続きを表示(約 2,300 文字)
【背景技術】
【0002】
従来、この種の燃料電池システムとしては、セルスタックと、セルスタックおよび燃焼器を収容する高温ハウジングと、燃料ガスポンプの作動によりセルスタックに燃料ガスを供給する燃料ガス供給流路と、セルスタックからの燃料オフガスを高温ハウジング外へ導いた後、再び高温ハウジング内に導入して燃焼器に供給する燃料オフガス送給流路と、燃料オフガス送給流路の中間部位(高温ハウジングの外)に配設された第2熱交換器と、燃料オフガス送給流路の第2熱交換器の下流側から分岐して燃料ガス供給流路における燃料ガスポンプと第2絞り部材との間に接続されるリサイクル流路と、リサイクル流路に設けられたリサイクル弁と、を備えるものが提案されている(例えば、特許文献1参照)。この燃料電池システムでは、セルスタックからの燃料オフガスは、第2熱交換器にて冷却された後に燃焼器に送給され、第2熱交換器から燃焼器に送給される燃料オフガスの一部は、燃料ガスポンプの作動により発生する負圧によりリサイクル流路を通して燃料ガス供給流路に戻される。
【先行技術文献】
【特許文献】
【0003】
特許7221641号公報
【発明の概要】
【発明が解決しようとする課題】
【0004】
燃料電池スタックからの燃料オフガスを熱交換器に通過させて燃料供給ラインに還流させる場合、燃料電池スタックの発電効率を良好にするため、還流させる燃料オフガスに含まれる水蒸気をできる限り少なくすることが望ましい。また、システムの出力を増大させるために複数の発電モジュールを連結する場合、燃料オフガスに含まれる水蒸気を少なくすることに加えて、システムの小型化することも要請される。
【0005】
本開示は、燃料オフガスを熱交換器に通過させて燃料供給ラインに還流させるものにおいて、還流させる燃料オフガスから水蒸気を良好に除去すると共にシステムの小型化を図ることを主目的とする。
【課題を解決するための手段】
【0006】
本開示は、上述の主目的を達成するために以下の手段を採った。
【0007】
本開示の燃料電池システムは、
アノードに供給される燃料ガスとカソードに供給される酸化剤ガスとにより発電する燃料電池スタックと、当該燃料電池スタックを収容する断熱性のモジュールケースと、をそれぞれに含む複数の発電モジュールと、
前記複数の発電モジュールのそれぞれに燃料ガスを供給する複数の燃料供給ラインを含む複数の燃料供給系と、
前記複数の発電モジュールのそれぞれから排出される燃料オフガスをそれぞれの熱交換器に通過させた後、対応する前記燃料供給ラインに還流させる複数の還流ラインを含む複数の循環系と、
前記複数の循環系のそれぞれにおいて対応する前記熱交換器で燃料オフガスに含まれる水蒸気が凝縮することで得られた凝縮水を蓄える複数の凝縮水タンクと、
前記複数の発電モジュールと前記複数の燃料供給系と前記複数の凝縮水タンクとを支持するフレームと、
を備え、
前記複数の凝縮水タンクは、前記フレームにおける前記複数の発電モジュールの設置位置よりも下方に画成される空間内に設置される、
ことを要旨とする。
【0008】
この本開示の燃料電池システムは、複数の発電モジュールと複数の発電モジュールのそれぞれに燃料ガスを供給する燃料供給系とを備えるものにおいて、各発電モジュールからの燃料オフガスをそれぞれの熱交換器に通過させた後、対応する燃料供給系の燃料供給ラインに還流させる複数の還流ラインと、それぞれの熱交換器で発生した凝縮水を蓄える複数の凝縮水タンクと、複数の発電モジュールと複数の燃料供給系と複数の凝縮水タンクとを支持するフレームと、を有する。そして、複数の凝縮水タンクは、フレームにおける複数の発電モジュールの設置位置よりも下方に画成される空間内に設置される。これにより、熱交換器で生成された凝縮水を凝縮水タンクに流れ易くして、燃料オフガスに含まれる水蒸気を良好に除去することができる。加えて、複数の凝縮水タンクを限られたスペースに効率よく配置することができ、システム全体を小型化することができる。
【図面の簡単な説明】
【0009】
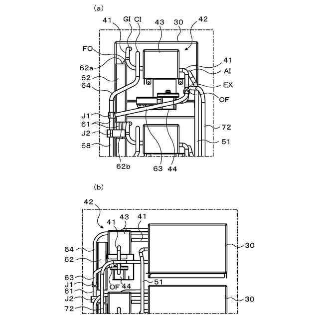
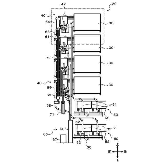
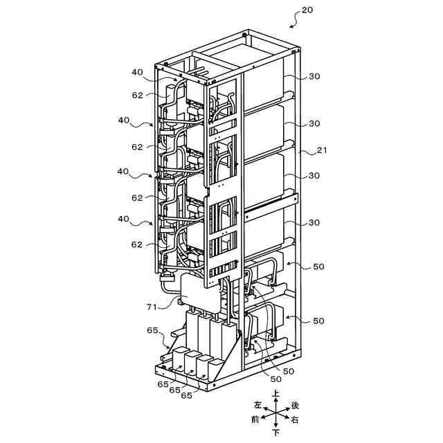
複数の燃料電池ユニットを含む燃料電池システムの外観斜視図である。
燃料電池ユニットの内部斜視図である。
燃料電池ユニットのフレームを除く内部斜視図である。
燃料電池ユニットの内部正面図である。
燃料電池ユニットのフレームを除く内部正面図である。
燃料電池ユニットの内部側面図である。
燃料電池ユニットのフレームを除く内部側面図である。
燃料電池ユニットの部分拡大図である。
燃料電池システムの概略構成図である。
燃料ブロワサブアセンブリの外観斜視図である。
エアブロワサブアセンブリの外観斜視図である。
凝縮水タンクサブアセンブリの外観斜視図である。
他の実施形態に係る燃料電池システムの一部の構成図である。
【発明を実施するための形態】
【0010】
本開示を実施するための形態について図面を参照しながら説明する。
(【0011】以降は省略されています)
この特許をJ-PlatPat(特許庁公式サイト)で参照する
関連特許
株式会社アイシン
車両
19日前
株式会社アイシン
車両
19日前
株式会社アイシン
粉砕機
6日前
株式会社アイシン
潤滑油
4日前
株式会社アイシン
熱交換器
19日前
株式会社アイシン
熱交換器
19日前
株式会社アイシン
キックセンサ
1か月前
株式会社アイシン
電力変換装置
1か月前
株式会社アイシン
動力変換装置
19日前
株式会社アイシン
操作検出装置
13日前
株式会社アイシン
焼き入れ方法
4日前
株式会社アイシン
ヒートシンク
1か月前
株式会社アイシン
焼き入れ方法
4日前
株式会社アイシン
車両用駆動装置
1か月前
株式会社アイシン
車両用駆動装置
19日前
株式会社アイシン
車両用ドア装置
1か月前
株式会社アイシン
冷却モジュール
1か月前
株式会社アイシン
回転角検出装置
19日前
株式会社アイシン
ステータユニット
今日
株式会社アイシン
位置姿勢取得装置
12日前
株式会社アイシン
複合歯車の製造方法
11日前
株式会社アイシン
車両用駆動伝達装置
19日前
株式会社アイシン
車両用のドアロック装置
1か月前
株式会社アイシン
ペロブスカイト太陽電池
1か月前
株式会社アイシン
ペロブスカイト太陽電池
4日前
株式会社アイシン
二酸化炭素回収システム
12日前
株式会社アイシン
ペロブスカイト太陽電池の製造方法
20日前
株式会社アイシン
ペロブスカイト太陽電池及びカーボン液
11日前
株式会社アイシン
車両用制御装置及び車両用制御プログラム
12日前
株式会社アイシン
水性エマルジョン系制振塗料組成物及びその硬化塗膜
1か月前
株式会社アイシン
エポキシ系接着剤組成物及びその硬化物並びに積層コア
4日前
株式会社アイシン
ナノ結晶軟磁性合金
6日前
トヨタ自動車株式会社
計数装置、計数方法及び計数用コンピュータプログラム
11日前
株式会社デンソーテン
画像処理装置、情報処理システム、情報処理方法、および、プログラム
4日前
株式会社豊田中央研究所
二酸化炭素回収システム
今日
トヨタ自動車株式会社
足元位置推定装置、足元位置推定方法、足元位置推定システム及び足元位置推定用コンピュータプログラムならびに移動検知装置
5日前
続きを見る
他の特許を見る