TOP
|
特許
|
意匠
|
商標
特許ウォッチ
Twitter
他の特許を見る
公開番号
2025176667
公報種別
公開特許公報(A)
公開日
2025-12-04
出願番号
2024209655
出願日
2024-12-02
発明の名称
足元位置推定装置、足元位置推定方法、足元位置推定システム及び足元位置推定用コンピュータプログラムならびに移動検知装置
出願人
トヨタ自動車株式会社
,
株式会社アイシン
代理人
個人
,
個人
,
個人
,
個人
,
個人
,
個人
主分類
G06T
7/00 20170101AFI20251127BHJP(計算;計数)
要約
【課題】画像に表された人物の足元位置を正確に推定することが可能な足元位置推定装置を提供する。
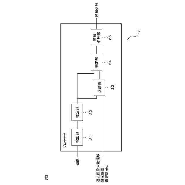
【解決手段】足元位置推定装置4は、所定の領域を撮影するように設けられた撮像部2により生成された画像から、所定の領域内の人物が表された人物領域を検出する検出部21と、人物領域内の基準点から画像における消失点へ向かう線と人物領域の端辺との交点をその人物の足元位置として推定する推定部22とを有することで、画像に表された人物の足元位置を正確に推定する。
【選択図】図3
特許請求の範囲
【請求項1】
所定の領域を撮影するように設けられた撮像部により生成された画像から、前記所定の領域内の人物が表された人物領域を検出する検出部と、
前記人物領域内の基準点から前記画像における消失点へ向かう線と前記人物領域の端辺との交点を前記人物の足元位置として推定する推定部と、
を有する足元位置推定装置。
続きを表示(約 1,800 文字)
【請求項2】
前記推定部は、前記消失点と前記基準間の距離に応じて予め設定される補正距離だけ前記線に沿って前記交点から前記基準点側の位置を前記足元位置とするよう、前記足元位置を補正する、請求項1に記載の足元位置推定装置。
【請求項3】
前記推定部は、前記消失点が前記人物領域内に存在する場合、前記線上において前記消失点に近い方の前記人物領域の端辺と前記線との前記交点と前記基準点間の距離に対する、前記基準点と前記消失点間の距離の比で、前記基準点と前記消失点間を内分した位置を前記足元位置として推定する、請求項1に記載の足元位置推定装置。
【請求項4】
前記検出部は、所定期間において時系列に得られた複数の前記画像のそれぞれから前記人物領域を検出し、
前記推定部は、複数の前記画像のそれぞれにおける前記人物の足元位置を推定し、
複数の前記画像において前記検出された人物を追跡して前記所定期間における当該人物の前記足元位置の移動軌跡をもとめる追跡部と、
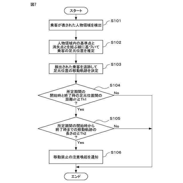
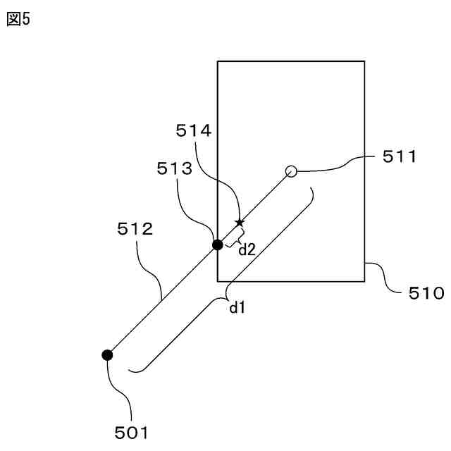
前記所定期間の開始時における前記検出された人物の前記足元位置と前記所定期間の終了時における前記検出された人物の前記足元位置間の距離が第1の閾値以上となり、かつ、前記所定期間の開始時から終了時までの前記移動軌跡の長さが第2の閾値以上となる場合に、前記検出された人物が前記所定期間において移動したと判定する判定部と、
をさらに有する、請求項1~3の何れか一項に記載の足元位置推定装置。
【請求項5】
前記検出部は、撮影タイミングが異なる複数の前記画像のそれぞれから前記人物領域を検出し、
前記推定部は、複数の前記画像のそれぞれから推定した前記足元位置を記憶部に記録し、
前記記憶部に記憶された前記足元位置の分布に基づいて何らかの異常が有る位置を特定する特定部をさらに有する、請求項1~3の何れか一項に記載の足元位置推定装置。
【請求項6】
所定の領域を撮影するように設けられた撮像部により生成された画像から、前記所定の領域内の人物が表された人物領域を検出し、
前記人物領域内の基準点から前記画像における消失点へ向かう線と前記人物領域の端辺との交点を前記人物の足元位置として推定する、
ことを含む足元位置推定方法。
【請求項7】
所定の領域を撮影するように設けられた撮像部と、
前記所定の領域内に位置する人物の足元位置を推定する足元位置推定装置と、
を有し、
前記足元位置推定装置は、
前記撮像部により生成された画像から、前記所定の領域内の人物が表された人物領域を検出する検出部と、
前記人物領域内の基準点から前記画像における消失点へ向かう線と前記人物領域の端辺との交点を前記人物の足元位置として推定する推定部と、
を有する足元位置推定システム。
【請求項8】
所定の領域を撮影するように設けられた撮像部により生成された画像から、前記所定の領域内の人物が表された人物領域を検出し、
前記人物領域内の基準点から前記画像における消失点へ向かう線と前記人物領域の端辺との交点を前記人物の足元位置として推定する、
ことをコンピュータに実行させるための足元位置推定用コンピュータプログラム。
【請求項9】
所定の領域を撮影するように設けられた撮像部により生成された時系列の複数の画像のそれぞれから、前記所定の領域内の人物を検出するとともに、前記検出された人物が表された1以上の画像上での前記人物の所定の部位の位置を推定する検出部と、
前記1以上の画像において前記検出された人物を追跡して所定期間における当該人物の前記所定の部位の位置の移動軌跡をもとめる追跡部と、
前記所定期間の開始時における前記検出された人物の前記所定の部位の位置と前記所定期間の終了時における前記検出された人物の前記所定の部位の位置間の距離が第1の閾値以上となり、かつ、前記所定期間の開始時から終了時までの前記移動軌跡の長さが第2の閾値以上となる場合に、前記検出された人物が前記所定期間において移動したと判定する判定部と、
を有する移動検知装置。
発明の詳細な説明
【技術分野】
【0001】
本発明は、画像に表された人物の足元の位置を推定する足元位置推定装置、足元位置推定方法、足元位置推定システム及び足元位置推定用コンピュータプログラムならびに移動検知装置に関する。
続きを表示(約 1,400 文字)
【背景技術】
【0002】
画像上に表された人物の姿勢を推定する技術が提案されている(特許文献1を参照)。この技術では、入力画像中の人物領域について算出した特徴量から姿勢評価式に基づいて人物の姿勢が推定される。その際、この技術では、人物領域の最下点が人物の足下位置として推定される。
【先行技術文献】
【特許文献】
【0003】
特開2015-79339号公報
【発明の概要】
【発明が解決しようとする課題】
【0004】
監視用途に用いられるカメラとして、できるだけ広い領域を撮影範囲に含められるように、撮像光学系として広角レンズ、場合によっては魚眼レンズを有するカメラが用いられることがある。このような場合、画像上に表された物体は、撮影光学系の歪曲収差によって大きく歪んでしまうことがある。そのため、上記の技術では、画像に表された人物の足元位置が正確に推定できないことがある。
【0005】
そこで、本発明は、画像に表された人物の足元位置を正確に推定することが可能な足元位置推定装置を提供することを目的とする。
【課題を解決するための手段】
【0006】
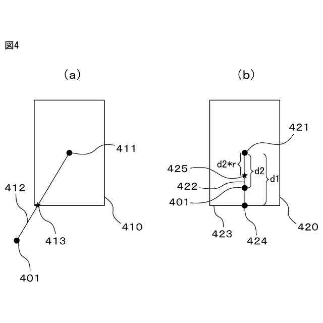
本発明の一つの形態として、足元位置推定装置が提供される。この足元位置推定装置は、所定の領域を撮影するように設けられた撮像部により生成された画像から、所定の領域内の人物が表された人物領域を検出する検出部と、人物領域内の基準点から画像における消失点へ向かう線と人物領域の端辺との交点を人物の足元位置として推定する推定部とを有する。
【0007】
一つの実施形態において、推定部は、消失点と基準点間の距離に応じて予め設定される補正距離だけ、交点から基準点から消失点へ向かう線に沿って基準点側の位置を人物の足元位置とするよう、その足元位置を補正する。
【0008】
一つの実施形態において、推定部は、消失点が人物領域内に存在する場合、基準点から消失点へ向かう線上において消失点に近い方の人物領域の端辺とその線との交点と基準点間の距離に対する、基準点と消失点間の距離の比で、基準点と消失点間を内分した位置を人物の足元位置として推定する。
【0009】
一つの実施形態において、検出部は、所定期間において時系列に得られた複数の画像のそれぞれから人物領域を検出し、推定部は、複数の画像のそれぞれにおける人物の足元位置を推定する。そして足元位置推定装置は、複数の画像において検出された人物を追跡して所定期間におけるその人物の足元位置の移動軌跡をもとめる追跡部と、所定期間の開始時における検出された人物の足元位置と所定期間の終了時における検出された人物の足元位置間の距離が第1の閾値以上となり、かつ、所定期間の開始時から終了時までの移動軌跡の長さが第2の閾値以上となる場合に、検出された人物が所定期間において移動したと判定する判定部とをさらに有する。
【0010】
一つの実施形態において、検出部は、撮影タイミングが異なる複数の画像のそれぞれから人物領域を検出し、推定部は、複数の画像のそれぞれから推定した足元位置を記憶部に記録する。そして足元位置推定装置は、記憶部に記憶された足元位置の分布に基づいて何らかの異常が有る位置を特定する特定部をさらに有する。
(【0011】以降は省略されています)
この特許をJ-PlatPat(特許庁公式サイト)で参照する
関連特許
個人
詐欺保険
1か月前
個人
縁伊達ポイン
1か月前
個人
職業自動販売機
20日前
個人
5掛けポイント
27日前
個人
RFタグシート
1か月前
個人
QRコードの彩色
1か月前
個人
地球保全システム
2か月前
個人
ペルソナ認証方式
1か月前
個人
情報処理装置
1か月前
個人
自動調理装置
1か月前
個人
農作物用途分配システム
1か月前
個人
残土処理システム
1か月前
個人
インターネットの利用構造
1か月前
個人
サービス情報提供システム
22日前
個人
知的財産出願支援システム
1か月前
NISSHA株式会社
入力装置
今日
個人
タッチパネル操作指代替具
1か月前
個人
スケジュール調整プログラム
1か月前
個人
携帯端末障害問合せシステム
1か月前
個人
学習用データ生成装置
1日前
株式会社キーエンス
受発注システム
2か月前
個人
海外支援型農作物活用システム
2か月前
個人
エリアガイドナビAIシステム
1か月前
株式会社キーエンス
受発注システム
2か月前
個人
食品レシピ生成システム
2か月前
株式会社キーエンス
受発注システム
2か月前
個人
音声・通知・再配達UX制御構造
1か月前
株式会社ケアコム
項目選択装置
1か月前
株式会社ワコム
電子ペン
29日前
個人
帳票自動生成型SaaSシステム
1か月前
キラル株式会社
顧客体験提供システム
2日前
キヤノン株式会社
表示システム
2か月前
大同特殊鋼株式会社
疵判定方法
2か月前
キヤノン株式会社
情報処理装置
28日前
個人
未来型家系図構築システム
2か月前
トヨタ自動車株式会社
通知装置
1か月前
続きを見る
他の特許を見る