TOP
|
特許
|
意匠
|
商標
特許ウォッチ
Twitter
他の特許を見る
公開番号
2025175457
公報種別
公開特許公報(A)
公開日
2025-12-03
出願番号
2024081590
出願日
2024-05-20
発明の名称
粉砕機
出願人
株式会社アイシン
代理人
弁理士法人R&C
主分類
B02C
18/00 20060101AFI20251126BHJP(破砕,または粉砕;製粉のための穀粒の前処理)
要約
【課題】粉砕機全体を大型化することなく、ハウジング内部の空間を大型化可能な粉砕機を提供する。
【解決手段】バイオマス原料を加熱粉砕する粉砕機Aは、軸部1に形成された粉砕刃2と、粉砕用のボールと、を収容するハウジング3と、軸部1の一端を支持する第一軸受と、軸部の一端とは反対側の他端を支持する第二軸受と、一端及び他端の夫々に設けられ、軸部1を軸部1の軸芯Xを中心に駆動回転させる同期型駆動装置6,7と、を備える。
【選択図】図1
特許請求の範囲
【請求項1】
バイオマス原料を加熱粉砕する粉砕機であって、
軸部に形成された粉砕刃と、粉砕用のボールと、を収容するハウジングと、
前記軸部の一端を支持する第一軸受と、
前記軸部の前記一端とは反対側の他端を支持する第二軸受と、
前記一端及び前記他端の夫々に設けられ、前記軸部を当該軸部の軸芯を中心に駆動回転させる同期型駆動装置と、を備える粉砕機。
続きを表示(約 270 文字)
【請求項2】
前記軸部の内部には、当該軸部を冷却する冷却流体の流通する冷却路が形成されている請求項1に記載の粉砕機。
【請求項3】
前記第一軸受に前記冷却流体を供給する第一供給路と、
前記第二軸受に前記冷却流体を供給する第二供給路と、をさらに備え、
前記第一供給路及び前記第二供給路は、前記冷却路と連通している請求項2に記載の粉砕機。
【請求項4】
前記冷却流体が供給される熱交換器をさらに備え、
前記冷却流体は、前記冷却路と前記熱交換器との間で循環する請求項2又は3に記載の粉砕機。
発明の詳細な説明
【技術分野】
【0001】
本発明は、粉砕機に関する。
続きを表示(約 1,500 文字)
【背景技術】
【0002】
バイオマス原料等の被粉砕物を粉砕する粉砕機として、例えば、特許文献1に開示された粉砕機が知られている。
【0003】
特許文献1には、ハウジング(特許文献1では、「前側半部」)の内部に、ロータと、被粉砕物とを収容する収容空間を備えた粉砕機が開示されている。被粉砕物は、予め液体に分散された状態で収容空間に供給され、ロータの回転による遠心力を受けて粉砕される。また、ハウジング外部に形成された冷却室やロータの内部に冷却流体又は加熱流体が供給されることにより、粉砕室の加熱及び冷却が行われる。
【先行技術文献】
【特許文献】
【0004】
特開平4-243554号公報
【発明の概要】
【発明が解決しようとする課題】
【0005】
特許文献1に記載のロータは、その一端のみが軸部に接続しているものであり、軸部はその接続部においてロータの全重量を支持する必要があった。したがって、軸部が支持できるロータの重量には限界があった。ロータは端部に設けられた駆動装置によって駆動回転するものであるので、ハウジング内部の収容空間を拡張してロータを大型化すると、軸部及び駆動装置も大型化する必要が生じ、経済的ではなかった。
【0006】
また、特許文献1の粉砕機では、予め液体に分散された状態の被粉砕物の粉砕を目的とするため、被粉砕物を乾式で粉砕することができなかった。さらに、ハウジング内部の収容空間が小さいために、当該収容空間に粉砕用のボールを投入することができず、特許文献1の粉砕機をボールミルとして使用することができなかった。
【0007】
本発明は、上記の課題に鑑みてなされたものであり、その目的は、粉砕機全体を大型化することなく、ハウジング内部の収容空間を拡張可能な粉砕機を提供することにある。
【課題を解決するための手段】
【0008】
本発明に係る粉砕機の特徴構成は、バイオマス原料を加熱粉砕する粉砕機であって、軸部に形成された粉砕刃と、粉砕用のボールと、を収容するハウジングと、前記軸部の一端を支持する第一軸受と、前記軸部の前記一端とは反対側の他端を支持する第二軸受と、前記一端及び前記他端の夫々に設けられ、前記軸部を当該軸部の軸芯を中心に駆動回転させる同期型駆動装置と、を備える点にある。
【0009】
本構成によれば、軸部の両端(一端、及び一端とは反対側の他端)が第一軸受及び第二軸受によって支持されているので、軸部に形成される粉砕刃を大型化してハウジング内部の収容空間を拡張したとしても、軸部を安定して駆動回転させることができる。また、軸部の一端及び他端の夫々に軸部を駆動回転させる同期型駆動装置を備えるので、軸部の一端のみに駆動装置を備える構成と比較すると、一つの駆動装置に必要とされる動力を軽減することができ、駆動装置の小型化が可能である。これにより、粉砕機全体の大型化を抑制することができる。
【図面の簡単な説明】
【0010】
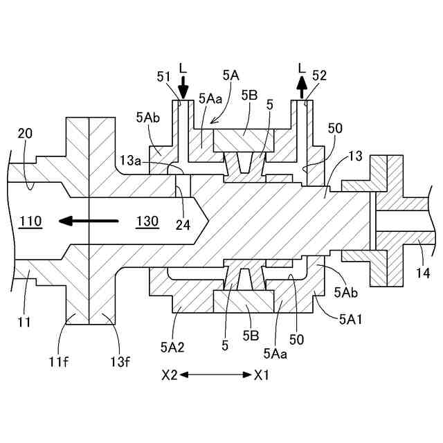
本発明に係る粉砕機の側面図である。
本発明に係る粉砕機の縦断面図である。
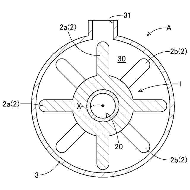
図2のIII-III矢視断面図である。
本発明に係る第一軸受の部分拡大縦断面図である。
本発明に係る第二軸受の部分拡大縦断面図である。
本発明に係る冷却路、第一供給路及び第二供給路を示す冷却回路の回路図である。
【発明を実施するための形態】
(【0011】以降は省略されています)
この特許をJ-PlatPat(特許庁公式サイト)で参照する
関連特許
株式会社アイシン
車両
14日前
株式会社アイシン
車両
14日前
株式会社アイシン
粉砕機
1日前
株式会社アイシン
熱交換器
14日前
株式会社アイシン
熱交換器
14日前
株式会社アイシン
キックセンサ
27日前
株式会社アイシン
電力変換装置
27日前
株式会社アイシン
ヒートシンク
27日前
株式会社アイシン
操作検出装置
8日前
株式会社アイシン
動力変換装置
14日前
株式会社アイシン
車両用駆動装置
27日前
株式会社アイシン
車両用駆動装置
29日前
株式会社アイシン
冷却モジュール
27日前
株式会社アイシン
車両用ドア装置
27日前
株式会社アイシン
車両用駆動装置
14日前
株式会社アイシン
回転角検出装置
14日前
株式会社アイシン
位置姿勢取得装置
7日前
株式会社アイシン
車両用駆動伝達装置
14日前
株式会社アイシン
複合歯車の製造方法
6日前
株式会社アイシン
車両用駆動伝達装置
1か月前
株式会社アイシン
車両用駆動伝達装置
29日前
株式会社アイシン
二酸化炭素回収システム
7日前
株式会社アイシン
静電容量センサシステム
28日前
株式会社アイシン
ペロブスカイト太陽電池
28日前
株式会社アイシン
車両用のドアロック装置
27日前
株式会社アイシン
バルブ装置の学習装置及び学習方法
1か月前
株式会社アイシン
バルブ制御装置及びバルブ制御方法
1か月前
株式会社アイシン
ペロブスカイト太陽電池の製造方法
15日前
株式会社アイシン
ペロブスカイト太陽電池及びカーボン液
6日前
株式会社アイシン
車両用制御装置及び車両用制御プログラム
7日前
株式会社アイシン
水性エマルジョン系制振塗料組成物及びその硬化塗膜
27日前
株式会社アイシン
ホール輸送材料およびホール輸送材料を用いた太陽電池
1か月前
株式会社アイシン
ホール輸送材料およびホール輸送材料を用いた太陽電池
1か月前
株式会社アイシン
ペロブスカイト太陽電池及びペロブスカイト太陽電池の製造方法
1か月前
株式会社アイシン
ナノ結晶軟磁性合金
1日前
トヨタ自動車株式会社
計数装置、計数方法及び計数用コンピュータプログラム
6日前
続きを見る
他の特許を見る