TOP
|
特許
|
意匠
|
商標
特許ウォッチ
Twitter
他の特許を見る
公開番号
2025173261
公報種別
公開特許公報(A)
公開日
2025-11-27
出願番号
2024078760
出願日
2024-05-14
発明の名称
位置姿勢取得装置
出願人
株式会社アイシン
代理人
弁理士法人アイテック国際特許事務所
主分類
H04N
23/741 20230101AFI20251119BHJP(電気通信技術)
要約
【課題】コストアップを抑制しつつ、周囲の光の影響に拘わらず充電インレットの位置姿勢を精度よく取得可能にする。
【解決手段】本開示の位置姿勢取得装置は、電動車両の充電インレットの位置姿勢を取得するものであり、充電インレットに赤外線を照射して充電インレットの赤外線画像を取得する撮像装置と、撮像装置により取得された赤外線画像のダイナミックレンジを広げる前処理部と、前処理部により処理された画像から充電インレットに含まれる凹部の撮像装置に近接した開口側エッジおよび当該凹部の撮像装置から離間した底側エッジを検出するエッジ検出部と、エッジ検出部により検出された開口側エッジおよび底側エッジに基づいて撮像装置に対する充電インレットの位置姿勢を推定する位置姿勢推定部とを含む。
【選択図】図4
特許請求の範囲
【請求項1】
電動車両の充電インレットの位置姿勢を取得する位置姿勢取得装置であって、
前記充電インレットに赤外線を照射して前記充電インレットの赤外線画像を取得する撮像装置と、
前記撮像装置により取得された前記赤外線画像のダイナミックレンジを広げる前処理部と、
前記前処理部により処理された画像から前記充電インレットに含まれる凹部の前記撮像装置に近接した開口側エッジおよび前記凹部の前記撮像装置から離間した底側エッジを検出するエッジ検出部と、
前記エッジ検出部により検出された前記開口側エッジおよび前記底側エッジに基づいて前記撮像装置に対する前記充電インレットの位置姿勢を推定する位置姿勢推定部と、
を備える位置姿勢取得装置。
続きを表示(約 980 文字)
【請求項2】
請求項1に記載の位置姿勢取得装置において、
前記位置姿勢推定部は、前記開口側エッジの特徴点と、前記底側エッジの特徴点とのズレ量から前記撮像装置に対する前記充電インレットの傾斜角度を算出すると共に、前記開口側エッジまたは前記底側エッジのサイズに基づいて前記撮像装置と前記充電インレットとの距離を算出する位置姿勢取得装置。
【請求項3】
請求項2に記載の位置姿勢取得装置において、
物体検出アルゴリズムを用いて前記前処理部により処理された画像に前記充電インレットが含まれているか否かを判定する物体検出部と、
前記前処理部により処理された画像における前記開口側エッジの探索範囲および前記底側エッジの探索範囲を設定するエッジ探索範囲設定部とを更に備え、
前記撮像装置は、前記充電インレットに対して挿抜される充電コネクタと共に充電コネクタ移動装置により支持され、
前記物体検出部は、前記前処理部により処理された画像に前記充電インレットが含まれていないときに、前記撮像装置により取得される前記赤外線画像に前記充電インレットが含まれるように前記充電コネクタ移動装置を動作させ、
前記エッジ検出部は、前記開口側エッジおよび前記底側エッジをそれぞれに対応した前記探索範囲から検出し、
前記位置姿勢推定部は、前記充電インレットの前記傾斜角度が所定角度以下であるときに、前記撮像装置と前記充電インレットとの距離を算出し、前記充電インレットの前記傾斜角度が所定角度を上回っているときに、前記撮像装置が前記傾斜角度をゼロにする方向に移動するように前記充電コネクタ移動装置を動作させる位置姿勢取得装置。
【請求項4】
請求項1から3の何れか一項に記載の位置姿勢取得装置において、
前記撮像装置は、2Dカメラと、前記充電インレットに赤外光を照射する照射ユニットと、前記充電インレットで反射した前記赤外光の前記2Dカメラへの入射を許容するバンドパスフィルタとを含み、
前記前処理部は、前記撮像装置により互いに異なる露光時間で撮像された複数の前記赤外線画像を合成してHDR画像を生成すると共に、生成した前記HDR画像にトーンマッピングを施す位置姿勢取得装置。
発明の詳細な説明
【技術分野】
【0001】
本開示は、電動車両の充電インレットの位置姿勢を取得するための位置姿勢取得装置に関する。
続きを表示(約 3,100 文字)
【背景技術】
【0002】
従来、ピッキングシステムを備えた生産ライン等に設置される物体認識装置が知られている(例えば、特許文献1参照)。この物体認識装置は、3Dセンサのカメラにより取り込まれた2D画像および3Dデータを用いて、テンプレートマッチングによりトレイ上のワークの位置・姿勢を認識する。また、従来、ニューラルネットワークを利用してRGBD画像から充電インレットの形式と充電インレット領域内のキーポイント(位置と姿勢)とを検出可能な姿勢推定装置(例えば、特許文献2参照)や、充電インレットの発見プロセスと姿勢検出プロセスとで2種類の畳み込みニューラルネットワーク(CNN)を使用してカメラの位置および向きに対する画像内の対象物の位置を推定する方法(例えば、特許文献3参照)が知られている。更に、従来、2D画像に基づいて電気自動車の充電インレットの識別および位置決めを行う自動システムが知られている(例えば、非特許文献1参照)。この自動システムは、自動露光で撮影された2Dのオリジナル画像と勾配画像とを融合して得られた画像輪郭情報を利用し、PnPアルゴリズムにより充電ポートの3次元の姿勢を取得する。
【先行技術文献】
【特許文献】
【0003】
特許第6936974号
米国特許出願公開第2023/102948号明細書
米国特許出願公開第2022/383543号明細書
Research on Fast Identification and Location of Contour Features of Electric Vehicle Charging Port in Complex Scenes, June 2021 IEEE Access PP(99):1-1
【発明の概要】
【発明が解決しようとする課題】
【0004】
しかしながら、3Dデータを得るための3Dセンサ(3Dカメラ)は高価であり、その使用環境は、光の影響を受けにくい室内等に限定されてしまう。また、ニューラルネットワークを利用して充電インレットの位置姿勢を取得する場合、大量の学習データや計算時間が必要となり、当該ニューラルネットワークの構築コストを低下させるのは容易ではない。更に、非特許文献1に記載された技術では、自動露光で撮影された2D画像から陰影の差が大きい画像輪郭情報を取得することが容易ではなく、楕円の使用に起因してPnPアルゴリズムを用いた姿勢の取得に際して特徴位置にズレを生じるおそれがある。
【0005】
そこで、本開示は、コストアップを抑制しつつ、周囲の光の影響に拘わらず充電インレットの位置姿勢を精度よく取得可能にすることを主目的とする。
【課題を解決するための手段】
【0006】
本開示の位置姿勢取得装置は、電動車両の充電インレットの位置姿勢を取得する位置姿勢取得装置であって、前記充電インレットに赤外線を照射して前記充電インレットの赤外線画像を取得する撮像装置と、前記撮像装置により取得された前記赤外線画像のダイナミックレンジを広げる前処理部と、前記前処理部により処理された画像から前記充電インレットに含まれる凹部の前記撮像装置に近接した開口側エッジおよび前記凹部の前記撮像装置から離間した底側エッジを検出するエッジ検出部と、前記エッジ検出部により検出された前記開口側エッジおよび前記底側エッジに基づいて前記撮像装置に対する前記充電インレットの位置姿勢を推定する位置姿勢推定部とを含むものである。
【0007】
本開示の位置姿勢取得装置は、撮像装置と、前処理部と、エッジ検出部と、位置姿勢推定部とを含む。撮像装置は、充電インレットに赤外線を照射して当該充電インレットの赤外線画像を取得する。これにより、周囲の光の影響が抑えられた赤外線画像を安定に得ることができる。また、前処理部は、撮像装置により取得された赤外線画像のダイナミックレンジを広げる。これにより、充電インレットのエッジ(輪郭線)に白飛びや黒潰れが生じていない画像を得ることが可能になる。更に、エッジ検出部は、前処理部により処理された画像から充電インレットに含まれる凹部の撮像装置に近接した開口側エッジおよび当該凹部の撮像装置から離間した底面側エッジを検出する。そして、位置姿勢推定部は、エッジ検出部により検出された開口側エッジおよび底面側エッジに基づいて撮像装置に対する充電インレットの位置姿勢を推定する。これにより、高価な3DカメラやToFカメラ等を用いることなく開口側エッジおよび底面側エッジを精度よく検出すると共に、予め判明している充電インレットの諸元(寸法)を利用して開口側エッジおよび底面側エッジのサイズや位置ズレの度合いから撮像装置に対する充電インレットの位置姿勢を精度よく推定することができる。この結果、コストアップを抑制しつつ、周囲の光の影響に拘わらず充電インレットの位置姿勢を精度よく取得することが可能になる。
【0008】
本開示の位置姿勢取得方法は、電動車両の充電インレットの位置姿勢を取得する位置姿勢取得方法であって、前記充電インレットに赤外線を照射して前記充電インレットの赤外線画像を取得し、取得した前記赤外線画像のダイナミックレンジを広げ、ダイナミックレンジが広げられた画像から前記充電インレットに含まれる凹部の前記撮像装置に近接した開口側エッジおよび前記凹部の前記撮像装置から離間した底側エッジを検出し、検出した前記開口側エッジおよび前記底側エッジに基づいて前記撮像装置に対する前記充電インレットの位置姿勢を推定するものである。かかる方法によれば、コストアップを抑制しつつ、周囲の光の影響に拘わらず充電インレットの位置姿勢を精度よく取得することが可能になる。
【図面の簡単な説明】
【0009】
本開示の位置姿勢取得装置を含む充電コネクタ挿抜装置が適用された駐車設備を示す概略構成図である。
電動車両の充電インレットを示す平面図である。
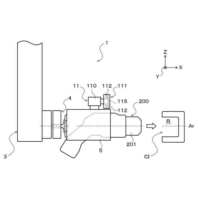
本開示の位置姿勢取得装置を含む充電コネクタ挿抜装置を示す概略構成図である。
本開示の位置姿勢取得装置を示す制御ブロック図である。
本開示の位置姿勢取得装置の画像取得部および前処理部により実行されるルーチンを示すフローチャートである。
本開示の位置姿勢取得装置の物体検出部により実行されるルーチンを示すフローチャートである。
本開示の位置姿勢取得装置のエッジ探索領域設定部により実行されるルーチンを示すフローチャートである。
本開示の位置姿勢取得装置のエッジ検出部により実行されるルーチンを示すフローチャートである。
本開示の位置姿勢取得装置の位置姿勢推定部により実行されるルーチンを示すフローチャートである。
本開示の位置姿勢取得装置の位置姿勢推定部による充電インレットの位置姿勢の推定手順を説明するための説明図である。
本開示の位置姿勢取得装置の位置姿勢推定部による充電インレットの位置姿勢の推定手順を説明するための説明図である。
本開示の位置姿勢取得装置の位置姿勢推定部による充電インレットの位置姿勢の推定手順を説明するための図表である。
【発明を実施するための形態】
【0010】
次に、図面を参照しながら、本開示の発明を実施するための形態について説明する。
(【0011】以降は省略されています)
この特許をJ-PlatPat(特許庁公式サイト)で参照する
関連特許
株式会社アイシン
車両
7日前
株式会社アイシン
車両
7日前
株式会社アイシン
ロータ
1か月前
株式会社アイシン
ロータ
1か月前
株式会社アイシン
歯車機構
1か月前
株式会社アイシン
熱交換器
7日前
株式会社アイシン
熱交換器
7日前
株式会社アイシン
環境認識装置
1か月前
株式会社アイシン
走行制御装置
1か月前
株式会社アイシン
折り畳み装置
1か月前
株式会社アイシン
キックセンサ
20日前
株式会社アイシン
電力変換装置
20日前
株式会社アイシン
ヒートシンク
20日前
株式会社アイシン
動力変換装置
7日前
株式会社アイシン
ガス検出装置
1か月前
株式会社アイシン
操作検出装置
1日前
株式会社アイシン
折り畳み装置
1か月前
株式会社アイシン
車両用駆動装置
20日前
株式会社アイシン
ドアロック装置
1か月前
株式会社アイシン
車両用ドア装置
20日前
株式会社アイシン
冷却モジュール
20日前
株式会社アイシン
車両用駆動装置
7日前
株式会社アイシン
回転角検出装置
7日前
株式会社アイシン
車両用駆動装置
22日前
株式会社アイシン
サンルーフ装置
1か月前
株式会社アイシン
露光制御システム
1か月前
株式会社アイシン
燃料電池システム
1か月前
株式会社アイシン
燃料電池システム
1か月前
株式会社アイシン
燃料電池システム
1か月前
株式会社アイシン
位置姿勢取得装置
今日
株式会社アイシン
車両用駆動伝達装置
22日前
株式会社アイシン
車両用駆動伝達装置
7日前
株式会社アイシン
車両用駆動伝達装置
23日前
株式会社アイシン
ペロブスカイト太陽電池
21日前
株式会社アイシン
二酸化炭素回収システム
今日
株式会社アイシン
車両用のドアロック装置
20日前
続きを見る
他の特許を見る