TOP
|
特許
|
意匠
|
商標
特許ウォッチ
Twitter
他の特許を見る
公開番号
2025155632
公報種別
公開特許公報(A)
公開日
2025-10-14
出願番号
2024178258
出願日
2024-10-10
発明の名称
歯車機構
出願人
株式会社アイシン
代理人
弁理士法人近島国際特許事務所
主分類
F16H
1/06 20060101AFI20251002BHJP(機械要素または単位;機械または装置の効果的機能を生じ維持するための一般的手段)
要約
【課題】伝達効率が良好で、セルフロックが発生しない歯車機構を提供すること。
【解決手段】第1歯車(2)と、第1歯車(2)に噛合する歯溝(3Ag)を有する第2歯車(3)と、を備えた歯車機構(1)において、第2歯車(3)は、歯溝(3Ag)が第2軸(AX2)の軸方向に直交する断面において弧形状を含む形状に形成された、捩れ歯車で構成され、第1歯車(2)は、軸方向に直交する断面における外形形状が第1軸(AX1)の軸方向における何れの位置の断面でも円形状であり、軸方向視で、軸方向に並ぶ複数の円形状の中心位置が、第1軸(AX1)に対してそれぞれ偏心された位置で、かつ第1軸(AX1)を中心とした円周方向の位置が異なるように配置されている。
【選択図】図2
特許請求の範囲
【請求項1】
第1軸上で回転可能に配置された第1歯車と、前記第1歯車に噛合する歯溝を有し、かつ第2軸上で回転可能に配置された第2歯車と、を備えた歯車機構であって、
前記第2歯車は、前記歯溝が前記第2軸の軸方向に直交する断面において弧形状を含む形状に形成された、捩れ歯車で構成され、
前記第1歯車は、
前記第1軸の軸方向に直交する断面における外形形状が前記第1軸の軸方向における何れの位置の断面でも円形状であり、
前記第1軸の軸方向視で、前記第1軸の軸方向に並ぶ複数の前記円形状の中心位置が、前記第1軸に対してそれぞれ偏心された位置で、かつ前記第1軸を中心とした円周方向の位置が異なるように配置された、
歯車機構。
続きを表示(約 530 文字)
【請求項2】
第1軸上で回転可能に配置された第1歯車と、前記第1歯車に噛合する歯溝を有し、かつ第2軸上で回転可能に配置された第2歯車と、を備えた歯車機構であって、
前記第2歯車は、前記歯溝が前記第2軸の軸方向に直交する断面において弧形状を含む形状に形成され、前記第2軸の軸方向に並びかつ円周方向の位相が異なるように配置された、複数の平歯車で構成され、
前記第1歯車は、
前記第1軸の軸方向において前記複数の平歯車に対応するように並ぶ複数の円筒部を有し、かつ前記第1軸の軸方向に直交する断面における外形形状が前記第1軸の軸方向における何れの位置の断面でも円形状であり、
前記第1軸の軸方向視で、前記複数の円筒部の中心位置が、前記第1軸に対してそれぞれ偏心された位置で、かつ前記第1軸を中心とした円周方向の位置が異なるように配置された、
歯車機構。
【請求項3】
前記第2軸は、前記第1軸に平行に配置された、
請求項1又は2に記載の歯車機構。
【請求項4】
前記弧形状は、前記第2軸の軸方向に直交する断面においてサイクロイド曲線の形状である、
請求項1又は2に記載の歯車機構。
発明の詳細な説明
【技術分野】
【0001】
本発明は、第1歯車とそれに噛合する第2歯車とを備えた歯車機構に関する。
続きを表示(約 2,000 文字)
【背景技術】
【0002】
一般に、第1歯車と第2歯車とが互いに歯合することで連動して回転し、これによって回転伝達を行う歯車機構が種々存在している。このような歯車機構の中には、外形形状が円筒形で歯形が形成された円筒ウォームと、それに歯合するウォームホイールと、を備えたウォームギヤも提案されている(特許文献1参照)。
【先行技術文献】
【特許文献】
【0003】
特開2000-314464号公報
【発明の概要】
【発明が解決しようとする課題】
【0004】
上記のようなウォームギヤは、回転の伝達時にあって、円筒ウォームの歯とウォームホイールの歯との間に滑りが多く、伝達効率が悪いという問題がある。また、ウォームギヤは、特に減速比を大きくしていくと、円筒ウォームの回転をウォームホイールに伝達可能であるものの、ウォームホイールの回転を円筒ウォームに伝達できない、所謂セルフロックが生じる。このため、例えば駆動・非駆動が切換る自動車の変速機構に用いることが難しい等、用途が限定的になるという問題がある。
【0005】
そこで本発明は、伝達効率が良好で、セルフロックが発生しない歯車機構を提供することを目的とするものである。
【課題を解決するための手段】
【0006】
本発明の一態様は、第1軸上で回転可能に配置された第1歯車と、前記第1歯車に噛合する歯溝を有し、かつ第2軸上で回転可能に配置された第2歯車と、を備えた歯車機構であって、前記第2歯車は、前記歯溝が前記第2軸の軸方向に直交する断面において弧形状を含む形状に形成された、捩れ歯車で構成され、
前記第1歯車は、前記第1軸の軸方向に直交する断面における外形形状が前記第1軸の軸方向における何れの位置の断面でも円形状であり、前記第1軸の軸方向視で、前記第1軸の軸方向に並ぶ複数の前記円形状の中心位置が、前記第1軸に対してそれぞれ偏心された位置で、かつ前記第1軸を中心とした円周方向の位置が異なるように配置された、歯車機構である。
【0007】
本発明の一態様は、第1軸上で回転可能に配置された第1歯車と、前記第1歯車に噛合する歯溝を有し、かつ第2軸上で回転可能に配置された第2歯車と、を備えた歯車機構であって、前記第2歯車は、前記歯溝が前記第2軸の軸方向に直交する断面において弧形状を含む形状に形成され、前記第2軸の軸方向に並びかつ円周方向の位相が異なるように配置された、複数の平歯車で構成され、前記第1歯車は、前記第1軸の軸方向において前記複数の平歯車に対応するように並ぶ複数の円筒部を有し、かつ前記第1軸の軸方向に直交する断面における外形形状が前記第1軸の軸方向における何れの位置の断面でも円形状であり、前記第1軸の軸方向視で、前記複数の円筒部の中心位置が、前記第1軸に対してそれぞれ偏心された位置で、かつ前記第1軸を中心とした円周方向の位置が異なるように配置された、歯車機構である。
【発明の効果】
【0008】
本発明によると、伝達効率が良好で、セルフロックが発生しない歯車機構を提供することができる。
【図面の簡単な説明】
【0009】
第1実施形態に係る歯車機構を示す側方視図である。
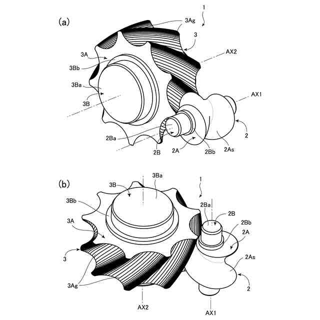
(a)は第1実施形態に係る歯車機構を側方かつ上方から視た状態を示す斜視図である。(b)は第1実施形態に係る歯車機構を側方かつ軸方向から視た状態を示す斜視図である。
(a)は図1のA-A矢視断面図である。(b)は図1のB-B矢視断面図である。(c)は図1のC-C矢視断面図である。
(a)は図1のD-D矢視断面図である。(b)は図1のE-E矢視断面図である。(c)は図1のF-F矢視断面図である。
(a)は図1のG-G矢視断面図である。(b)は図1のH-H矢視断面図である。(c)は図1のI-I矢視断面図である。
(a)は第2実施形態に係る歯車機構を示す軸方向視図である。(b)は第2実施形態に係る歯車機構を側方かつ上方から視た状態を示す斜視図である。(c)は図6(b)とは異なる角度から視た状態を示す斜視図である。
(a)は第3実施形態に係る歯車機構を示す斜視図である。(b)は第3実施形態に係る歯車機構を図7(a)とは別の角度から視た斜視図である。(c)は第3実施形態に係る歯車機構を図7(a)及び図7(b)とは別の角度から視た斜視図である。
第3実施形態に係る歯車機構を示す断面図である。
【発明を実施するための形態】
【0010】
<第1実施形態>
以下、第1実施形態に係る歯車機構1について図を用いて説明する。
(【0011】以降は省略されています)
この特許をJ-PlatPat(特許庁公式サイト)で参照する
関連特許
株式会社アイシン
車両
6日前
株式会社アイシン
車両
6日前
株式会社アイシン
熱交換器
6日前
株式会社アイシン
熱交換器
6日前
株式会社アイシン
操作検出装置
今日
株式会社アイシン
ヒートシンク
19日前
株式会社アイシン
動力変換装置
6日前
株式会社アイシン
キックセンサ
19日前
株式会社アイシン
電力変換装置
19日前
株式会社アイシン
車両用駆動装置
21日前
株式会社アイシン
冷却モジュール
19日前
株式会社アイシン
車両用ドア装置
19日前
株式会社アイシン
車両用駆動装置
19日前
株式会社アイシン
車両用駆動装置
6日前
株式会社アイシン
回転角検出装置
6日前
株式会社アイシン
車両用駆動伝達装置
6日前
株式会社アイシン
車両用駆動伝達装置
21日前
株式会社アイシン
車両用駆動伝達装置
22日前
株式会社アイシン
車両用のドアロック装置
19日前
株式会社アイシン
ペロブスカイト太陽電池
20日前
株式会社アイシン
静電容量センサシステム
20日前
株式会社アイシン
バルブ制御装置及びバルブ制御方法
22日前
株式会社アイシン
ペロブスカイト太陽電池の製造方法
7日前
株式会社アイシン
バルブ装置の学習装置及び学習方法
22日前
株式会社アイシン
水性エマルジョン系制振塗料組成物及びその硬化塗膜
19日前
株式会社アイシン
ホール輸送材料およびホール輸送材料を用いた太陽電池
29日前
株式会社アイシン
ホール輸送材料およびホール輸送材料を用いた太陽電池
27日前
株式会社アイシン
ペロブスカイト太陽電池及びペロブスカイト太陽電池の製造方法
1か月前
ミクロエース株式会社
被覆銅材の剥離処理方法、処理装置、処理装置制御部およびプログラム
27日前
個人
留め具
1か月前
個人
鍋虫ねじ
3か月前
個人
回転伝達機構
3か月前
個人
紛体用仕切弁
3か月前
個人
ホース保持具
7か月前
個人
差動歯車用歯形
5か月前
個人
トーションバー
7か月前
続きを見る
他の特許を見る