TOP
|
特許
|
意匠
|
商標
特許ウォッチ
Twitter
他の特許を見る
10個以上の画像は省略されています。
公開番号
2025161037
公報種別
公開特許公報(A)
公開日
2025-10-24
出願番号
2024063886
出願日
2024-04-11
発明の名称
ペロブスカイト太陽電池及びペロブスカイト太陽電池の製造方法
出願人
株式会社アイシン
代理人
弁理士法人R&C
主分類
H10K
30/50 20230101AFI20251017BHJP()
要約
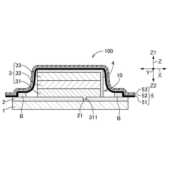
【課題】保護層とバスバーとの短絡を防止できるペロブスカイト太陽電池、及び作業性の高いペロブスカイト太陽電池の製造方法を提供する。
【解決手段】ペロブスカイト太陽電池100は、基板1上に配置される導電性の導電層2と、導電層2上に配置され、光エネルギーを吸収して電気エネルギーに変換する太陽電池セル3と、を有する積層体10と、導電層2上に配置され、積層体10に電気的に接続されるバスバーBと、絶縁部51と導電部52とを有し、太陽電池セル3を保護する保護層5と、を備え、バスバーBは、保護層5の絶縁部51に覆われている。
【選択図】図1
特許請求の範囲
【請求項1】
基板上に配置される導電性の導電層と、前記導電層上に配置され、光エネルギーを吸収して電気エネルギーに変換する太陽電池セルと、を有する積層体と、
前記導電層上に配置され、前記積層体に電気的に接続されるバスバーと、
絶縁部と導電部とを有し、前記太陽電池セルを保護する保護層と、を備え、
前記バスバーは、前記保護層の前記絶縁部に覆われているペロブスカイト太陽電池。
続きを表示(約 470 文字)
【請求項2】
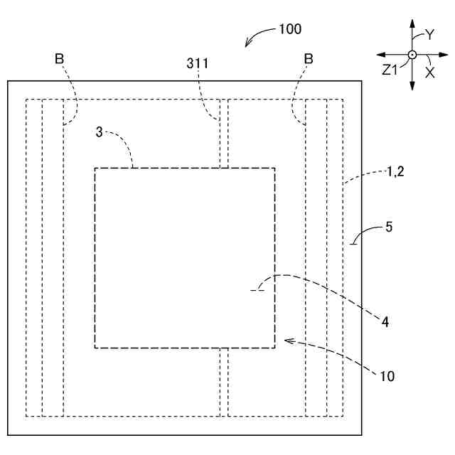
平面視における前記保護層の面積は、前記基板の面積よりも大きい請求項1に記載のペロブスカイト太陽電池。
【請求項3】
導電性の導電層と、光エネルギーを吸収して電気エネルギーに変換する太陽電池セルと、をこの順に基板上に配置して積層体を形成する積層体形成工程と、
絶縁部と導電部とを有し、平面視における面積が前記基板の面積よりも大きい保護層の下面に形成された前記絶縁部と、前記積層体に電気的に接続されるバスバーの上面とを接着するバスバー接着工程と、
前記バスバー接着工程の後、前記保護層の下面に形成された前記絶縁部及び前記バスバーの下面と前記導電層の上面とを接着する積層体接着工程と、
前記積層体接着工程の後、前記基板の外周端よりも外側にある前記保護層を除去する除去工程と、を有するペロブスカイト太陽電池の製造方法。
【請求項4】
前記バスバー接着工程では、絶縁性を有する接着シートを用いて前記保護層と前記バスバーとを接着する請求項3に記載のペロブスカイト太陽電池の製造方法。
発明の詳細な説明
【技術分野】
【0001】
本発明は、ペロブスカイト太陽電池及びペロブスカイト太陽電池の製造方法に関する。
続きを表示(約 1,700 文字)
【背景技術】
【0002】
太陽の光エネルギーを電気エネルギーに変換する太陽電池の一種であるペロブスカイト太陽電池は、他の太陽電池と比較してエネルギー変換効率が高いこと、軽量であること等を理由として注目されている。しかしながら、ペロブスカイト太陽電池の有する太陽電池セルは、酸素や水等によって劣化し易いという課題があり、これらの課題に対する様々な技術が提案されている(例えば、特許文献1~2参照)。
【0003】
特許文献1には、基板上に配置された太陽電池セル(特許文献1では、有機EL素子)を封止膜で覆い、封止膜上にエポキシ樹脂を主成分とするシール剤を介して保護層(特許文献1では、封止部材)を配置し、太陽電池セルを大気と遮断する方法が記載されている。
【0004】
特許文献2には、金属箔からなる導電部(特許文献2では、ガスバリア性フィルム)と、樹脂等の粘着性を有する絶縁部(特許文献2では、粘着剤層)とを有する保護層(特許文献2では、封止シート)により封止される封止体が記載されている。
【先行技術文献】
【特許文献】
【0005】
特開2007-59094号公報
特開2018-168304号公報
【発明の概要】
【発明が解決しようとする課題】
【0006】
特許文献1に記載の方法では、シール剤を用いて保護層を封止膜上に配置するため、シール剤には、封止膜上に塗布する際の塗布性や、封止膜及び保護層との接着性、外力等に対する耐久性等が要求されていた。そのため、シール剤の材料には制約があった。また、シール剤は、封止膜上に塗布した後に硬化させる必要があることから作業時間が長く、作業効率の高いものではなかった。
【0007】
特許文献2に記載の封止体では、加熱圧着により保護層が基板に貼着される。保護層は絶縁部と導電部とが積層されたものであり、平面視において絶縁部と導電部との面積は略同一である。このような保護層を、太陽電池セルと絶縁部とが接触するようにして、基板に加熱圧着した場合には、保護層の外端縁の導電部と基板上の導電層とが接触してショートが発生するおそれがあった。保護層はシート状の材料を切断したものであるので、導電部と導電層との短絡を抑制するためには、ギャング式等の複雑な切断工法を用いてシートを切断して保護層の切断面を養生する必要があり、製造コストが上昇していた。
【0008】
また、ペロブスカイト太陽電池においては、太陽電池セル等と電気的に接続するバスバーが、太陽電池セルと離間した状態で基板上に配置される。太陽電池セルは保護層によって覆われているので、保護層の外端縁にある導電部とバスバーとの接触を防ぐためには、バスバーと保護層とを離間させて配置する必要があった。このため、太陽電池セルに対する基板の面積が増大し、ペロブスカイト太陽電池の面積当たりの発電量が低下していた。また、保護層の貼着は、太陽電池セル及びバスバーが基板に配置された状態で行われるため、保護層の位置決めを高精度で行う必要があった。
【0009】
本発明は、上記の課題に鑑みてなされたものであり、その目的は、保護層とバスバーとの短絡を防止できるペロブスカイト太陽電池、及び作業性の高いペロブスカイト太陽電池の製造方法を提供することにある。
【課題を解決するための手段】
【0010】
本発明に係るペロブスカイト太陽電池の特徴構成は、基板上に配置される導電性の導電層と、前記導電層上に配置され、光エネルギーを吸収して電気エネルギーに変換する太陽電池セルと、を有する積層体と、前記導電層上に配置され、前記積層体に電気的に接続されるバスバーと、絶縁部と導電部とを有し、前記太陽電池セルを保護する保護層と、を備え、前記バスバーは、前記保護層の前記絶縁部に覆われている点にある。
(【0011】以降は省略されています)
この特許をJ-PlatPat(特許庁公式サイト)で参照する
関連特許
株式会社アイシン
ロータ
1か月前
株式会社アイシン
ロータ
1か月前
株式会社アイシン
ロータ
1か月前
株式会社アイシン
保護装置
1か月前
株式会社アイシン
回転電機
1か月前
株式会社アイシン
歯車機構
1か月前
株式会社アイシン
回転電機
1か月前
株式会社アイシン
制御装置
1か月前
株式会社アイシン
制御装置
1か月前
株式会社アイシン
車体構造
1か月前
株式会社アイシン
制御装置
1か月前
株式会社アイシン
制御装置
1か月前
株式会社アイシン
駆動装置
1か月前
株式会社アイシン
ステータ
1か月前
株式会社アイシン
ステータ
1か月前
株式会社アイシン
ステータ
1か月前
株式会社アイシン
電子機器
1か月前
株式会社アイシン
ステータ
1か月前
株式会社アイシン
検知装置
1か月前
株式会社アイシン
駆動装置
1か月前
株式会社アイシン
回転電機
1か月前
株式会社アイシン
レーダ装置
1か月前
株式会社アイシン
温度調節器
1か月前
株式会社アイシン
駐車支援装置
1か月前
株式会社アイシン
電解システム
1か月前
株式会社アイシン
出庫支援装置
1か月前
株式会社アイシン
開閉システム
1か月前
株式会社アイシン
キックセンサ
8日前
株式会社アイシン
超音波センサ
1か月前
株式会社アイシン
運転支援装置
1か月前
株式会社アイシン
運転支援装置
1か月前
株式会社アイシン
電力変換装置
8日前
株式会社アイシン
案内システム
1か月前
株式会社アイシン
超音波センサ
1か月前
株式会社アイシン
振動発生装置
1か月前
株式会社アイシン
衝撃吸収部材
1か月前
続きを見る
他の特許を見る