TOP
|
特許
|
意匠
|
商標
特許ウォッチ
Twitter
他の特許を見る
公開番号
2025154650
公報種別
公開特許公報(A)
公開日
2025-10-10
出願番号
2024057766
出願日
2024-03-29
発明の名称
環境認識装置
出願人
株式会社アイシン
代理人
弁理士法人酒井国際特許事務所
主分類
G01C
21/30 20060101AFI20251002BHJP(測定;試験)
要約
【課題】環境地図を生成する際に記憶容量を削減すること。
【解決手段】本発明の環境認識装置は、車両の変速操作部の位置であるシフト位置に基づいて、前記車両の進行方向を判定する判定部と、前記車両の前部、後部、側部に設けられる複数の撮像部のそれぞれで撮像された画像を取得する画像取得部と、前記複数の撮像部のそれぞれで撮像された画像のうち、前記車両の進行方向となる前記前部または前記後部及び前記側部の前記撮像部により撮像された前記画像を選択する画像選択部と、選択された画像のそれぞれに対して特徴点を検出する特徴点検出部と、前記特徴点ごとの対応点を検出し、前記対応点に基づいて自己位置を推定し、環境地図を生成する環境認識部と、を備える。
【選択図】図4
特許請求の範囲
【請求項1】
車両の変速操作部の位置であるシフト位置に基づいて、前記車両の進行方向を判定する判定部と、
前記車両の前部、後部、側部に設けられる複数の撮像部のそれぞれで撮像された画像を取得する画像取得部と、
前記複数の撮像部のそれぞれで撮像された画像のうち、前記車両の進行方向となる前記前部または前記後部及び前記側部の前記撮像部により撮像された前記画像を選択する画像選択部と、
選択された画像のそれぞれに対して特徴点を検出する特徴点検出部と、
前記特徴点ごとの対応点を検出し、前記対応点に基づいて自己位置を推定し、環境地図を生成する環境認識部と、
を備える環境認識装置。
続きを表示(約 340 文字)
【請求項2】
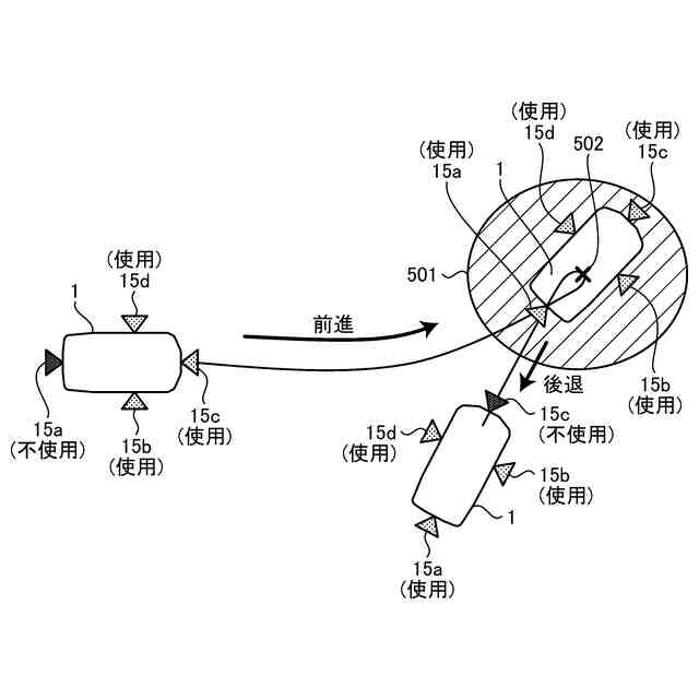
前記画像選択部は、前記車両が、前記シフト位置が前進と後退との一方から他方に切り替わる切り返し地点から所定距離の範囲内で移動する間は、すべての撮像部で撮像された画像を選択する、
請求項1に記載の環境認識装置。
【請求項3】
前記環境認識部は、さらに、前記対応点の精度に基づいて前記対応点の一部を除外し、除外された後の前記対応点に基づいて前記環境地図を生成する、
請求項1に記載の環境認識装置。
【請求項4】
前記環境認識部は、前記画像を入力して前記精度としての前記対応点の強度を出力する学習済みモデルを用いて、前記対応点の強度が所定の閾値以下である前記対応点を除外する、
請求項3に記載の環境認識装置。
発明の詳細な説明
【技術分野】
【0001】
本発明は、環境認識装置に関する。
続きを表示(約 1,700 文字)
【背景技術】
【0002】
従来から、撮像装置から得られる映像データ等の画像から現在の自己位置を三次元で推定して環境地図を生成する技術として、Visual-SLAM(Simultaneous Localization and Mapping:以下、「VSLAM」と称する。)技術が知られている。例えば、特許文献1には、エッジ検出と組合せによって有効な特徴点を選択し、これにより不要な特徴点を除去しつつ、特徴点を一定量確保することで、効率的なVSLAM技術を実現することが開示されている。
【先行技術文献】
【特許文献】
【0003】
特開2023-148235号公報
【発明の概要】
【発明が解決しようとする課題】
【0004】
しかしながら、このような従来技術では、車両に搭載された全ての撮像装置で、車両周辺の環境地図の作成を行うため、記憶容量が膨大となる。
【0005】
本発明は、上記に鑑みてなされたものであって、環境地図を生成する際に記憶容量を削減することができる環境認識装置を提供することを主な目的とする。
【課題を解決するための手段】
【0006】
本発明に係る環境認識装置は、車両の変速操作部の位置であるシフト位置に基づいて、前記車両の進行方向を判定する判定部と、前記車両の前部、後部、側部に設けられる複数の撮像部のそれぞれで撮像された画像を取得する画像取得部と、前記複数の撮像部のそれぞれで撮像された画像のうち、前記車両の進行方向となる前記前部または前記後部及び前記側部の前記撮像部により撮像された前記画像を選択する画像選択部と、選択された画像のそれぞれに対して特徴点を検出する特徴点検出部と、前記特徴点ごとの対応点を検出し、前記対応点に基づいて自己位置を推定し、環境地図を生成する環境認識部と、を備える。
【発明の効果】
【0007】
本発明に係る環境認識装置によれば、環境地図を生成する際に記憶容量を削減することができる。
【図面の簡単な説明】
【0008】
図1は、第1の実施形態にかかる車両の車室の一部が透視された状態の一例が示された斜視図である。
図2は、第1の実施形態にかかる車両の一例の平面図である。
図3は、第1の実施形態にかかる車両の構成の一例を示すブロック図である。
図4は、第1の実施形態にかかる車両が有するECUの機能構成の一例を示すブロック図である。
図5は、第1の実施形態において車両1が切り返しを行う場合と撮像部の使用の関係の一例を説明するための図である。
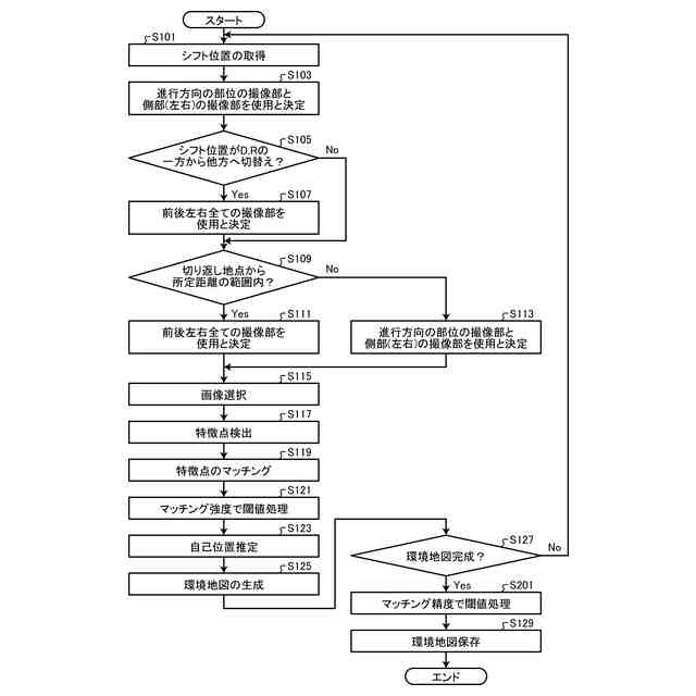
図6は、第1の実施形態にかかる環境認識処理の手順の一例を示すフローチャートである。
図7は、第2の実施形態の第2の手法について説明するための図である。
図8は、第2の実施形態にかかる環境認識処理の手順の一例を示すフローチャートである。
【発明を実施するための形態】
【0009】
以下、本発明の例示的な実施形態が開示される。以下に示される実施形態の構成、ならびに当該構成によってもたらされる作用、結果、及び効果は、一例である。本発明は、以下の実施形態に開示される構成以外によって実現可能であるとともに、基本的な構成に基づく種々の効果や、派生的な効果のうち、少なくとも1つを得ることが可能である。
【0010】
(第1の実施形態)
本実施形態にかかる車両は、内燃機関(エンジン)を駆動源とする自動車(内燃機関自動車)であっても良いし、電動機(モータ)を駆動源とする自動車(電気自動車、燃料電池自動車等)であっても良いし、それらの双方を駆動源とする自動車(ハイブリッド自動車)であっても良い。また、車両は、種々の変速装置、内燃機関や電動機の駆動に必要な種々の装置(システム、部品等)を搭載可能である。また、車両における車輪の駆動に関わる装置の方式、個数、レイアウト等は、種々に設定可能である。
(【0011】以降は省略されています)
この特許をJ-PlatPat(特許庁公式サイト)で参照する
関連特許
株式会社アイシン
車両
3日前
株式会社アイシン
車両
3日前
株式会社アイシン
熱交換器
3日前
株式会社アイシン
熱交換器
3日前
株式会社アイシン
動力変換装置
3日前
株式会社アイシン
キックセンサ
16日前
株式会社アイシン
電力変換装置
16日前
株式会社アイシン
ヒートシンク
16日前
株式会社アイシン
冷却モジュール
16日前
株式会社アイシン
ドアロック装置
1か月前
株式会社アイシン
車両用駆動装置
18日前
株式会社アイシン
サンルーフ装置
1か月前
株式会社アイシン
車両用ドア装置
16日前
株式会社アイシン
車両用駆動装置
16日前
株式会社アイシン
回転角検出装置
3日前
株式会社アイシン
車両用駆動装置
3日前
株式会社アイシン
車両用駆動伝達装置
3日前
株式会社アイシン
車両用駆動伝達装置
19日前
株式会社アイシン
車両用駆動伝達装置
18日前
株式会社アイシン
車両用のドアロック装置
16日前
株式会社アイシン
静電容量センサシステム
17日前
株式会社アイシン
ペロブスカイト太陽電池
17日前
株式会社アイシン
バルブ制御装置及びバルブ制御方法
19日前
株式会社アイシン
ペロブスカイト太陽電池の製造方法
4日前
株式会社アイシン
バルブ装置の学習装置及び学習方法
19日前
株式会社アイシン
水性エマルジョン系制振塗料組成物及びその硬化塗膜
16日前
株式会社豊田中央研究所
非接触給電可能な回転電機
1か月前
株式会社アイシン
ホール輸送材料およびホール輸送材料を用いた太陽電池
24日前
株式会社アイシン
ホール輸送材料およびホール輸送材料を用いた太陽電池
26日前
株式会社アイシン
ペロブスカイト太陽電池及びペロブスカイト太陽電池の製造方法
1か月前
株式会社豊田中央研究所
体重推定装置、体重推定方法、及び体重推定プログラム
1か月前
ミクロエース株式会社
被覆銅材の剥離処理方法、処理装置、処理装置制御部およびプログラム
24日前
個人
メジャー文具
1か月前
個人
採尿及び採便具
24日前
日本精機株式会社
検出装置
18日前
個人
計量機能付き容器
13日前
続きを見る
他の特許を見る