TOP
|
特許
|
意匠
|
商標
特許ウォッチ
Twitter
他の特許を見る
公開番号
2025173198
公報種別
公開特許公報(A)
公開日
2025-11-27
出願番号
2024078665
出願日
2024-05-14
発明の名称
車両用制御装置及び車両用制御プログラム
出願人
株式会社アイシン
代理人
個人
,
個人
,
個人
主分類
B60H
1/22 20060101AFI20251119BHJP(車両一般)
要約
【課題】コンプレッサの回転数が制限される状況下でも、車室内の良好な快適性を確保する。
【解決手段】車載空調装置のコンプレッサの回転数の増加が制限される制限状況を予測する予測部と、コンプレッサの回転数を、コンプレッサの制御装置を介して又は直接的に、制御するコンプレッサ制御部と、車載空調装置のヒータコア又はクーラーコアを加熱又は冷却するための水の流量であって、コンプレッサの回転数に応じたエネルギを受ける又は放出する水の流量を、水の流路に設けられる流量調整手段を介して制御する流量制御部とを備え、予測部により制限状況が予測された場合に、制限状況に至る前に、コンプレッサ制御部によりコンプレッサの回転数を増加するとともに、流量制御部により水の流量を低減する、車両用制御装置が開示される。
【選択図】図3
特許請求の範囲
【請求項1】
車載空調装置のコンプレッサの回転数の増加が制限される制限状況を予測する予測部と、
前記コンプレッサの回転数を、前記コンプレッサの制御装置を介して又は直接的に、制御するコンプレッサ制御部と、
前記車載空調装置のヒータコア又はクーラーコアを加熱又は冷却するための水の流量であって、前記コンプレッサの回転数に応じたエネルギを受ける又は放出する水の流量を、前記水の流路に設けられる流量調整手段を介して制御する流量制御部とを備え、
前記予測部により前記制限状況が予測された場合に、前記制限状況に至る前に、前記コンプレッサ制御部により前記コンプレッサの回転数を増加するとともに、前記流量制御部により前記水の流量を低減する、車両用制御装置。
続きを表示(約 680 文字)
【請求項2】
前記制限状況は、車速又は平均車速があらかじめ定められた閾値以下となる状況を含む、請求項1に記載の車両用制御装置。
【請求項3】
前記流量制御部は、前記予測部により前記制限状況が予測された場合に、前記ヒータコア又はクーラーコアを通過した後の空気の温度が、前記予測部により前記制限状況が予測される前と後で、変化しないように、前記水の流量を低減する、請求項1に記載の車両用制御装置。
【請求項4】
前記流量制御部は、前記制限状況において、前記水の流量を、前記予測部による前記制限状況の予測に基づき低減された流量よりも大きくする、請求項1から3のうちのいずれか1項に記載の車両用制御装置。
【請求項5】
車載空調装置のコンプレッサの回転数の増加が制限される制限状況を予測する予測処理と、
前記コンプレッサの回転数を、前記コンプレッサの制御装置を介して又は直接的に、制御するコンプレッサ制御処理と、
前記車載空調装置のヒータコア又はクーラーコアを加熱又は冷却するための水の流量であって、前記コンプレッサの回転数に応じたエネルギを受ける又は放出する水の流量を、前記水の流路に設けられる流量調整手段を介して制御する流量制御処理とを、コンピュータに実行させ、
前記予測処理により前記制限状況が予測された場合に、前記制限状況に至る前に、前記コンプレッサ制御処理により前記コンプレッサの回転数を増加するとともに、前記流量制御処理により前記水の流量を低減する、車両用制御プログラム。
発明の詳細な説明
【技術分野】
【0001】
本開示は、車両用制御装置及び車両用制御プログラムに関する。
続きを表示(約 1,500 文字)
【背景技術】
【0002】
静音スイッチのオン状態では、車速が5km/h以下で空調運転に用いられるコンプレッサの回転数が4000以上であるときにはそれ以上とならないようにコンプレッサの回転数を制限することにより、低速走行状態あるいは停止状態などで車両の走行モータによる騒音の発生が少ない状態においては、空調運転を止めない状態としながら騒音の発生を極力抑制する技術が知られている。
【先行技術文献】
【特許文献】
【0003】
特開平07-223428号公報
【発明の概要】
【発明が解決しようとする課題】
【0004】
しかしながら、上記のような従来技術では、低速走行状態あるいは停止状態が継続すると、コンプレッサの回転数が制限された状態が継続し、車室内の快適性が損なわれるおそれがある。
【0005】
そこで、1つの側面では、本開示は、コンプレッサの回転数が制限される状況下でも、車室内の良好な快適性を確保可能とすることを目的とする。
【課題を解決するための手段】
【0006】
1つの側面では、車載空調装置のコンプレッサの回転数の増加が制限される制限状況を予測する予測部と、
前記コンプレッサの回転数を、前記コンプレッサの制御装置を介して又は直接的に、制御するコンプレッサ制御部と、
前記車載空調装置のヒータコア又はクーラーコアを加熱又は冷却するための水の流量であって、前記コンプレッサの回転数に応じたエネルギを受ける又は放出する水の流量を、前記水の流路に設けられる流量調整手段を介して制御する流量制御部とを備え、
前記予測部により前記制限状況が予測された場合に、前記制限状況に至る前に、前記コンプレッサ制御部により前記コンプレッサの回転数を増加するとともに、前記流量制御部により前記水の流量を低減する、車両用制御装置が提供される。
【発明の効果】
【0007】
1つの側面では、本開示によれば、コンプレッサの回転数が制限される状況下でも、車室内の良好な快適性を確保することが可能となる。
【図面の簡単な説明】
【0008】
本実施例に適用可能な車載空調装置における回路構成の一例を示す図である。
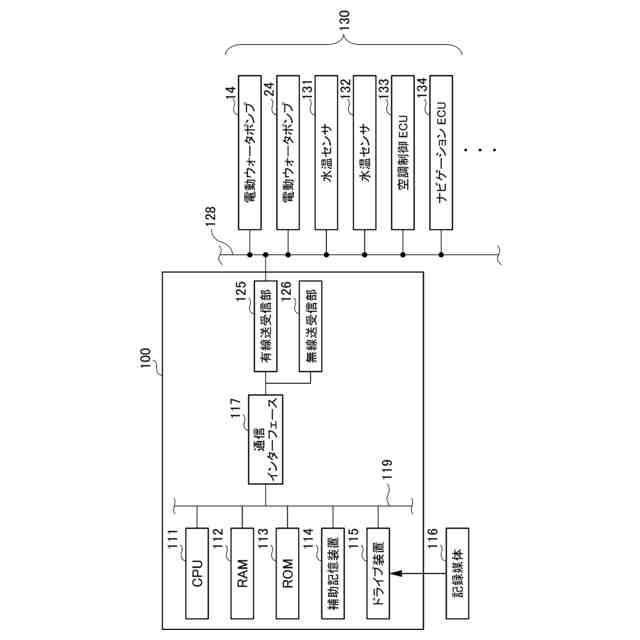
本実施例の制御装置のハードウェア構成の一例を示す図である。
本実施例の制御装置の機能の一例を概略的に示す機能ブロック図である。
本実施例の流量制御部による流量制御処理の説明図であり、水温と目標流量と関係を示す制御マップの一例を示す説明図である。
流量制御部による流量制御処理の説明図であり、水温と目標流量と関係を示す制御マップの他の一例を示す説明図である。
本実施例の制御装置により実行される処理のフローチャートである。
【発明を実施するための形態】
【0009】
以下、添付図面を参照しながら各実施例について詳細に説明する。なお、図面の寸法比率はあくまでも一例であり、これに限定されるものではなく、また、図面内の形状等は、説明の都合上、部分的に誇張している場合がある。また、図面では、見易さのために、複数存在する同一属性の部位には、一部のみしか参照符号が付されていない場合がある。
【0010】
また、以下の説明において、「所定」とは、「あらかじめ定められた」という意味である。
(【0011】以降は省略されています)
この特許をJ-PlatPat(特許庁公式サイト)で参照する
関連特許
株式会社アイシン
車両
7日前
株式会社アイシン
車両
7日前
株式会社アイシン
ロータ
1か月前
株式会社アイシン
ロータ
1か月前
株式会社アイシン
歯車機構
1か月前
株式会社アイシン
熱交換器
7日前
株式会社アイシン
ステータ
1か月前
株式会社アイシン
ステータ
1か月前
株式会社アイシン
ステータ
1か月前
株式会社アイシン
熱交換器
7日前
株式会社アイシン
折り畳み装置
1か月前
株式会社アイシン
操作検出装置
1日前
株式会社アイシン
折り畳み装置
1か月前
株式会社アイシン
走行制御装置
1か月前
株式会社アイシン
ガス検出装置
1か月前
株式会社アイシン
折り畳み装置
1か月前
株式会社アイシン
環境認識装置
1か月前
株式会社アイシン
運転支援装置
1か月前
株式会社アイシン
折り畳み装置
1か月前
株式会社アイシン
牽引支援装置
1か月前
株式会社アイシン
牽引支援装置
1か月前
株式会社アイシン
車両制御装置
1か月前
株式会社アイシン
ドア支持装置
1か月前
株式会社アイシン
動力変換装置
7日前
株式会社アイシン
ヒートシンク
20日前
株式会社アイシン
キックセンサ
20日前
株式会社アイシン
電力変換装置
20日前
株式会社アイシン
冷却モジュール
20日前
株式会社アイシン
車両用ドア装置
20日前
株式会社アイシン
回転角検出装置
7日前
株式会社アイシン
車両用駆動装置
20日前
株式会社アイシン
ドアロック装置
1か月前
株式会社アイシン
車両用駆動装置
7日前
株式会社アイシン
サンルーフ装置
1か月前
株式会社アイシン
車両用駆動装置
22日前
株式会社アイシン
生体情報検出装置
1か月前
続きを見る
他の特許を見る