TOP
|
特許
|
意匠
|
商標
特許ウォッチ
Twitter
他の特許を見る
公開番号
2025153699
公報種別
公開特許公報(A)
公開日
2025-10-10
出願番号
2024056310
出願日
2024-03-29
発明の名称
ステータ
出願人
株式会社アイシン
代理人
個人
,
個人
主分類
H02K
3/04 20060101AFI20251002BHJP(電力の発電,変換,配電)
要約
【課題】コイルエンド部同士の干渉を抑制することが可能であるとともに、加圧成型を行うことなくコイルエンド部の軸方向長さが大きくなるのを抑制することが可能なステータを提供する。
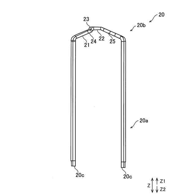
【解決手段】このステータ100は、隣接する複数のコイルエンド部20bにおいて、一方および他方の周方向傾斜部22は、軸方向において互いに重ならず、かつ、周方向側の側面同士が互いに対向して隣接し、隣接する複数のコイルエンド部20bにおいて、一方のコイルエンド部20bの周方向傾斜部22の下面と、他方のコイルエンド部20bのクランク部23の軸方向傾斜部21側の端部とは、軸方向において重ならず、かつ、周方向において隣接するように構成されている。
【選択図】図3
特許請求の範囲
【請求項1】
ステータコアと、
前記ステータコアに挿通され、前記ステータコアの端面から軸方向外側に突出して延びる複数のコイルエンド部を含み、平角線により構成されるコイルと、を備え、
前記複数のコイルエンド部は、
前記ステータコア側に設けられ、前記ステータコアの端面に対して軸方向外側に傾斜するとともに、周方向に沿って延びる軸方向傾斜部と、
軸方向から見て、前記軸方向傾斜部に対して周方向に傾斜するとともに、径方向外側に向かって延びる周方向傾斜部と、
前記軸方向傾斜部と前記周方向傾斜部との間を接続するように構成され、軸方向外側に湾曲するクランク部と、を有し、
隣接する前記複数のコイルエンド部において、一方および他方の前記周方向傾斜部は、軸方向において互いに重ならず、かつ、周方向側の側面同士が互いに対向して隣接し、
隣接する前記複数のコイルエンド部において、一方の前記コイルエンド部の前記周方向傾斜部の下面と、他方の前記コイルエンド部の前記クランク部の前記軸方向傾斜部側の端部とは、軸方向において重ならず、かつ、周方向において隣接するように構成されている、ステータ。
続きを表示(約 300 文字)
【請求項2】
前記ステータコアの端面から前記周方向傾斜部までの軸方向長さは、前記ステータコアの端面から前記コイルエンド部の他の部分までの軸方向長さよりも大きい、請求項1に記載のステータ。
【請求項3】
前記周方向傾斜部は、前記ステータコアの端面の延びる方向に沿って延びるように構成されている、請求項2に記載のステータ。
【請求項4】
前記コイルエンド部は、前記軸方向傾斜部と前記クランク部とを接続する接続部をさらに含み、
前記接続部は、軸方向から見て、前記軸方向傾斜部に対して径方向外側に傾斜するように構成されている、請求項1に記載のステータ。
発明の詳細な説明
【技術分野】
【0001】
本発明は、ステータに関する。
続きを表示(約 2,100 文字)
【背景技術】
【0002】
従来、ステータが知られている(たとえば、特許文献1)。
【0003】
上記特許文献1には、複数のスロットを備えた円環状のステータコアと、スロットに挿通されるコイルとを備える回転電機のステータが開示されている。特許文献1では、ステータコアの軸方向の少なくとも一方の端部において、コイルは、スロットの径方向内側の部分から他のスロットの径方向外側の部分までをつなぐ渡り部が、周方向に重なるように配置されるとともに軸方向から見て重なるように配置されることにより、コイルエンド部を形成している。また、渡り部は、コイル同士が干渉しないように、径方向から見て交差状態となるようにねじられている。
【先行技術文献】
【特許文献】
【0004】
特開2014-225974号公報
【発明の概要】
【発明が解決しようとする課題】
【0005】
特許文献1のステータコアでは、コイルエンド部(コイル)を径方向から見て交差状態になるようにねじって加工するため、形状が複雑化する。
【0006】
また、特許文献1には開示されていないが、ねじりによってコイルエンド部を形成する場合、コイルエンド部の形状が複雑化することにより、加工が難しくなるため、形状のばらつきを考慮して予め寸法を大きめに設定して加工する。そして、加工後にコイルエンド部を加圧成型して軸方向長さを小さくすることが行われる。しかしながら、加圧成型することによって、コイルエンド部に過大な負荷が掛かる。このため、ねじることなくコイルエンド部同士の干渉を抑制するとともに、加圧成型を行うことなくコイルエンド部の軸方向長さを抑制することが望まれている。
【0007】
この発明は、上記のような課題を解決するためになされたものであり、この発明の1つの目的は、コイルエンド部同士の干渉を抑制することが可能であるとともに、加圧成型を行うことなくコイルエンド部の軸方向長さが大きくなるのを抑制することが可能なステータを提供することである。
【課題を解決するための手段】
【0008】
上記目的を達成するために、この発明の一の局面におけるステータは、ステータコアと、ステータコアに挿通され、ステータコアの端面から軸方向外側に突出して延びる複数のコイルエンド部を含み、平角線により構成されるコイルと、を備え、複数のコイルエンド部は、ステータコア側に設けられ、ステータコアの端面に対して軸方向外側に傾斜するとともに、周方向に沿って延びる軸方向傾斜部と、軸方向から見て、軸方向傾斜部に対して周方向に傾斜するとともに、径方向外側に向かって延びる周方向傾斜部と、軸方向傾斜部と周方向傾斜部との間を接続するように構成され、軸方向外側に湾曲するクランク部と、を有し、隣接する複数のコイルエンド部において、一方および他方の周方向傾斜部は、軸方向において互いに重ならず、かつ、周方向側の側面同士が互いに対向して隣接し、隣接する複数のコイルエンド部において、一方のコイルエンド部の周方向傾斜部の下面と、他方のコイルエンド部のクランク部の軸方向傾斜部側の端部とは、軸方向において重ならず、かつ、周方向において隣接するように構成されている。
【0009】
この発明の一の局面によるステータでは、上記のように、軸方向傾斜部と周方向傾斜部とクランク部とを有することにより、軸方向傾斜部と周方向傾斜部とにより軸方向長さを調整しつつ、クランク部によりコイルエンド部同士が干渉しないように配置することができる。また、隣接する複数のコイルエンド部において、一方および他方の周方向傾斜部は、軸方向において互いに重ならず、かつ、周方向側の側面同士が互いに対向して隣接しているため、隣接するコイルエンド部を周方向に沿って干渉させずに配置することができる。このため、コイルエンド部をねじって配置する必要がない。また、隣接する複数のコイルエンド部において、一方のコイルエンド部の周方向傾斜部の下面と、他方のコイルエンド部のクランク部の軸方向傾斜部側の端部とが、軸方向において重ならず、かつ、周方向において隣接することにより、複数のコイルエンド部を軸方向に重ならないように配置することができるとともに、クランク部の位置を低くすることができるため、コイルエンド部の軸方向の長さが大きくなることを抑制することができる。これらの結果、コイルエンド部同士の干渉を抑制することができるとともに、加圧成型を行うことなくコイルエンド部の軸方向の長さが大きくなることを抑制することができる。ここで、「隣接」とは、2つのコイルエンド部同士が接していないが、近くに位置していることを指す。
【0010】
上記一の局面によるステータにおいて、好ましくは、ステータコアの端面から周方向傾斜部までの軸方向長さは、ステータコアの端面からコイルエンド部の他の部分までの軸方向長さよりも大きい。
(【0011】以降は省略されています)
この特許をJ-PlatPat(特許庁公式サイト)で参照する
関連特許
株式会社アイシン
車両
10日前
株式会社アイシン
車両
10日前
株式会社アイシン
熱交換器
10日前
株式会社アイシン
熱交換器
10日前
株式会社アイシン
キックセンサ
23日前
株式会社アイシン
電力変換装置
23日前
株式会社アイシン
操作検出装置
4日前
株式会社アイシン
動力変換装置
10日前
株式会社アイシン
ヒートシンク
23日前
株式会社アイシン
ドアロック装置
1か月前
株式会社アイシン
冷却モジュール
23日前
株式会社アイシン
車両用駆動装置
23日前
株式会社アイシン
車両用駆動装置
25日前
株式会社アイシン
車両用ドア装置
23日前
株式会社アイシン
車両用駆動装置
10日前
株式会社アイシン
回転角検出装置
10日前
株式会社アイシン
位置姿勢取得装置
3日前
株式会社アイシン
車両用駆動伝達装置
10日前
株式会社アイシン
複合歯車の製造方法
2日前
株式会社アイシン
車両用駆動伝達装置
25日前
株式会社アイシン
車両用駆動伝達装置
26日前
株式会社アイシン
静電容量センサシステム
24日前
株式会社アイシン
二酸化炭素回収システム
3日前
株式会社アイシン
車両用のドアロック装置
23日前
株式会社アイシン
ペロブスカイト太陽電池
24日前
株式会社アイシン
ペロブスカイト太陽電池の製造方法
11日前
株式会社アイシン
バルブ制御装置及びバルブ制御方法
26日前
株式会社アイシン
バルブ装置の学習装置及び学習方法
26日前
株式会社アイシン
ペロブスカイト太陽電池及びカーボン液
2日前
株式会社アイシン
車両用制御装置及び車両用制御プログラム
3日前
株式会社豊田中央研究所
非接触給電可能な回転電機
1か月前
株式会社アイシン
水性エマルジョン系制振塗料組成物及びその硬化塗膜
23日前
株式会社アイシン
ホール輸送材料およびホール輸送材料を用いた太陽電池
1か月前
株式会社アイシン
ホール輸送材料およびホール輸送材料を用いた太陽電池
1か月前
株式会社アイシン
ペロブスカイト太陽電池及びペロブスカイト太陽電池の製造方法
1か月前
トヨタ自動車株式会社
計数装置、計数方法及び計数用コンピュータプログラム
2日前
続きを見る
他の特許を見る