TOP
|
特許
|
意匠
|
商標
特許ウォッチ
Twitter
他の特許を見る
公開番号
2025153705
公報種別
公開特許公報(A)
公開日
2025-10-10
出願番号
2024056316
出願日
2024-03-29
発明の名称
ステータ
出願人
株式会社アイシン
代理人
個人
,
個人
主分類
H02K
3/04 20060101AFI20251002BHJP(電力の発電,変換,配電)
要約
【課題】セグメントコイルのコイルエンド部に対応する部分の加工を容易にすることが可能なステータを提供する。
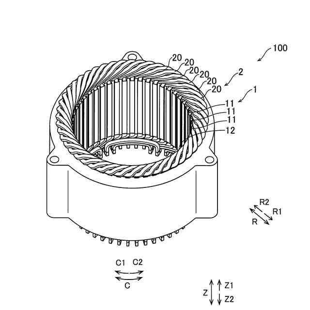
【解決手段】このステータ100は、複数のコイルエンド部20bは、スロット収容部20aに接続される接続部分21aと、軸方向視で、ステータコア1に対してステータコア1の接線方向に傾斜するとともに、軸方向外側に延びる接線方向傾斜部分21bとを有するスロット側傾斜部21を含む。
【選択図】図3
特許請求の範囲
【請求項1】
スロットを含むステータコアと、
前記スロットに挿通されるスロット収容部と、前記ステータコアの端面から軸方向外側に突出して延びる複数のコイルエンド部とを含み、平角線により構成されるとともにU字形状を有する複数のセグメントコイル同士が接合されて構成されるコイルと、を備え、
前記複数のコイルエンド部は、前記スロット収容部に接続される接続部分と、軸方向視で、前記ステータコアに対して前記ステータコアの接線方向に延びるとともに、軸方向外側に延びる接線方向傾斜部分とを有するスロット側傾斜部を含む、ステータ。
続きを表示(約 310 文字)
【請求項2】
前記スロット側傾斜部は、軸方向視で、前記接線方向傾斜部分よりも径方向外側に配置され、前記接線方向傾斜部分の延びる方向に交差する法線方向側に傾斜する法線方向側傾斜部分をさらに有する、請求項1に記載のステータ。
【請求項3】
軸方向視で、前記スロット側傾斜部のうち隣接する他の前記スロット側傾斜部と重ならない露出部分の面積は、前記スロット側傾斜部のうち前記他の前記スロット側傾斜部と重なる重なり部分の面積よりも大きい、請求項1に記載のステータ。
【請求項4】
前記露出部分は、軸方向視で径方向外側に向かうにつれて幅が大きくなるように構成されている、請求項3に記載のステータ。
発明の詳細な説明
【技術分野】
【0001】
本発明は、ステータに関し、特に、コイルを備えるステータに関する。
続きを表示(約 1,500 文字)
【背景技術】
【0002】
従来、コイルを備えるステータが知られている(たとえば、特許文献1)。
【0003】
上記特許文献1には、複数のスロットを備えた円環状のステータコアと、スロットに挿通されるコイルとを備える回転電機のステータが開示されている。特許文献1では、コイルは、ステータコアの内周面に沿った円弧形状に形成されている。
【先行技術文献】
【特許文献】
【0004】
特開2014-225974号公報
【発明の概要】
【発明が解決しようとする課題】
【0005】
特許文献1に開示されているように、コイルをステータコアの内周面に沿った円弧形状に形成する場合、コイルを形成するセグメントコイルのうちステータコアから突出するコイルエンド部を円弧形状に形成する必要がある。しかしながら、寸法が小さい場合にはセグメントコイルを円弧形状に形成することは製造プロセス的には容易ではないため、円弧形状に形成しやすくするため、寸法を大きく設計し、コイルエンド部を円弧形状に形成した後寸法を小さくする場合がある。この場合、セグメントコイルのコイルエンド部に対応する部分の加工に手間がかかるため、セグメントコイルのコイルエンド部に対応する部分の加工を容易にすることが望まれている。
【0006】
この発明は、上記のような課題を解決するためになされたものであり、この発明の1つの目的は、セグメントコイルのコイルエンド部に対応する部分の加工を容易にすることが可能なステータを提供することである。
【課題を解決するための手段】
【0007】
上記目的を達成するために、この発明の一の局面におけるステータは、スロットを含むステータコアと、スロットに挿通されるスロット収容部と、ステータコアの端面から軸方向外側に突出して延びる複数のコイルエンド部とを含み、平角線により構成されるとともにU字形状を有する複数のセグメントコイル同士が接合されて構成されるコイルと、を備え、複数のコイルエンド部は、スロット収容部に接続される接続部分と、軸方向視で、ステータコアに対してステータコアの接線方向に延びるとともに、軸方向外側に延びる接線方向傾斜部分とを有するスロット側傾斜部を含む。
【0008】
この発明の一の局面によるステータでは、上記のように、セグメントコイルのコイルエンド部のスロット側傾斜部が接線方向傾斜部分を有することにより、セグメントコイルのコイルエンド部を加工する際にステータコアの接線方向にセグメントコイルを折り曲げればよいため、ステータコアの内周面に沿ってセグメントコイルのコイルエンド部を円弧形状に形成する必要がない。この結果、セグメントコイルのコイルエンド部に対応する部分の加工を容易にすることができる。
【0009】
上記一の局面によるステータにおいて、好ましくは、スロット側傾斜部は、軸方向視で、接線方向傾斜部分よりも径方向外側に配置され、接線方向傾斜部分の延びる方向に交差する法線方向側に傾斜する法線方向側傾斜部分をさらに有する。
【0010】
このように構成すれば、法線方向側傾斜部分により法線方向側にセグメントコイルを傾斜させることができるため、隣接するセグメントコイル同士を周方向に並ぶように配置することができる。この結果、隣接するセグメントコイル同士が軸方向に重なって軸方向長さが大きくなることを抑制することができる。
(【0011】以降は省略されています)
この特許をJ-PlatPat(特許庁公式サイト)で参照する
関連特許
株式会社アイシン
ロータ
19日前
株式会社アイシン
ロータ
23日前
株式会社アイシン
ステータ
23日前
株式会社アイシン
ステータ
23日前
株式会社アイシン
歯車機構
19日前
株式会社アイシン
ガス検出装置
23日前
株式会社アイシン
ドア支持装置
23日前
株式会社アイシン
車両制御装置
23日前
株式会社アイシン
折り畳み装置
23日前
株式会社アイシン
牽引支援装置
23日前
株式会社アイシン
牽引支援装置
23日前
株式会社アイシン
折り畳み装置
23日前
株式会社アイシン
運転支援装置
23日前
株式会社アイシン
環境認識装置
23日前
株式会社アイシン
折り畳み装置
23日前
株式会社アイシン
走行制御装置
23日前
株式会社アイシン
折り畳み装置
23日前
株式会社アイシン
サンルーフ装置
19日前
株式会社アイシン
ドアロック装置
17日前
株式会社アイシン
露光制御システム
23日前
株式会社アイシン
燃料電池システム
19日前
株式会社アイシン
燃料電池システム
19日前
株式会社アイシン
燃料電池システム
19日前
株式会社アイシン
生体情報検出装置
23日前
株式会社アイシン
被牽引車両用マークおよびマーク検出装置
23日前
株式会社豊田中央研究所
非接触給電可能な回転電機
17日前
株式会社アイシン
ホール輸送材料およびホール輸送材料を用いた太陽電池
3日前
株式会社アイシン
ホール輸送材料およびホール輸送材料を用いた太陽電池
5日前
株式会社アイシン
ペロブスカイト太陽電池及びペロブスカイト太陽電池の製造方法
9日前
株式会社豊田中央研究所
体重推定装置、体重推定方法、及び体重推定プログラム
18日前
ミクロエース株式会社
被覆銅材の剥離処理方法、処理装置、処理装置制御部およびプログラム
3日前
個人
単極モータ
19日前
キヤノン電子株式会社
モータ
3日前
株式会社アイシン
ロータ
23日前
株式会社アイシン
ロータ
19日前
コーセル株式会社
電源装置
4日前
続きを見る
他の特許を見る