TOP
|
特許
|
意匠
|
商標
特許ウォッチ
Twitter
他の特許を見る
10個以上の画像は省略されています。
公開番号
2025177008
公報種別
公開特許公報(A)
公開日
2025-12-05
出願番号
2024083468
出願日
2024-05-22
発明の名称
ペロブスカイト太陽電池
出願人
株式会社アイシン
代理人
弁理士法人R&C
主分類
H10K
30/50 20230101AFI20251128BHJP()
要約
【課題】光電変換性能及び動作安定性が高いペロブスカイト太陽電池を提供する。
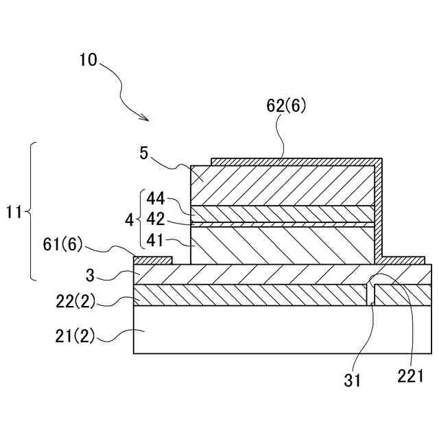
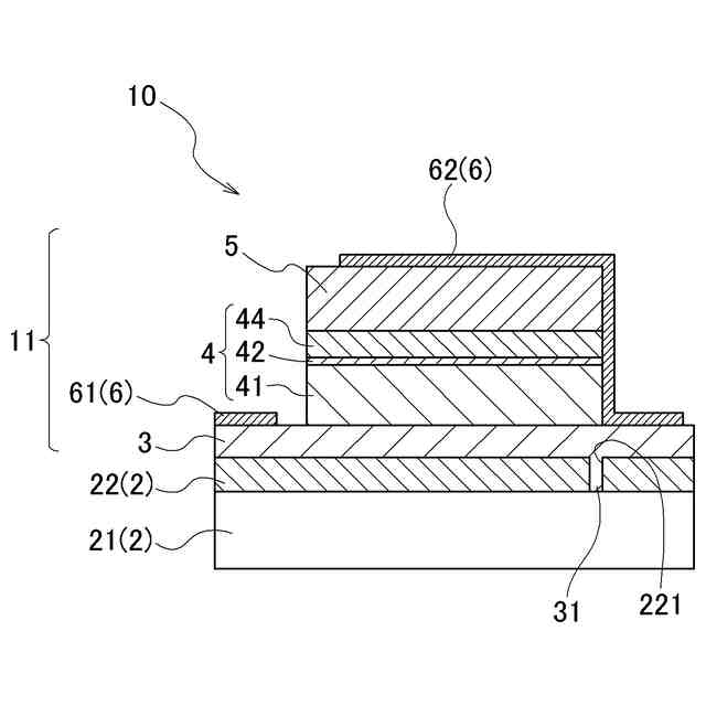
【解決手段】透明導電膜22を有する基板2と、電子を透明導電膜22に受け渡す電子輸送層3と、電子供与性材料を含有する緩衝層42と、光によって励起して電子を発生する光電変換層44と、光電変換層44から発生したホールが通過するホール輸送層5と、がこの順に積層される積層体と、透明導電膜22を介して電子を放出する光電極61、及び、ホール輸送層5の表面に設けられた対向電極62で構成される電極6と、を備える。
【選択図】図1
特許請求の範囲
【請求項1】
透明導電膜を有する基板と、
電子を前記透明導電膜に受け渡す電子輸送層と、
電子供与性材料を含有する緩衝層と、
光によって励起して前記電子を発生する光電変換層と、
前記光電変換層から発生したホールが通過するホール輸送層と、がこの順に積層される積層体と、
前記透明導電膜を介して前記電子を放出する光電極、及び、前記ホール輸送層の表面に設けられた対向電極で構成される電極と、を備えるペロブスカイト太陽電池。
続きを表示(約 310 文字)
【請求項2】
前記ホール輸送層は非リチウム系添加剤を含有する、請求項1に記載のペロブスカイト太陽電池。
【請求項3】
前記非リチウム系添加剤はTPFBである、請求項2に記載のペロブスカイト太陽電池。
【請求項4】
前記ホール輸送層は、ホール輸送材料としてMSTPA-1を含有する、請求項1に記載のペロブスカイト太陽電池。
【請求項5】
前記電子供与性材料はフラーレン又はフラーレン誘導体である、請求項1~4のいずれか一項に記載のペロブスカイト太陽電池。
【請求項6】
前記フラーレン誘導体はPCBMである、請求項5に記載のペロブスカイト太陽電池。
発明の詳細な説明
【技術分野】
【0001】
本発明は、ペロブスカイト太陽電池に関する。
続きを表示(約 2,800 文字)
【背景技術】
【0002】
太陽電池には、シリコン系、化合物半導体、有機半導体などの素子を用いたものが一般的であるが、高い光捕集能に加え、薄膜化や低コスト化の可能なペロブスカイト太陽電池が注目されている。特に、近年では、優れた光電変換性能を有するペロブスカイト太陽電池の研究が盛んに行われている。
【0003】
例えば、非特許文献1には、透明導電膜が形成された基板、電子輸送層、光電変換層、ホール輸送層、対向電極がこの順で積層された順構造型のペロブスカイト太陽電池において、ホール輸送層の材料(ホール輸送材料)にドーパントとしてリチウムビス(トリフルオロメタンスルホニル)イミド(LiTFSI)を添加することで、25%を超える高い光電変換効率を示すことが開示されている。
【0004】
非特許文献1のように、ホール輸送材料にリチウム系のドーパントを添加したペロブスカイト太陽電池は、吸湿性やリチウムイオンの過度の拡散によるエネルギー構造の乱れなどのために動作安定性に乏しく、光電変換性能を長期にわたって維持することが難しい。
【0005】
非特許文献2には、ホール輸送材料のドーパントとして、1-ブチル-1-メチルピロリジウムビス(トリフルオロメタンスルホニル)イミド(以下、「Bmp-TFSI」と称する場合がある)やN-エチル-N-(2-メトキシエチル)-N,N-ジメチルアンモニウムビス(トリフルオロメタンスルホニル)イミド(以下、「Edm-TFSI」と称する場合がある)を添加したペロブスカイト太陽電池が開示されている。非特許文献2には、非リチウム系のドーパントを添加した場合、リチウム系のドーパントを添加した場合よりも動作安定性に優れるが、光電変換性能は劣ることが開示されている。
【先行技術文献】
【非特許文献】
【0006】
Jaewang Park et al., "Controlled growth of perovskite layers with volatile alkylammonium chlorides", Nature 616, pp724-730 (2023)
Kohei Yamamoto et al., "Thermal stability of perovskite solar cells incorporated with spiro-OMeTAD and an ionic liquid dopant", Jpn. J. of Appl. Phys. 63, 02SP82 (2024)
【発明の概要】
【発明が解決しようとする課題】
【0007】
上記のように、従来のペロブスカイト太陽電池は、高い光電変換性能と高い動作安定性とを両立することが困難である。そこで、光電変換性能及び動作安定性が高いペロブスカイト太陽電池が求められている。
【課題を解決するための手段】
【0008】
本発明に係るペロブスカイト太陽電池の特徴構成は、
透明導電膜を有する基板と、
電子を前記透明導電膜に受け渡す電子輸送層と、
電子供与性材料を含有する緩衝層と、
光によって励起して前記電子を発生する光電変換層と、
前記光電変換層から発生したホールが通過するホール輸送層と、がこの順に積層される積層体と、
前記透明導電膜を介して前記電子を放出する光電極、及び、前記ホール輸送層の表面に設けられた対向電極で構成される電極と、を備える点にある。
【0009】
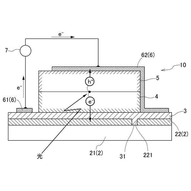
本願発明者らは、ペロブスカイト太陽電池におけるエネルギーダイアグラムに着目し、上記目的を達成すべく鋭意研究を重ねた結果、新たな知見を見出し、本発明を完成させた。すなわち、本願発明者らは、単層であれば光電変換層よりも深い伝導帯下端準位(CBE)を有する電子輸送層が光電変換層と接触することで、電子輸送層のCBEが浅い方向へとシフトして光電変換層のCBEよりも浅くなり、光電変換層から電子輸送層へと電子が移動しにくくなると推察した。そこで、電子輸送層のCBEの浅い方向へのシフトを抑えることを着想するに至り、光電変換層と電子輸送層との間に緩衝層を配置することで、ホール輸送材料に非リチウム系添加剤を用いた場合や非リチウム系添加剤及びリチウム系添加剤の双方を用いない場合に、高い光電変換性能と高い動作安定性とを両立できることを見出し、本発明を完成させた。本構成によれば、光電変換層と電子輸送層との間に緩衝層を配置しているため、電子輸送層と光電変換層との間のエネルギーダイアグラムが変化し、光電変換層のCBEが電子輸送層のCBEよりも浅くなる。これにより、光電変換層で生成された電子輸送層へと移動しやすくなり、光電変換性能が向上する。また、ホール輸送材料にリチウム系添加剤を用いる必要がなくなるため、リチウム系添加剤を用いた場合と比較して動作安定性も向上する。つまり、本発明のペロブスカイト太陽電池は、高い光電変換性能と高い動作安定性とを両立したものとなる。
【図面の簡単な説明】
【0010】
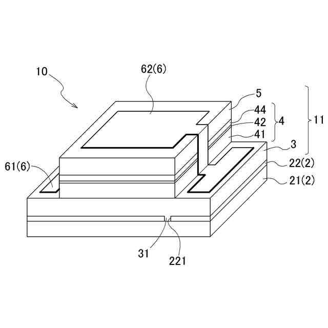
ペロブスカイト太陽電池の模式断面図である。
ペロブスカイト太陽電池の上方からの斜視図である。
ペロブスカイト太陽電池の発電原理を説明する断面図である。
ペロブスカイト太陽電池の理想的なエネルギーダイアグラムを示す図である。
ホール輸送材料にリチウム系添加剤を用いたペロブスカイト太陽電池のエネルギーダイアグラムの移り変わりを示す図である。
ホール輸送材料に非リチウム系添加剤を用いたペロブスカイト太陽電池のエネルギーダイアグラムの移り変わりを示す図である。
本実施形態のペロブスカイト太陽電池のエネルギーダイアグラムの移り変わりを示す図である。
ペロブスカイト太陽電池の作製手順を示す説明図である。
実施例1及び比較例1の光電変換効率と波長との関係を示すグラフである。
実施例2及び比較例2の光電変換効率と波長との関係を示すグラフである。
実施例3及び比較例3の光電変換効率と波長との関係を示すグラフである。
実施例4及び比較例4の光電変換効率と波長との関係を示すグラフである。
実施例1及び比較例1のI-V特性を示すグラフである。
実施例2及び比較例2のI-V特性を示すグラフである。
実施例3及び比較例3のI-V特性を示すグラフである。
実施例4及び比較例4のI-V特性を示すグラフである。
【発明を実施するための形態】
(【0011】以降は省略されています)
この特許をJ-PlatPat(特許庁公式サイト)で参照する
関連特許
株式会社アイシン
車両
16日前
株式会社アイシン
車両
16日前
株式会社アイシン
粉砕機
3日前
株式会社アイシン
潤滑油
1日前
株式会社アイシン
熱交換器
16日前
株式会社アイシン
熱交換器
16日前
株式会社アイシン
動力変換装置
16日前
株式会社アイシン
ヒートシンク
29日前
株式会社アイシン
電力変換装置
29日前
株式会社アイシン
焼き入れ方法
1日前
株式会社アイシン
キックセンサ
29日前
株式会社アイシン
操作検出装置
10日前
株式会社アイシン
焼き入れ方法
1日前
株式会社アイシン
冷却モジュール
29日前
株式会社アイシン
車両用ドア装置
29日前
株式会社アイシン
車両用駆動装置
29日前
株式会社アイシン
車両用駆動装置
1か月前
株式会社アイシン
車両用駆動装置
16日前
株式会社アイシン
回転角検出装置
16日前
株式会社アイシン
位置姿勢取得装置
9日前
株式会社アイシン
複合歯車の製造方法
8日前
株式会社アイシン
車両用駆動伝達装置
1か月前
株式会社アイシン
車両用駆動伝達装置
16日前
株式会社アイシン
車両用駆動伝達装置
1か月前
株式会社アイシン
車両用のドアロック装置
29日前
株式会社アイシン
ペロブスカイト太陽電池
1日前
株式会社アイシン
ペロブスカイト太陽電池
1か月前
株式会社アイシン
静電容量センサシステム
1か月前
株式会社アイシン
二酸化炭素回収システム
9日前
株式会社アイシン
ペロブスカイト太陽電池の製造方法
17日前
株式会社アイシン
バルブ装置の学習装置及び学習方法
1か月前
株式会社アイシン
バルブ制御装置及びバルブ制御方法
1か月前
株式会社アイシン
ペロブスカイト太陽電池及びカーボン液
8日前
株式会社アイシン
車両用制御装置及び車両用制御プログラム
9日前
株式会社アイシン
水性エマルジョン系制振塗料組成物及びその硬化塗膜
29日前
株式会社アイシン
ホール輸送材料およびホール輸送材料を用いた太陽電池
1か月前
続きを見る
他の特許を見る