TOP
|
特許
|
意匠
|
商標
特許ウォッチ
Twitter
他の特許を見る
10個以上の画像は省略されています。
公開番号
2025178086
公報種別
公開特許公報(A)
公開日
2025-12-05
出願番号
2025008517
出願日
2025-01-21
発明の名称
焼き入れ方法
出願人
株式会社アイシン
代理人
Knowledge Partners弁理士法人
主分類
C21D
1/18 20060101AFI20251128BHJP(鉄冶金)
要約
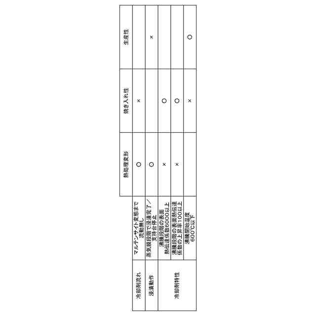
【課題】深い冷却槽を必要とせずに、上下方向の冷却速度の差を低減させる技術の提供。
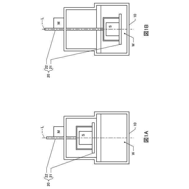
【解決手段】支持台に載置された被処理物を冷却する焼き入れ方法であって、冷却槽内で流動されていない状態で蓄積された冷却剤内へ前記支持台を下降させ、前記被処理物の熱によって前記被処理物の周囲に前記冷却剤の蒸気膜が形成されている間に、前記被処理物の浸漬が完了し、かつ、前記支持台が停止するように、前記支持台を制御する下降制御工程と、前記支持台の下降を停止させた後、少なくとも、前記被処理物の表面がマルテンサイト変態するまで、前記被処理物と前記冷却剤との間に相対流速が与えられないように、前記冷却剤が流動されていない状態および前記支持台が移動しない状態を維持する状態維持工程と、を含む焼き入れ方法を実行する。
【選択図】図1
特許請求の範囲
【請求項1】
支持台に載置された被処理物を冷却する焼き入れ方法であって、
冷却槽内で流動されていない状態で蓄積された冷却剤内へ前記支持台を下降させ、前記被処理物の熱によって前記被処理物の周囲に前記冷却剤の蒸気膜が形成されている間に、前記被処理物の浸漬が完了し、かつ、前記支持台が停止するように、前記支持台を制御する下降制御工程と、
前記支持台の下降を停止させた後、少なくとも、前記被処理物の表面がマルテンサイト変態するまで、前記被処理物と前記冷却剤との間に相対流速が与えられないように、前記冷却剤が流動されていない状態および前記支持台が移動しない状態を維持する状態維持工程と、
を含む焼き入れ方法。
続きを表示(約 1,300 文字)
【請求項2】
前記蒸気膜が形成されている期間は、
前記被処理物において最初に浸漬された部位が浸漬開始されてから、当該部位の周囲において蒸気膜が消失し沸騰開始するまでの期間である、
請求項1に記載の焼き入れ方法。
【請求項3】
前記蒸気膜が形成されている期間は、
前記被処理物が浸漬開始されてから、周囲の蒸気膜が消失し沸騰開始した部位が生じるまでの期間である、
請求項1に記載の焼き入れ方法。
【請求項4】
前記蒸気膜が形成されている期間は、
前記被処理物が前記冷却剤に浸漬され、温度が低下していく過程における、温度低下量に対する前記冷却剤と前記被処理物との間の表面熱伝達係数の変化量が、最初に既定値以下となった後、既定値を超えるまでの期間である、
請求項1に記載の焼き入れ方法。
【請求項5】
前記下降制御工程における前記被処理物の下降速度は、
前記冷却剤の液面から下降停止位置における前記被処理物の下端までの距離/前記蒸気膜が形成されている期間より速い、
請求項1に記載の焼き入れ方法。
【請求項6】
前記被処理物は、前記支持台の上下方向において異なる複数の位置に複数載置され、
前記下降制御工程においては、最下段の前記被処理物の前記蒸気膜が形成されている期間内に、最上段の前記被処理物の最上部の浸漬を完了させ、前記支持台を停止させ、
前記状態維持工程においては、前記複数の被処理物の全てで表面がマルテンサイト変態するまで、前記被処理物と前記冷却剤との間に相対流速が与えられない状態を維持させる、
請求項1に記載の焼き入れ方法。
【請求項7】
前記被処理物は、前記支持台の上下方向において異なる複数の位置に複数載置され、
前記下降制御工程においては、前記複数の被処理物が浸漬開始されてから、最下段の前記被処理物の周囲の蒸気膜が消失し沸騰開始した部位が生じるまでの期間内に、最上段の前記被処理物の最上部の浸漬を完了させ、前記支持台を停止させ、
前記状態維持工程においては、前記複数の被処理物の全てで表面がマルテンサイト変態するまで、前記被処理物と前記冷却剤との間に相対流速が与えられない状態を維持させる、
請求項1に記載の焼き入れ方法。
【請求項8】
前記被処理物は上下方向に非対称であり、かつ、前記被処理物において周囲の蒸気膜が最も早く消失し沸騰開始する部位が上下方向において上方に向くように、前記支持台に載置される、
請求項1に記載の焼き入れ方法。
【請求項9】
前記被処理物の表面のマルテンサイト分率が既定の値になった場合に、前記被処理物の表面がマルテンサイト変態したと見なされる、
請求項1に記載の焼き入れ方法。
【請求項10】
前記被処理物の浸漬が開始された後、既定期間が経過した場合に、前記被処理物の表面がマルテンサイト変態したと見なされる、
請求項1に記載の焼き入れ方法。
(【請求項11】以降は省略されています)
発明の詳細な説明
【技術分野】
【0001】
本発明は、焼き入れ方法に関する。
続きを表示(約 2,000 文字)
【背景技術】
【0002】
従来、焼き入れを行う際に、被処理物と、被処理物の周囲の冷却剤と、の間の相対速度を制御する技術が知られている。例えば、特許文献1においては、平均速度1.0m/秒以上の流速がある冷媒に被処理物を浸漬することにより、蒸気膜段階を形成しないで全表面が沸騰段階から冷却されるようにする構成が開示されている。
【0003】
特許文献2においては、被処理物を冷却剤の内部に移動させて焼き入れを行う際に、少なくとも被処理物がマルテンサイト変態するまで被処理物と冷却剤との相対速度を被処理物の移動速度より遅くする構成が開示されている。特許文献3においては、金属製部材を熱処理用油に浸漬して焼入れを行う焼入れ方法において、金属製部材を熱処理用油内で下降させ、最初に熱処理用油中に油没する部位である油没開始部位が蒸気膜で覆われた蒸気膜段階であるときに、金属製部材を停止させ、その後上昇させる構成が開示されている。
【0004】
また、特許文献4においては、焼入れの結果に与える蒸気膜の影響を抑制するために、棒体に吊り下げた状態で焼き入れ対象物を浸漬し、焼き入れ対象物から蒸気膜を積極的に剥離させる構成が開示されている。
【先行技術文献】
【特許文献】
【0005】
特開2002-97520号公報
国際公開第2020-203226号
特開2021-147626号公報
特開2023-153496号公報
【発明の概要】
【発明が解決しようとする課題】
【0006】
特許文献1に開示された技術においては、冷却剤に対して大きな流速を与えることにより、蒸気膜段階を形成しないで全表面が沸騰段階から冷却されるようにしている。しかし、特許文献1においては、処理品の冷却が終了するまで、水に流速を与えるための吸引機構の運転が行われている。従って、蒸気膜段階から沸騰段階に移行した後においても、冷却が終了するまで冷却剤に流速が与えられている。また、特許文献1に開示された技術においては、処理品の上から下に向けた流速が与えられている。この場合、処理品の下部においては冷却剤が滞留し処理品との相対流速が小さく、処理品の上部においては冷却剤が攪拌されて相対流速が大きくなる。従って、処理品の上部は下部と比較して高速に冷却される。このため、処理品の上下でマルテンサイト変態するまでの冷却速度に差が生じ、焼き入れ完了後に処理品に歪みが生じてしまう。
【0007】
一方、特許文献2に開示された技術によれば、被処理物と冷却剤との相対速度が被処理物の移動速度より遅いため、被処理物の上下方向で冷却の速度が均一化される。しかし、特許文献2においては、マルテンサイト変態するまで被処理物を下降させ、かつ、冷却剤を下方に流動させることで被処理物と冷却剤との相対速度が被処理物の移動速度より遅くなるように構成されている。従って、マルテンサイト変態するまで相対速度が遅い状態を維持するためには、被処理物を下方に深く移動させる必要があり、深い冷却槽が必要である。
【0008】
また、特許文献3においては、冷却槽内で金属製部材を下降させ、さらに、上昇させ、当該上昇の過程で焼き入れを完了させる必要がある。このため、マルテンサイト変態するまでの間で処理物と冷却剤との間で相対流速が生じ、焼き入れ完了後の処理物に歪みが生じてしまう。また、下降の深さであるストローク量が100~700mなどという非常に深い冷却槽が必要になる。
【0009】
なお、特許文献4においては、焼き入れ対象物を不安定な状態で保持することで蒸気膜をできるだけ早く剥離させており、蒸気膜を積極的に利用するという思想は開示されていない。
本発明は、前記課題にかんがみてなされたもので、深い冷却槽を必要とせずに、上下方向の冷却速度の差を低減させ熱処理変形を低減することを目的とする。
【課題を解決するための手段】
【0010】
一実施形態にかかる焼き入れ方法は、支持台に載置された被処理物を冷却する焼き入れ方法であって、冷却槽内で流動されていない状態で蓄積された冷却剤内へ前記支持台を下降させ、前記被処理物の熱によって前記被処理物の周囲に前記冷却剤の蒸気膜が形成されている間に、前記被処理物の浸漬が完了し、かつ、前記支持台が停止するように、前記支持台を制御する下降制御工程と、前記支持台の下降を停止させた後、少なくとも、前記被処理物の表面がマルテンサイト変態するまで、前記被処理物と前記冷却剤との間に相対流速が与えられないように、前記冷却剤が流動されていない状態および前記支持台が移動しない状態を維持する状態維持工程と、を含むように構成される。
(【0011】以降は省略されています)
この特許をJ-PlatPat(特許庁公式サイト)で参照する
関連特許
株式会社アイシン
車両
15日前
株式会社アイシン
車両
15日前
株式会社アイシン
潤滑油
今日
株式会社アイシン
ロータ
1か月前
株式会社アイシン
ロータ
1か月前
株式会社アイシン
粉砕機
2日前
株式会社アイシン
熱交換器
15日前
株式会社アイシン
歯車機構
1か月前
株式会社アイシン
熱交換器
15日前
株式会社アイシン
電力変換装置
28日前
株式会社アイシン
操作検出装置
9日前
株式会社アイシン
焼き入れ方法
今日
株式会社アイシン
焼き入れ方法
今日
株式会社アイシン
キックセンサ
28日前
株式会社アイシン
ヒートシンク
28日前
株式会社アイシン
折り畳み装置
1か月前
株式会社アイシン
走行制御装置
1か月前
株式会社アイシン
動力変換装置
15日前
株式会社アイシン
車両用駆動装置
1か月前
株式会社アイシン
車両用ドア装置
28日前
株式会社アイシン
ドアロック装置
1か月前
株式会社アイシン
サンルーフ装置
1か月前
株式会社アイシン
車両用駆動装置
28日前
株式会社アイシン
冷却モジュール
28日前
株式会社アイシン
車両用駆動装置
15日前
株式会社アイシン
回転角検出装置
15日前
株式会社アイシン
露光制御システム
1か月前
株式会社アイシン
燃料電池システム
1か月前
株式会社アイシン
位置姿勢取得装置
8日前
株式会社アイシン
燃料電池システム
1か月前
株式会社アイシン
燃料電池システム
1か月前
株式会社アイシン
車両用駆動伝達装置
15日前
株式会社アイシン
車両用駆動伝達装置
1か月前
株式会社アイシン
車両用駆動伝達装置
1か月前
株式会社アイシン
複合歯車の製造方法
7日前
株式会社アイシン
二酸化炭素回収システム
8日前
続きを見る
他の特許を見る