TOP
|
特許
|
意匠
|
商標
特許ウォッチ
Twitter
他の特許を見る
公開番号
2025178616
公報種別
公開特許公報(A)
公開日
2025-12-09
出願番号
2024085325
出願日
2024-05-27
発明の名称
ステータユニット
出願人
株式会社アイシン
代理人
個人
,
個人
,
個人
主分類
H02K
11/25 20160101AFI20251202BHJP(電力の発電,変換,配電)
要約
【課題】サーミスタの中性線への固定に際して別部品を必要とせず、しかも、中性線に対して安定した状態で固定できるサーミスタを有するステータユニットを提供する。
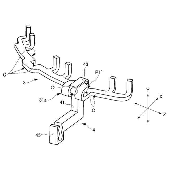
【解決手段】本発明のステータユニット1は、中性線3と、中性線3に固定されるサーミスタ4と、を備え、サーミスタ4は、サーミスタ本体部41と、測温部42と、サーミスタ本体部41に片端の繋がった係止片43と、を備え、中性線3は、測温部42を収容する折返し部31aを有する中性線本体部31を備え、サーミスタ本体部41、又は、測温部42と係止片43とで折返し部31aを係止する係止部SCが形成され、係止部SCが、折返し部31aに測温部42を収容した状態で折返し部31aを係止した状態の時に、係止部SCによって動きが規制される方向に直交する方向の動きを、サーミスタ本体部41の一部が中性線本体部31に当接することで規制する。
【選択図】図2
特許請求の範囲
【請求項1】
ステータユニットであって、
前記ステータユニットは、
ステータのU相、V相、及び、W相に電気的に接続される中性線と、
前記中性線に固定されるサーミスタと、を備え、
前記サーミスタは、
サーミスタ本体部と、
測温部と、
前記サーミスタ本体部に片端の繋がった係止片と、を備え、
前記中性線は、前記測温部を収容する折返し部を有し、前記ステータに沿って延在する中性線本体部を備え、
前記サーミスタ本体部、又は、前記測温部と前記係止片とで前記折返し部を係止する係止部が形成され、
前記係止部は、前記折返し部に前記測温部を収容した状態の時に前記折返し部を係止し、
前記係止部が前記折返し部を係止した状態の時に、前記係止部によって動きが規制される方向に直交する方向の動きを、前記サーミスタ本体部の一部が前記中性線本体部に当接することで規制する、ステータユニット。
続きを表示(約 700 文字)
【請求項2】
前記係止片が、前記測温部とで挟み込むようにしつつ係止する係止部を形成するように、前記測温部側の前記サーミスタ本体部から延出し、
前記中性線本体部は、前記折返し部の一方側に繋がり、前記折返し部に向かうにつれて、傾斜を有する傾斜部を備え、
前記係止部が前記折返し部を係止した状態の時に、前記係止部によって動きが規制される方向に直交する方向の動きを、前記測温部が前記傾斜部の位置の前記中性線本体部に当接することで規制する、請求項1に記載のステータユニット。
【請求項3】
前記中性線本体部は、
第1本体部と、
前記折返し部の一部を介して前記第1本体部に繋がり、前記第1本体部から離間した第2本体部と、を備え、
前記折返し部は、
前記第1本体部の前記第2本体部に近い側の側面から外側方向に延在した後に折り返される第1曲げ部と、
前記第2本体部の前記第1本体部に近い側の側面から外側方向に延在した後に折り返される第2曲げ部と、
前記第1本体部と前記第2本体部を繋ぐように、前記第1曲げ部の先端側と前記第2曲げ部の先端側を繋ぐ渡り部と、を備え、
前記係止部が、前記折返し部の前記渡り部を係止する、請求項1に記載のステータユニット。
【請求項4】
前記サーミスタは、前記係止片の設けられる前記サーミスタ本体部の端部の反対側に位置する前記サーミスタ本体部の端部側に一体に設けられた前記サーミスタのハーネスを保持する保持部を備えている、請求項1から請求項3のいずれか1項に記載のステータユニット。
発明の詳細な説明
【技術分野】
【0001】
本開示は、ステータユニットに関する。
続きを表示(約 1,800 文字)
【背景技術】
【0002】
サーミスタの配線が、外部に露出する露出部を有する場合、その露出部がステータコアに接触することを防止する必要がある。
しかし、従来構成では、ステータコアの端面にある検出部に至る配線の位置決めを行い難く、露出部がステータコアに接触するおそれがある(特許文献1参照)。
【0003】
この課題を解決するために、特許文献1には、ステータと、ステータに固定される固定部を有し、ステータの温度を検出するサーミスタと、固定部に取り付けられる保持具と、を備えるステータユニットであって、サーミスタの配線が、外部に露出する第1部分と、チューブで被覆された第2部分と、を有し、保持具が、第1部分を引っ掛ける引掛部と、チューブを複数回折り曲げた状態で保持する保持部と、を有するステータユニットが開示されている。
【先行技術文献】
【特許文献】
【0004】
特開2022-142097号公報
【発明の概要】
【発明が解決しようとする課題】
【0005】
しかしながら、特許文献1に開示されたステータユニットでは、サーミスタと別部品である保持具によって、サーミスタと中性線の固定を行っていることから、サーミスタの中性線への配置と、その配置を維持した状態で保持具を使ってサーミスタを中性線に固定するという作業を行わなければならず、手間がかかるという問題がある。
【0006】
本発明は、このような事情に鑑みてなされたものであり、サーミスタの中性線への固定に際して別部品を必要とせず、しかも、中性線に対して安定した状態で固定できるサーミスタを有するステータユニットを提供することを目的とする。
【課題を解決するための手段】
【0007】
本発明は、上記目的を達成するために以下の構成によって把握される。
本発明のステータユニットは、
ステータのU相、V相、及び、W相に電気的に接続される中性線と、
前記中性線に固定されるサーミスタと、を備え、
前記サーミスタは、
サーミスタ本体部と、
測温部と、
前記サーミスタ本体部に片端の繋がった係止片と、を備え、
前記中性線は、前記測温部を収容する折返し部を有し、前記ステータに沿って延在する中性線本体部を備え、
前記サーミスタ本体部、又は、前記測温部と前記係止片とで前記折返し部を係止する係止部が形成され、
前記係止部は、前記折返し部に前記測温部を収容した状態の時に前記折返し部を係止し、
前記係止部が前記折返し部を係止した状態の時に、前記係止部によって動きが規制される方向に直交する方向の動きを、前記サーミスタ本体部の一部が前記中性線本体部に当接することで規制する。
【発明の効果】
【0008】
本発明によれば、サーミスタの中性線への固定に際して別部品を必要とせず、しかも、中性線に対して安定した状態で固定できるサーミスタを有するステータユニットを提供することができる。
【図面の簡単な説明】
【0009】
本発明に係る第1実施形態のステータユニットの平面図である。
本発明に係る第1実施形態のサーミスタを中性線に固定する前の中性線とサーミスタの斜視図である。
本発明に係る第1実施形態のサーミスタが中性線に固定された状態を示す斜視図である。
本発明に係る第2実施形態のサーミスタを中性線に固定する前の中性線とサーミスタの斜視図である。
本発明に係る第2実施形態のサーミスタが中性線に固定された状態を示す斜視図である。
【発明を実施するための形態】
【0010】
以下、添付図面を参照して、本発明を実施するための形態(以下、「実施形態」と称する)について詳細に説明する。
なお、実施形態の説明の全体を通して同じ要素には同じ番号又は符号を付している。
また、図面の寸法比率は実際の寸法比率と異なり、あくまでも説明を理解しやすく描いているものに過ぎず、図面間で同一部分が同一寸法で描かれていることを保証するものではない。
さらに、図面では、見やすさのために、複数存在する同一属性の部位には、一部のみしか参照符号が付されていない場合がある。
(【0011】以降は省略されています)
この特許をJ-PlatPat(特許庁公式サイト)で参照する
関連特許
株式会社アイシン
車両
19日前
株式会社アイシン
車両
19日前
株式会社アイシン
粉砕機
6日前
株式会社アイシン
ロータ
2か月前
株式会社アイシン
潤滑油
4日前
株式会社アイシン
ロータ
1か月前
株式会社アイシン
熱交換器
19日前
株式会社アイシン
駆動装置
2か月前
株式会社アイシン
ステータ
2か月前
株式会社アイシン
制御装置
2か月前
株式会社アイシン
ステータ
2か月前
株式会社アイシン
制御装置
2か月前
株式会社アイシン
熱交換器
19日前
株式会社アイシン
歯車機構
1か月前
株式会社アイシン
ステータ
2か月前
株式会社アイシン
ステータ
2か月前
株式会社アイシン
電子機器
2か月前
株式会社アイシン
制御装置
2か月前
株式会社アイシン
検知装置
2か月前
株式会社アイシン
保護装置
2か月前
株式会社アイシン
レーダ装置
2か月前
株式会社アイシン
操作検出装置
13日前
株式会社アイシン
折り畳み装置
2か月前
株式会社アイシン
運転支援装置
2か月前
株式会社アイシン
運転支援装置
2か月前
株式会社アイシン
焼き入れ方法
4日前
株式会社アイシン
折り畳み装置
2か月前
株式会社アイシン
走行制御装置
2か月前
株式会社アイシン
運転支援装置
2か月前
株式会社アイシン
ガス検出装置
2か月前
株式会社アイシン
環境認識装置
2か月前
株式会社アイシン
運転支援装置
2か月前
株式会社アイシン
衝撃吸収部材
2か月前
株式会社アイシン
運転支援装置
2か月前
株式会社アイシン
折り畳み装置
2か月前
株式会社アイシン
牽引支援装置
2か月前
続きを見る
他の特許を見る