TOP
|
特許
|
意匠
|
商標
特許ウォッチ
Twitter
他の特許を見る
公開番号
2025150061
公報種別
公開特許公報(A)
公開日
2025-10-09
出願番号
2024050740
出願日
2024-03-27
発明の名称
衝撃吸収部材
出願人
株式会社アイシン
,
アイシン軽金属株式会社
代理人
弁理士法人アイテック国際特許事務所
主分類
B62D
25/20 20060101AFI20251002BHJP(鉄道以外の路面車両)
要約
【課題】衝撃吸収部材に衝撃が加えられたときに、より大きな衝撃を当該衝撃吸収部材によって吸収可能にすると共に、座屈した部分の周辺部材への干渉を抑制する。
【解決手段】本開示の衝撃吸収部材は、車両に作用する衝撃を吸収するものであり、所定方向に延在する筒状の周壁部と、それぞれ所定方向に延在すると共に周壁部の内部に複数の中空部を画成するように衝撃吸収方向に間隔をおいて配設された複数の仕切り壁部と、それぞれ所定方向に延在すると共に、周壁部の上壁部および下壁部の所定の中空部を画成する部分の少なくとも何れか一方の衝撃吸収方向における座屈モードを2次以上にするように上壁部および下壁部に形成された複数の変形トリガー部とを含む。
【選択図】図3
特許請求の範囲
【請求項1】
車両に作用する衝撃を吸収する衝撃吸収部材において、
所定方向に延在する筒状の周壁部と、
それぞれ前記所定方向に延在すると共に前記周壁部の内部に複数の中空部を画成するように衝撃吸収方向に間隔をおいて配設された複数の仕切り壁部と、
それぞれ前記所定方向に延在すると共に、前記周壁部の上壁部および下壁部の所定の中空部を画成する部分の少なくとも何れか一方の前記衝撃吸収方向における座屈モードを2次以上にするように前記上壁部および前記下壁部に形成された複数の変形トリガー部と、
を備える衝撃吸収部材。
続きを表示(約 560 文字)
【請求項2】
請求項1に記載の衝撃吸収部材において、
前記所定の中空部内には、複数のカラーが前記所定方向に間隔をおいて並ぶように前記衝撃吸収方向にオフセットして配設され、
前記上壁部および前記下壁部の少なくとも何れか一方には、前記複数のカラーに整合するように複数のボルト挿通孔が形成され、
前記周壁部は、それぞれ対応するボルト挿通孔および対応する前記カラーに挿通される複数のボルトを介して他の部材に締結される衝撃吸収部材。
【請求項3】
請求項2に記載の衝撃吸収部材において、
前記変形トリガー部は、前記ボルト挿通孔の内径よりも小さい幅を有し、
前記ボルト挿通孔の少なくとも何れか1つは、前記変形トリガー部を分断するように前記上壁部または前記下壁部に形成される衝撃吸収部材。
【請求項4】
請求項1から3の何れか一項に記載の衝撃吸収部材において、
前記変形トリガー部は、前記上壁部および前記下壁部の上面および下面の一方から他方に向けて窪む薄肉部であり、前記上壁部および前記下壁部の少なくとも何れか一方には、前記上面から前記下面に向けて窪む前記薄肉部と、前記下面から前記上面に向けて窪む前記薄肉部とが形成されている衝撃吸収部材。
発明の詳細な説明
【技術分野】
【0001】
本開示は、車両に作用する衝撃を吸収する衝撃吸収部材に関する。
続きを表示(約 2,200 文字)
【背景技術】
【0002】
従来、車両のフロアパネルの車幅方向の外側で車両の前後方向に沿って延在する閉断面部を含むロッカ構造が知られている(例えば、特許文献1参照)。このロッカ構造の閉断面部内には、当該閉断面部における車幅方向の外側に位置する外側壁と車幅方向の内側に位置する内側壁との間に車幅方向に沿って横板が架け渡される。また、横板には、車両上下方向の上方側へ向かって突出する凸部と車両上下方向の下方側へ向かって凹む凹部とが車幅方向に沿って交互に形成されている。更に、凸部の突出量および凹部の凹み量は、外側壁側から内側壁側へ向かうにつれて変えられている。また、閉断面部における車両上下方向の下側に位置する下壁部と横板との間には、車両上下方向に沿って複数の縦板が架け渡されている。複数の縦板は、外側壁と内側壁との間に概ね等間隔に配設され、それぞれ横板における凸部の頂部と凹部の頂部との間から下壁部側に延在する。そして、かかるロッカ構造において、横板および下壁部の外側壁と縦板との間の部分、隣り合う縦板同士の間の部分、内側壁と縦板との間の部分の車幅方向における座屈モードは、1次になる。
【先行技術文献】
【特許文献】
【0003】
特開2019-137256号公報
【発明の概要】
【発明が解決しようとする課題】
【0004】
上述のようなロッカ構造において、隣り合う一対の縦板(外側壁および内側壁を含む)の間隔、すなわち当該縦板間の中空部の車幅方向における長さによっては、ロッカ構造に加えられた衝撃により上記一対の縦板間で横板および下壁部がそれぞれ中空部側に撓んで互いに接触してしまい、大きな衝撃エネルギが吸収されなくなってしまうことがある。また、ロッカ構造に加えられた衝撃により一対の縦板間で横板および下壁部が上側または下側に撓んで1次モードで座屈すると、座屈した横板および下壁部が周辺部材に干渉してしまうおそれがある。
【0005】
そこで、本開示は、衝撃吸収部材に衝撃が加えられたときに、より大きな衝撃を当該衝撃吸収部材によって吸収可能にすると共に、座屈した部分の周辺部材への干渉を抑制することを主目的とする。
【課題を解決するための手段】
【0006】
本開示の衝撃吸収部材は、車両に作用する衝撃を吸収する衝撃吸収部材において、所定方向に延在する筒状の周壁部と、それぞれ前記所定方向に延在すると共に前記周壁部の内部に複数の中空部を画成するように衝撃吸収方向に間隔をおいて配設された複数の仕切り壁部と、それぞれ前記所定方向に延在すると共に、前記周壁部の上壁部および下壁部の所定の中空部を画成する部分の少なくとも何れか一方の前記衝撃吸収方向における座屈モードを2次以上にするように前記上壁部および前記下壁部に形成された複数の変形トリガー部とを含むものである。
【0007】
本開示の衝撃吸収部材では、当該衝撃吸収部材に衝撃が加えられたときに、周壁部の上壁部および下壁部の所定の中空部を画成する部分の少なくとも何れか一方を複数の変形トリガー部を起点として2次の座屈モードで衝撃吸収方向に座屈させる(潰す)ことができる。これにより、所定の中空部の衝撃吸収方向における長さが比較的長い場合であっても、衝撃吸収部材に加えられた衝撃により上壁部および下壁部の所定の中空部を画成する部分が撓んで当該所定の中空部で互いに接触するのを抑制することが可能になる。更に、衝撃吸収部材に加えられた衝撃により上壁部および下壁部の所定の中空部を画成する部分が上側または下側(所定の中空部側とは反対側)に撓んで座屈しても、上壁部の上側への突出量および下壁部の下側への突出量を小さくすることができる。この結果、衝撃吸収部材に衝撃が加えられたときに、より大きな衝撃を当該衝撃吸収部材によって吸収可能にすると共に、座屈した部分の周辺部材への干渉を抑制することができる。なお、変形トリガー部は、所定方向に連続して延在するものであってもよく、所定方向に断続的に延在するものであってもよい。
【図面の簡単な説明】
【0008】
本開示の衝撃吸収部材を含む車体構造を示す斜視図である。
本開示の衝撃吸収部材を含む車体構造を示す正面である。
本開示の衝撃吸収部材を示す断面図である。
本開示の衝撃吸収部材を示す平面図である。
本開示の他の衝撃吸収部材を示す断面図である。
本開示の更に他の衝撃吸収部材を示す断面図である。
【発明を実施するための形態】
【0009】
次に、図面を参照しながら、本開示の発明を実施するための形態について説明する。
【0010】
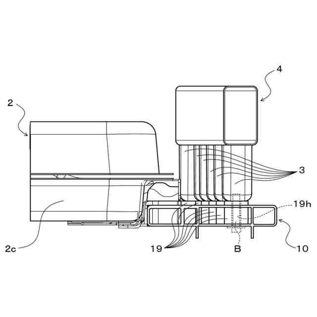
図1は、本開示の衝撃吸収部材(Energy Absorption Member)10が適用される車両1の要部を示す斜視図である。同図に示す車両1は、例えばバッテリ電気自動車あるいはハイブリッド車両といった電動車両であり、図示しないフロアパネルの下方に搭載(配置)されるバッテリ(電池パック)2を含む。バッテリ2は、例えばリチウムイオン二次電池あるいはニッケル水素二次電池である多数のバッテリセル(図示省略)と、当該多数のバッテリセルを収容するバッテリケース2cとを含むものである。
(【0011】以降は省略されています)
この特許をJ-PlatPat(特許庁公式サイト)で参照する
関連特許
株式会社アイシン
車両
12日前
株式会社アイシン
車両
12日前
株式会社アイシン
熱交換器
12日前
株式会社アイシン
熱交換器
12日前
株式会社アイシン
電力変換装置
25日前
株式会社アイシン
ヒートシンク
25日前
株式会社アイシン
動力変換装置
12日前
株式会社アイシン
操作検出装置
6日前
株式会社アイシン
キックセンサ
25日前
株式会社アイシン
回転角検出装置
12日前
株式会社アイシン
車両用駆動装置
27日前
株式会社アイシン
車両用駆動装置
12日前
株式会社アイシン
冷却モジュール
25日前
株式会社アイシン
車両用ドア装置
25日前
株式会社アイシン
車両用駆動装置
25日前
株式会社アイシン
位置姿勢取得装置
5日前
株式会社アイシン
車両用駆動伝達装置
27日前
株式会社アイシン
車両用駆動伝達装置
28日前
株式会社アイシン
複合歯車の製造方法
4日前
株式会社アイシン
車両用駆動伝達装置
12日前
株式会社アイシン
二酸化炭素回収システム
5日前
株式会社アイシン
車両用のドアロック装置
25日前
株式会社アイシン
ペロブスカイト太陽電池
26日前
株式会社アイシン
静電容量センサシステム
26日前
株式会社アイシン
ペロブスカイト太陽電池の製造方法
13日前
株式会社アイシン
ペロブスカイト太陽電池及びカーボン液
4日前
株式会社アイシン
車両用制御装置及び車両用制御プログラム
5日前
株式会社アイシン
水性エマルジョン系制振塗料組成物及びその硬化塗膜
25日前
トヨタ自動車株式会社
計数装置、計数方法及び計数用コンピュータプログラム
4日前
個人
カート
4か月前
個人
走行装置
5か月前
個人
三輪バイク
1か月前
個人
台車
12日前
個人
乗り物
6か月前
個人
電動走行車両
5か月前
個人
折り畳み自転車
12か月前
続きを見る
他の特許を見る