TOP
|
特許
|
意匠
|
商標
特許ウォッチ
Twitter
他の特許を見る
公開番号
2025122983
公報種別
公開特許公報(A)
公開日
2025-08-22
出願番号
2024018769
出願日
2024-02-09
発明の名称
車両構造
出願人
ダイハツ工業株式会社
代理人
個人
主分類
B62D
25/20 20060101AFI20250815BHJP(鉄道以外の路面車両)
要約
【課題】後面衝突時に電装部品の損傷を抑制し易い車両構造を提供する。
【解決手段】リアフロアパネルとリアフロアクロスメンバと電装部品と電装部品をリアフロアパネルに固定するブラケットとを備え、リアフロアパネルは凹部を有し、凹部は、底部と、前壁部と、側壁部と、前壁部と側壁部とをつなぐ角部とを有し、電装部品は、凹部内において角部に向かい合うように配置されていて、ブラケットは、電装部品よりも車両の前方のリアフロアパネルに固定される前方固定部と、電装部品よりも車両の後方のリアフロアパネルに固定される後方固定部とを有し、前方固定部は後方固定部よりも車幅の外側に配置されていて、側壁部は、特定構造の第1ビードおよび第2ビードを有する、車両構造。
【選択図】図3
特許請求の範囲
【請求項1】
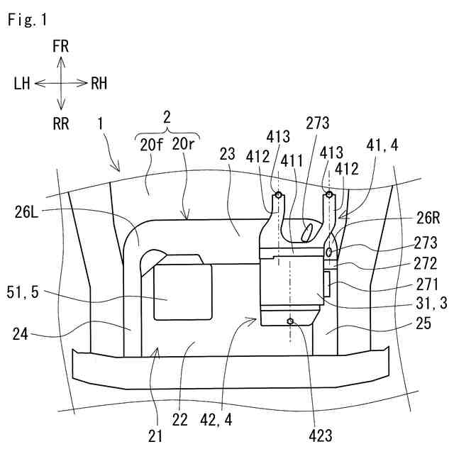
車両の後方の下面を構成するリアフロアパネルと、
前記リアフロアパネルの上面または下面に車幅に沿って配置されるリアフロアクロスメンバと、
前記リアフロアパネルに配置される電装部品と、
前記電装部品を前記リアフロアパネルに固定するブラケットと、を備え、
前記リアフロアパネルは、前記車両の下方へ窪む凹部を有し、
前記凹部は、底部と、前記底部の前縁につながる前壁部と、前記底部の側縁につながる側壁部と、前記前壁部と前記側壁部とをつなぐ角部と、を有し、
前記電装部品は、前記凹部内において前記角部に向かい合うように配置されていて、
前記ブラケットは、
前記電装部品よりも前記車両の前方の前記リアフロアパネルに固定される前方固定部と、
前記電装部品よりも前記車両の後方の前記リアフロアパネルに固定される後方固定部と、を有し、
前記前方固定部は、前記後方固定部よりも車幅の外側に配置されていて、
前記側壁部は、前記凹部の外側に向かって窪む凹状に構成された第1ビードおよび第2ビードを有し、
前記第1ビードは、前記リアフロアクロスメンバの近傍から前記車両の前方に延びるように設けられていて、
前記第2ビードは、前記第1ビードに隣接する位置に前記車両の上下に延びるように設けられている、
車両構造。
発明の詳細な説明
【技術分野】
【0001】
本発明は、後面衝突時に電装部品の損傷を抑制し易い車両構造に関する。
続きを表示(約 2,500 文字)
【背景技術】
【0002】
特許文献1は、リアフロアパネルと、リアフロアパネルの後端が固定されるバックパネルと、リアフロアパネルに配置される電子制御ユニットと、電子制御ユニットをリアフロアパネルに固定するブラケットと、を備える電動車両を開示している。リアフロアパネルは、前部エリアと後部エリアとを有する。後部エリアは、前部エリアに対して下方に窪んでいる凹部を有する。電子制御ユニットは、後部エリアの凹部に配置されている。ブラケットは、第1ブラケットと第2ブラケットとを有する。第1ブラケットは、電子制御ユニットの前面に固定される箇所と、電子制御ユニットよりも前方に位置して、前部エリアに固定される2つの第1固定箇所とを有する。第2ブラケットは、電子制御ユニットの後面に固定される箇所と、電子制御ユニットよりも後方に位置して、バックパネルに固定される2つの第2固定箇所とを有する。2つの第1固定箇所は、2つの第2固定箇所よりも車幅に沿った方向の左方に配置されている。
【0003】
特許文献2は、リアフロアパネルと、リアフロアパネルに配置されるバッテリと、を備える車両のバッテリ固定構造を開示している。リアフロアパネルは、高段部と、高段部よりも車両の後方に配置される低段部と、高段部と低段部とをつなぐ連結部とを有する。連結部は、前壁部と左右の側壁部とを有する。前壁部は、高段部の後端縁と低段部の前端縁とをつないでいる。左右の側壁部は、低段部の左右の側縁につながっている。前壁部の左右の側縁と左右の側壁部とがつながっている。バッテリは、低段部に固定されている。
【先行技術文献】
【特許文献】
【0004】
特開2021-109586号公報
特開2022-125882号公報
【発明の概要】
【発明が解決しようとする課題】
【0005】
特許文献1では、2つの第1固定箇所が2つの第2固定箇所よりも車幅に沿った方向の左方に配置されていることで、電動車両の後面衝突時、電子制御ユニットを上方から見た際、電子制御ユニットを左周りに回転させる力が電子制御ユニットに作用する。特許文献1では、電子制御ユニットを左周りに回転させることで、電子制御ユニットの前方への移動が抑制されている。
【0006】
特許文献2では、車両の後面衝突時、低段部の前方に向かう変位によって、連結部の前壁部が上方かつ後方に向かって突出するように山折れ状に変形する。
【0007】
特許文献1のように回転した電子制御ユニットと、特許文献2のように変形した前壁部とが衝突するおそれがある。電子制御ユニットと前壁部が衝突すると、電子制御ユニットが損傷するおそれがある。
【0008】
本発明の目的の一つは、後面衝突時に電装部品の損傷を抑制し易い車両構造を提供することにある。
【課題を解決するための手段】
【0009】
本発明の一態様に係る車両構造は、車両の後方の下面を構成するリアフロアパネルと、前記リアフロアパネルの上面または下面に車幅に沿って配置されるリアフロアクロスメンバと、前記リアフロアパネルに配置される電装部品と、前記電装部品を前記リアフロアパネルに固定するブラケットと、を備える。前記リアフロアパネルは、前記車両の下方へ窪む凹部を有する。前記凹部は、底部と、前記底部の前縁につながる前壁部と、前記底部の側縁につながる側壁部と、前記前壁部と前記側壁部とをつなぐ角部と、を有する。前記電装部品は、前記凹部内において前記角部に向かい合うように配置されている。前記ブラケットは、前記電装部品よりも前記車両の前方の前記リアフロアパネルに固定される前方固定部と、前記電装部品よりも前記車両の後方の前記リアフロアパネルに固定される後方固定部と、を有する。前記前方固定部は、前記後方固定部よりも車幅の外側に配置されている。前記側壁部は、前記凹部の外側に向かって窪む凹状に構成された第1ビードおよび第2ビードを有する。前記第1ビードは、前記リアフロアクロスメンバの近傍から前記車両の前方に延びるように設けられている。前記第2ビードは、前記第1ビードに隣接する位置に前記車両の上下に延びるように設けられている。
【発明の効果】
【0010】
上記車両構造では、後面衝突時、車両の後方から前方へ向かう荷重をリアフロアクロスメンバが受ける。それにより、リアフロアパネルにおけるリアフロアクロスメンバよりも後方の領域の変形がリアフロアクロスメンバまでで抑え込まれる。その過程での各部の挙動は次の通りである。後方から前方へ向かう力がブラケットに作用する。ブラケットの前方固定部が後方固定部よりも車幅の外側に配置されているため、ブラケットおよび電装部品を上方から見た際、前方固定部および電装部品の前部が車幅の外側に向かう方向に回転する。前方固定部の回転に伴って、凹部の前壁部と、前壁部と側壁部とをつなぐ角部とには、車幅の外側に向かう方向に回動させる荷重が作用する。側壁部にリアフロアクロスメンバの近傍から車両の前方に延びるように第1ビードが設けられていることで、上記回動させる荷重は、第1ビードからリアフロアクロスメンバに伝達されてリアフロアクロスメンバで受け止められ易い。そのため、第1ビードに隣接する位置に設けられている第2ビードは、凹部の側壁部の外側に向かって突出するように変形する。第2ビードの変形は、前壁部および上記角部を車幅の外側に引っ張る。以上の各部の挙動により、第1ビードがリアフロアクロスメンバの近傍から車両の前方に延びるように設けられていない場合に比較して、前壁部および上記角部の上方および後方へ突出する変形が抑制される。そのため、回転した電装部品は、前壁部および上記角部との衝突が抑制される。よって、上記車両構造は、後面衝突時に電装部品の損傷を抑制し易い。
(【0011】以降は省略されています)
この特許をJ-PlatPat(特許庁公式サイト)で参照する
関連特許
ダイハツ工業株式会社
電動車両
今日
ダイハツ工業株式会社
電子制御装置
今日
ダイハツ工業株式会社
曲げ加工方法
2日前
ダイハツ工業株式会社
車体の下部後方構造
6日前
ダイハツ工業株式会社
バッテリーモジュール
1日前
ダイハツ工業株式会社
有機物の分解処理装置
2日前
ダイハツ工業株式会社
ロボット制御システム
6日前
ダイハツ工業株式会社
車両用外部充電ポート支持構造
13日前
ダイハツ工業株式会社
バイオガス発酵システム及びバイオガス発酵方法
1日前
ダイハツ工業株式会社
車両用表示装置
6日前
個人
カート
5か月前
個人
走行装置
5か月前
個人
三輪バイク
1か月前
個人
台車
21日前
個人
乗り物
7か月前
個人
電動走行車両
5か月前
個人
自転車用歩数計
1か月前
個人
駐輪設備
3か月前
個人
電動モビリティ
9か月前
個人
発音装置
9か月前
個人
閂式ハンドル錠
5か月前
個人
ボギー・フレーム
3か月前
個人
“zen-go.”
4か月前
個人
ルーフ付きトライク
3か月前
個人
ルーフ付きトライク
4か月前
個人
自由方向乗車自転車
9か月前
個人
三輪電動車両
1か月前
個人
自転車前輪固定装置
2日前
個人
車の室内高温防止屋根
1か月前
井関農機株式会社
作業車両
1か月前
個人
パワーアシスト自転車
3か月前
個人
キャンピングトライク
10か月前
個人
ステアリングの操向部材
10か月前
井関農機株式会社
収穫作業車両
7日前
株式会社豊田自動織機
産業車両
6か月前
個人
電動式ルーフ付きトライク
13日前
続きを見る
他の特許を見る