TOP
|
特許
|
意匠
|
商標
特許ウォッチ
Twitter
他の特許を見る
公開番号
2025180510
公報種別
公開特許公報(A)
公開日
2025-12-11
出願番号
2024087887
出願日
2024-05-30
発明の名称
電子制御装置
出願人
ダイハツ工業株式会社
代理人
弁理士法人酒井国際特許事務所
主分類
G06F
8/65 20180101AFI20251204BHJP(計算;計数)
要約
【課題】データ取得時間を短縮することが可能な電子制御装置を提供する。
【解決手段】本発明にかかる電子制御装置は、車両の駆動用電源状態を検出する検出部と、駆動用電源状態に基づいて、外部から送信されるデータを受信する受信部と、受信部が受信したデータを記憶する記憶部と、受信部が受信したデータにより所定のデータが揃ったことを条件に記憶部のデータに基づく画面情報を表示する表示制御部と、を有し、受信部によるデータの取得速度は、駆動用電源状態がONのときに比べて駆動用電源状態がOFFのときの方が速い、ことを特徴とする。
【選択図】図2
特許請求の範囲
【請求項1】
車両の駆動用電源状態を検出する検出部と、
前記駆動用電源状態に基づいて、外部から送信されるデータを受信する受信部と、
前記受信部が受信したデータを記憶する記憶部と、
前記受信部が受信したデータにより所定のデータが揃ったことを条件に前記記憶部のデータに基づく画面情報を表示する表示制御部と、
を有し、
前記受信部によるデータの取得速度は、前記駆動用電源状態がONのときに比べて前記駆動用電源状態がOFFのときの方が速い、
ことを特徴とする電子制御装置。
続きを表示(約 110 文字)
【請求項2】
前記受信部は、
さらに、前記駆動用電源状態がONの期間において、他の電子制御装置の通信量に応じてデータの取得速度を可変する、
ことを特徴とする請求項1に記載の電子制御装置。
発明の詳細な説明
【技術分野】
【0001】
本発明は、電子制御装置に関する。
続きを表示(約 1,700 文字)
【背景技術】
【0002】
従来、機器のソフトウェアをアップデートする方法として、機器に通信ケーブルを接続することなく無線でソフトウェアをアップデートさせるOTA(Over The Air)技術がある。この技術により、OTAセンサと呼ばれるデータセンサに登録した更新プログラムが、データセンタから更新対象の機器に無線で配信されて、機器のソフトウェアがアップデートされる。無線通信機能を搭載した車両にも、OTAの技術によりデータセンタから更新プログラムを取得してソフトウェアをアップデートするものがある。
【0003】
車両側におけるシステムは、複数のECU(Electronic Control Unit)がCAN(Controller Area Network)のバスに接続されているため、ソフトウェアのアップデートでデータ量が一時的に増加した場合に、バス負荷が高くなり、ネットワークの性能が一時的に著しく低下したり、場合によっては障害が発生したりする可能性がある。そのため、他のデータに影響を与えないようにするためにアップデートのデータは取得速度を抑えて受信する。
【0004】
例えば特許文献1には、OTAにより取得する更新ソフトウェアの情報を画面に表示してユーザに確認を行うソフトウェア更新装置の技術が開示されている。
【先行技術文献】
【特許文献】
【0005】
特開2021-128362号公報
【発明の概要】
【発明が解決しようとする課題】
【0006】
しかし、従来、OTAによる車両のソフトウェアのアップデートは、HMI(Human Machine Interface)データが大きい場合に、車両側でHMIデータの受信が完了するまでに時間を要し、アップデートを行う画面の表示が開始されるまでの時間がよりかかるという問題がある。HMIデータは主に文字データであるが、文字データ以外の場合には更にデータが大きくなる。従って、例えばユーザによる車の使用時間が短いと、その時間内でHMIデータの受信が完了せず、アップデートを行う画面の表示を準備することができない。この場合、アップデートが暫く行われないことになる。車両側にCANのバスを追加して取得速度を上げようとすると、ハーネスおよびECU内のCAN用のチップが増えることでコストが上がってしまうという別の問題が生じてしまう。
【0007】
本発明の目的は、データ取得時間を短縮することが可能な電子制御装置を提供することである。
【課題を解決するための手段】
【0008】
前記の目的を達成するため、本発明にかかる電子制御装置は、車両の駆動用電源状態を検出する検出部と、前記駆動用電源状態に基づいて、外部から送信されるデータを受信する受信部と、前記受信部が受信したデータを記憶する記憶部と、前記受信部が受信したデータにより所定のデータが揃ったことを条件に前記記憶部のデータに基づく画面情報を表示する表示制御部と、を有し、前記受信部によるデータの取得速度は、前記駆動用電源状態がONのときに比べて前記駆動用電源状態がOFFのときの方が速い、ことを特徴とする。
【発明の効果】
【0009】
本発明によれば、データ取得時間を短縮することができる。
【図面の簡単な説明】
【0010】
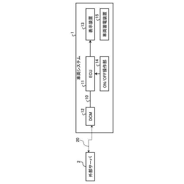
図1は、実施の形態にかかる電子制御装置を含む通信システムの構成の一例を示す図である。
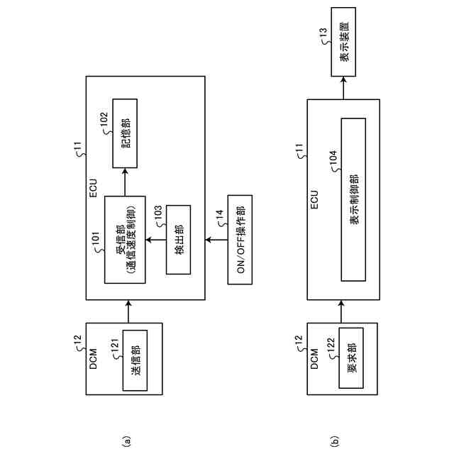
図2は、車両システムが有するソフトウェアアップデート機能の説明図である。
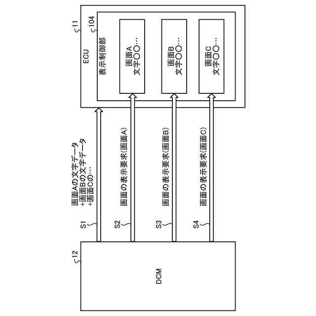
図3は、ソフトウェアアップデートの際の画面表示の手順の一例を示す図である。
図4は、送信部からバスを介して受信部が受信するHMIデータの通信速度と時間との関係を示す説明図である。
【発明を実施するための形態】
(【0011】以降は省略されています)
この特許をJ-PlatPat(特許庁公式サイト)で参照する
関連特許
ダイハツ工業株式会社
電動車両
今日
ダイハツ工業株式会社
電子制御装置
今日
ダイハツ工業株式会社
曲げ加工方法
2日前
ダイハツ工業株式会社
車体の下部後方構造
6日前
ダイハツ工業株式会社
バッテリーモジュール
1日前
ダイハツ工業株式会社
有機物の分解処理装置
2日前
ダイハツ工業株式会社
ロボット制御システム
6日前
ダイハツ工業株式会社
副燃焼室付きエンジン
13日前
ダイハツ工業株式会社
車両用外部充電ポート支持構造
13日前
ダイハツ工業株式会社
車両用外部充電ポート支持構造
13日前
ダイハツ工業株式会社
バイオガス発酵システム及びバイオガス発酵方法
1日前
ダイハツ工業株式会社
車両用表示装置
6日前
個人
詐欺保険
1か月前
個人
縁伊達ポイン
1か月前
個人
5掛けポイント
1か月前
個人
職業自動販売機
27日前
個人
RFタグシート
1か月前
個人
ペルソナ認証方式
1か月前
個人
QRコードの彩色
2か月前
個人
情報処理装置
1か月前
個人
自動調理装置
1か月前
個人
立体グラフの利用方法
6日前
個人
農作物用途分配システム
1か月前
個人
残土処理システム
2か月前
個人
生体情報の登録システム
今日
個人
データ復元システム
1日前
NISSHA株式会社
入力装置
7日前
個人
タッチパネル操作指代替具
1か月前
個人
サービス情報提供システム
29日前
個人
インターネットの利用構造
1か月前
個人
知的財産出願支援システム
2か月前
個人
スケジュール調整プログラム
1か月前
個人
携帯端末障害問合せシステム
1か月前
個人
学習用データ生成装置
8日前
個人
ナショナルブランド共同ストア
今日
個人
エリアガイドナビAIシステム
1か月前
続きを見る
他の特許を見る