TOP
|
特許
|
意匠
|
商標
特許ウォッチ
Twitter
他の特許を見る
公開番号
2025181328
公報種別
公開特許公報(A)
公開日
2025-12-11
出願番号
2024089255
出願日
2024-05-31
発明の名称
電動車両
出願人
ダイハツ工業株式会社
代理人
個人
主分類
B60L
58/26 20190101AFI20251204BHJP(車両一般)
要約
【課題】簡易な構成でバッテリの熱暴走時における乗員の退避のための猶予時間を確保できる電動車両を提供する。
【解決手段】駆動モータに電力を供給するバッテリと、前記バッテリの温度を調節する熱媒体を循環させるポンプと、前記ポンプを制御するポンプ制御部とを備え、前記ポンプ制御部は、前記バッテリの異常発熱時に前記ポンプを最大出力で動作させる、電動車両。
【選択図】図1
特許請求の範囲
【請求項1】
駆動モータに電力を供給するバッテリと、
前記バッテリの温度を調節する熱媒体を循環させるポンプと、
前記ポンプを制御するポンプ制御部とを備え、
前記ポンプ制御部は、前記バッテリの異常発熱時に前記ポンプを最大出力で動作させる、
電動車両。
発明の詳細な説明
【技術分野】
【0001】
本発明は、バッテリの温度を熱媒体の循環により調節する電動車両に関する。
続きを表示(約 1,400 文字)
【背景技術】
【0002】
特許文献1は、電動車両における熱管理システムを開示している。熱管理システムは、バッテリ側冷却水回路を備える。バッテリ側冷却水回路は、バッテリを温度調整する冷却水を循環させる回路である。バッテリ側冷却水回路は、チラーとバッテリとを備える。チラーは、低圧冷媒と冷却水との熱交換によって冷却水を冷却する。バッテリは、充電された電力を走行用電動モータなどの電気式の車載機器に供給する。
【0003】
電動車両におけるバッテリには熱暴走の可能性がある。国連協定規則であるUN ECE R100-02. Part.2には、バッテリの熱暴走をきっかけとした危険な環境から乗員が退避するための猶予時間を確保することが規定されている。例えば特許文献2は、バッテリを構成するバッテリモジュールの熱暴走を感知した際、水槽に貯蔵された冷却水をバッテリモジュールに流すことで、乗員の退避のための猶予時間を確保する技術が開示されている。
【先行技術文献】
【特許文献】
【0004】
特開2019-119369号公報
特表2022-550824号公報
【発明の概要】
【発明が解決しようとする課題】
【0005】
バッテリの熱暴走の対策のための水槽は、電動車両内の機器の設置スペースを圧迫する。設置スペースがそもそも狭い小型の電動車両では、容量の大きい水槽を配置することがむずかしい。また、水槽を設置する作業が煩雑であるため、水槽は電動車両の生産性を悪化させる。
【0006】
本発明の目的の一つは、簡易な構成でバッテリの熱暴走時における乗員の退避のための猶予時間を確保できる電動車両を提供することにある。
【課題を解決するための手段】
【0007】
本発明の一態様に係る電動車両は、駆動モータに電力を供給するバッテリと、前記バッテリの温度を調節する熱媒体を循環させるポンプと、前記ポンプを制御するポンプ制御部とを備え、前記ポンプ制御部は、前記バッテリの異常発熱時に前記ポンプを最大出力で動作させる。
【発明の効果】
【0008】
上記電動車両は、バッテリの温度を調節する熱媒体を循環させるポンプを利用して、バッテリが異常発熱した際にバッテリの温度の上昇速度を低下させることができる。そのため、上記電動車両によれば、簡易な構成でバッテリの熱暴走時における乗員の退避のための猶予時間を確保できる。
【図面の簡単な説明】
【0009】
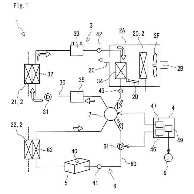
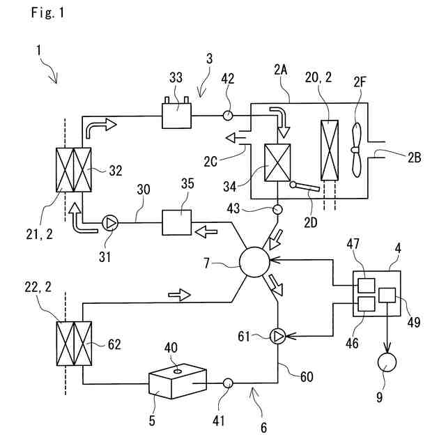
図1は、実施形態に係る電動車両の概略構成図である。
図2は、実施形態に係る電動車両に備わるバッテリの概略構成図である。
図3は、実施形態に係る電動車両の第一の制御手順を示すフローチャートである。
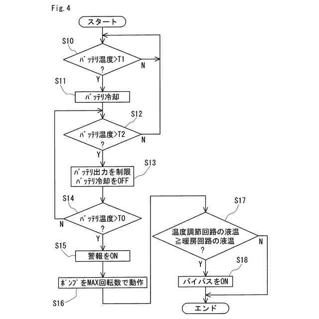
図4は、実施形態に係る電動車両の第二の制御手順を示すフローチャートである。
【発明を実施するための形態】
【0010】
以下、本発明に係る電動車両の実施形態の一例を図面に基づいて説明する。各図面が示す部材の大きさは、説明を明確にする目的で表現されており、必ずしも実際の寸法を表すものではない。なお、本発明は以下の例示に限定されるものではなく、特許請求の範囲によって示され、特許請求の範囲と均等の意味および範囲内でのすべての変更が含まれる。
(【0011】以降は省略されています)
この特許をJ-PlatPat(特許庁公式サイト)で参照する
関連特許
個人
前輪キャスター
3か月前
個人
上部一体型自動車
2か月前
個人
タイヤ脱落防止構造
3か月前
個人
空間形成装置
1か月前
日本精機株式会社
表示装置
3か月前
個人
マスタシリンダ
2か月前
日本精機株式会社
照明装置
1か月前
個人
常設収納型サンバイザー
1か月前
個人
回転窓ワイパー装置
1か月前
日本精機株式会社
車載表示装置
1か月前
日本精機株式会社
車載表示装置
1か月前
日本精機株式会社
車載表示装置
2か月前
株式会社豊田自動織機
産業車両
1か月前
株式会社ニフコ
照明装置
3か月前
株式会社ニフコ
収納装置
3か月前
日本精機株式会社
車室演出装置
3か月前
日本精機株式会社
画像投映装置
2か月前
日本精機株式会社
車載表示装置
1か月前
井関農機株式会社
作業車両
2か月前
日本精機株式会社
車両用投影装置
2か月前
日本精機株式会社
車両用表示装置
1日前
個人
音による速度計とプログラム
1か月前
日本精機株式会社
車両用報知装置
1か月前
日本精機株式会社
車両用投影装置
今日
個人
聴覚と触覚を利用する速度計
6日前
株式会社SUBARU
車両
2か月前
日本精機株式会社
車両用表示装置
2か月前
日本精機株式会社
車両用投射装置
2か月前
日本化薬株式会社
ガス発生器
2か月前
ダイハツ工業株式会社
変速機
3か月前
日本化薬株式会社
ガス発生器
2か月前
日産自動車株式会社
伝動部材
2か月前
スズキ株式会社
運転支援装置
3か月前
日本化薬株式会社
ガス発生器
3か月前
コイト電工株式会社
座席装置
今日
日本化薬株式会社
ガス発生器
1か月前
続きを見る
他の特許を見る