TOP
|
特許
|
意匠
|
商標
特許ウォッチ
Twitter
他の特許を見る
公開番号
2025177710
公報種別
公開特許公報(A)
公開日
2025-12-05
出願番号
2024084773
出願日
2024-05-24
発明の名称
車体の下部後方構造
出願人
ダイハツ工業株式会社
代理人
個人
,
個人
,
個人
主分類
B62D
25/08 20060101AFI20251128BHJP(鉄道以外の路面車両)
要約
【課題】ロアバック構造の如何によらず、リアフロアパネルとロアバックインナとの板合わせ部への水の浸入を防止し、これにより錆の発生を抑止する。
【解決手段】この車体の下部後方構造10は、リアフロアパネル11とロアバックインナ14との間をシーラ18で塞いでなるもので、ロアバックインナ14に取付けられるバンパブラケット13のうち上下方向に延びかつリアフロアパネル11よりも下方に位置する部分に、下方に向かうにつれて車体後方側に後退する後退面部23が設けられる。
【選択図】図3
特許請求の範囲
【請求項1】
リアフロアパネルとロアバックインナとの間をシーラで塞いでなる車体の下部後方構造において、
前記ロアバックインナに取付けられるバンパブラケットのうち上下方向に延びかつ前記リアフロアパネルよりも下方に位置する部分に、下方に向かうにつれて車体後方側に後退する後退面部が設けられることを特徴とする、車体の下部後方構造。
続きを表示(約 76 文字)
【請求項2】
前記後退面部、又は前記後退面部の下端から下方に延びる部分に、貫通穴が設けられている、請求項1に記載の車体の下部後方構造。
発明の詳細な説明
【技術分野】
【0001】
本発明は、車体の下部後方構造に関し、特にバンパが取付けられるバンパブラケットの構造に関する。
続きを表示(約 2,400 文字)
【背景技術】
【0002】
例えば、自動車のリアバンパを取付けるための構造として、断面剛性の高いロアバックインナの下フランジ部にバンパブラケットの上端部を連結し、バンパブラケットの車体後方側に延びる部分にリアバンパの下端部を取付け可能とした構造が知られている。この場合、ロアバックインナは、車体の下部後方側に位置するリアフロアパネルに接合される(例えば特許文献1や特許文献2を参照)。
【先行技術文献】
【特許文献】
【0003】
実開平4-67558号公報
実開平3-108562号公報
【発明の概要】
【発明が解決しようとする課題】
【0004】
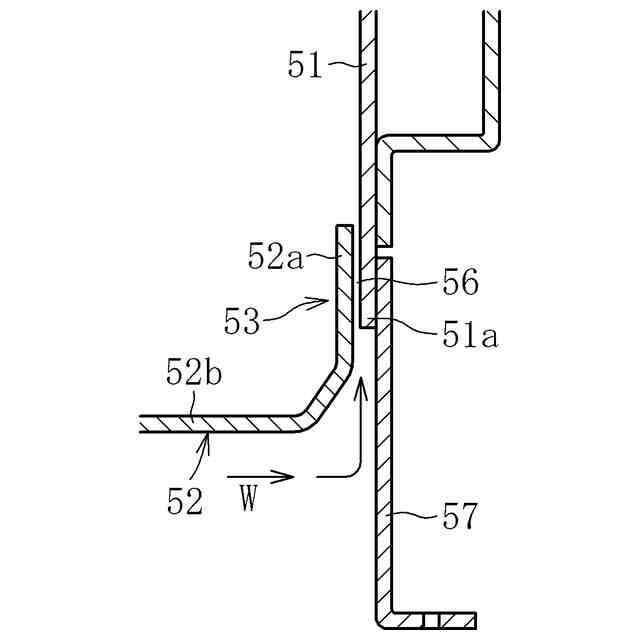
ところで、上述したロアバックインナとリアフロアパネルとの接合部位(板合わせ部)においては、水に曝されることによる錆の発生が問題となることがある。図5は、ロアバックインナ51とリアフロアパネル52との板合わせ部53周辺の断面構造の一例を示している。この図に示すように、リアフロアパネル52の後端部52aとロアバックインナ51とが接合されると共に、ロアバックインナ51が、リアフロアパネル52の底面部52bを跨いで下方に延びる形態をなす場合、リアフロアパネル52の後端部52aとロアバックインナ51のとの板合わせ部53には、下方に向けて開口する開口部54が底面部52bに隣接して設けられる。このような構造をなす場合であれば、下方からシーラガン(図示は省略)を開口部54に差し込んでシーラ55を塗布することができるので、リアフロアパネル52の後端部52aとロアバックインナ51との隙間56の車幅方向(図5でいえば紙面を貫く向き)全域にわたって容易にシーラ55を塗布することができる。そのため、走行時、路面から水Wが吹き上がって車体後方に飛散し、リアフロアパネル52よりも下方に位置するバンパブラケット57に衝突し、上方に駆け上がったとしても、シーラ55により隙間56への浸入を防止し得る。
【0005】
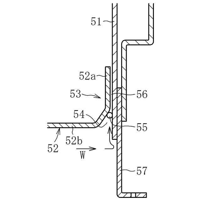
一方で、ロアバック構造の変更により、ロアバックインナ51の下側部分を短くして、その下端部51aがリアフロアパネル52の底面部52bよりも上方に位置するような構成とした場合(図6を参照)、リアフロアパネル52の後端部52aとロアバックインナ51との板合わせ部53が全体的に上方に移行し、下方からシーラガンを差し込んでシーラ55(図5)を塗布することが難しくなる。その場合、シーラガンを車体後方から接近させて、板合わせ部53の下端にシーラ55を塗布することになるが、板合わせ部53のうちバンパブラケット57が取付けられた箇所については、バンパブラケット57が妨げとなって、シーラ55を塗布することができない。上述したように、バンパブラケット57が取付けられた箇所(車幅方向位置)では、特に車体後方に飛散した水Wがバンパブラケット57に衝突して、上方に駆け上がる事態が想定されるため、板合わせ部53にシーラ55がない状態では、隙間56への水Wの浸入を防ぐことは難しい。
【0006】
以上の事情に鑑み、本明細書では、ロアバック構造の如何によらず、リアフロアパネルとロアバックインナとの板合わせ部への水の浸入を防止し、これにより錆の発生を抑止することを、解決すべき技術課題とする。
【課題を解決するための手段】
【0007】
前記課題の解決は、本発明に係る車体の下部後方構造によって達成される。すなわち、この下部後方構造は、リアフロアパネルとロアバックインナとの間をシーラで塞いでなる車体の下部後方構造であって、ロアバックインナに取付けられるバンパブラケットのうち上下方向に延びかつリアフロアパネルよりも下方に位置する部分に、下方に向かうにつれて車体後方側に後退する後退面部が設けられる点をもって特徴付けられる。
【0008】
このように、本発明に係る車体の下部後方構造では、バンパブラケットのうちリアフロアパネルよりも下方に位置する部分に、下方に向かうにつれて車体後方側に後退する後退面部を設けるようにしたので、例えば水の車体後方への飛散時、バンパブラケットに衝突した水がバンパブラケット表面を伝って上方に駆け上がる事態を後退面部により抑止することができる。また、後退面部を設けることにより、バンパブラケットのうち後退面部を設けた部分及び後退面部とその下側で連続する部分の車体前後方向位置を従来に比べて後方に下げることができる。これにより、車体後方側に飛散した水がバンパブラケットと衝突する位置を車体後方側に遠ざけることができるので、水との衝突を和らげて、駆け上がりの勢いを弱めることが可能となる。以上の作用より、バンパブラケットのうちリアフロアパネルの底面部よりも上方に位置する部分にまで水が入り込む事態を可及的に防止できるので、リアフロアパネルとロアバックインナとの板合わせ部にシーラが塗布されていない箇所があったとしても、当該箇所を通って板合わせ部の内部(隙間)に水が浸入する事態を防止することが可能となる。よって、未塗装となる板合わせ部の表面における錆の発生を防止することが可能となる。
【0009】
また、本発明に係る車体の下部後方構造において、後退面部、又は後退面部の下端から下方に延びる部分に、貫通穴が設けられてもよい。
【0010】
このようにバンパブラケットの所定位置に貫通穴を設けることで、車体後方に飛散した水をさらに車体後方に逃がすことができる。よって、バンパブラケットに衝突する水の量を減らして、衝突した水がバンパブラケット表面を駆け上がる事態をさらに高確率で防止することが可能となる。
【発明の効果】
(【0011】以降は省略されています)
この特許をJ-PlatPat(特許庁公式サイト)で参照する
関連特許
ダイハツ工業株式会社
発電装置
21日前
ダイハツ工業株式会社
制御装置
1か月前
ダイハツ工業株式会社
塗布装置
1か月前
ダイハツ工業株式会社
溶接装置
1か月前
ダイハツ工業株式会社
移動支援装置
2か月前
ダイハツ工業株式会社
曲げ加工方法
1日前
ダイハツ工業株式会社
人流取得装置
2か月前
ダイハツ工業株式会社
移動支援装置
1か月前
ダイハツ工業株式会社
3Dプリンタ
1か月前
ダイハツ工業株式会社
車両制御装置
26日前
ダイハツ工業株式会社
剪断穴あけ装置
1か月前
ダイハツ工業株式会社
車両用制御装置
2か月前
ダイハツ工業株式会社
車両用制御装置
1か月前
ダイハツ工業株式会社
電線温度推定装置
1か月前
ダイハツ工業株式会社
溶接電極の研磨装置
1か月前
ダイハツ工業株式会社
車体の下部後方構造
5日前
ダイハツ工業株式会社
バッテリーモジュール
今日
ダイハツ工業株式会社
副燃焼室付きエンジン
12日前
ダイハツ工業株式会社
ロボット制御システム
5日前
ダイハツ工業株式会社
有機物の分解処理装置
1日前
ダイハツ工業株式会社
樹脂製品及びその製造方法
2か月前
ダイハツ工業株式会社
車両用外部充電ポート支持構造
12日前
ダイハツ工業株式会社
車両用外部充電ポート支持構造
12日前
ダイハツ工業株式会社
自動搬送装置及び自動搬送方法
2か月前
ダイハツ工業株式会社
ハイブリッド車両駆動用ユニット
1か月前
ダイハツ工業株式会社
落雷予測システム及び落雷予測方法
1か月前
ダイハツ工業株式会社
片側スポット溶接方法及び制御装置
2か月前
ダイハツ工業株式会社
片側スポット溶接のワーク構造評価方法
2か月前
ダイハツ工業株式会社
バイオガス発酵システム及びバイオガス発酵方法
今日
エヌ・イーケムキャット株式会社
排ガス浄化用触媒
2か月前
ダイハツ工業株式会社
車両用灯具
1か月前
ダイハツ工業株式会社
車両用表示装置
5日前
トヨタ自動車株式会社
車両、蓄電装置および温度調整装置
1か月前
個人
カート
5か月前
個人
走行装置
5か月前
個人
台車
20日前
続きを見る
他の特許を見る