TOP
|
特許
|
意匠
|
商標
特許ウォッチ
Twitter
他の特許を見る
公開番号
2025161938
公報種別
公開特許公報(A)
公開日
2025-10-24
出願番号
2025140235,2022134043
出願日
2025-08-26,2022-08-25
発明の名称
車両用灯具
出願人
ダイハツ工業株式会社
代理人
個人
主分類
F21S
41/36 20180101AFI20251017BHJP(照明)
要約
【課題】光源からの光を反射させる第一リフレクタと意匠用の第二リフレクタとを備えた見栄えのよい車両用灯具を提供する。
【解決手段】車両用灯具は、光源と、第一反射面を有する第一リフレクタと、第二反射面を有する第二リフレクタと、第一リフレクタ及び第二リフレクタを支持しているリアハウジングと、光源と第一リフレクタと第二リフレクタとを収容するようにリアハウジングの前面部を覆う透光性のカバーであるフロントハウジングとを備える。第一リフレクタは光源からの光を第一反射面に向けて通過させる第一孔を備え、第二リフレクタは第二リフレクタの裏面に臨む周辺部材を第二反射面に映す第二孔を備える。車両用灯具は、第二孔を通過させて第二反射面に向けて光を発する光源を備えない。第二孔は、第二孔を通過させてリアハウジングからフロントハウジングまでの空気の流路を形成するように設けられている。
【選択図】図4
特許請求の範囲
【請求項1】
光源と、
前記光源からの光を外方に反射させる第一反射面を有する第一リフレクタと、
前記外方に臨む第二反射面を有する第二リフレクタと、
前記第一リフレクタ及び前記第二リフレクタを支持しているリアハウジングと、
前記光源と前記第一リフレクタと前記第二リフレクタとを収容するように前記リアハウジングの前面部を覆う透光性のカバーであるフロントハウジングとを備え、
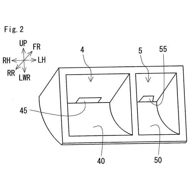
前記第一リフレクタは、前記第一リフレクタの表裏面を貫通し、前記光源からの光を前記第一反射面に向けて通過させる第一孔を備え、
前記第二リフレクタは、前記第二リフレクタの表裏面を貫通し、前記第二リフレクタの裏面に臨む周辺部材を前記第二反射面に映す第二孔を備え、
前記第二反射面は、前記光源からの光を反射させず、
前記第二孔を通過させて前記第二反射面に向けて光を発する光源を備えず、
前記第二孔は、前記第二孔を通過させて前記リアハウジングから前記フロントハウジングまでの空気の流路を形成するように設けられている、
車両用灯具。
発明の詳細な説明
【技術分野】
【0001】
本発明は、車両用灯具に関する。
続きを表示(約 2,000 文字)
【背景技術】
【0002】
特許文献1は、車両のフロントランプ又はテールランプを構成する車両用ランプを開示する。この車両用ランプは、光源を搭載した基板、及び光源からの光を反射させるリフレクタを備える。リフレクタを構成する主壁部の上下高さ方向又は横幅方向の途中位置には凸状曲壁部が設けられており、主壁部が凸状曲壁部を挟んで二つの領域に区分されている。主壁部の背面には、凸状曲壁部によって凹部が構成されている。この凹部に上記基板が配置されている。凸状曲壁部には、光源から発せられた光をリフレクタの反射面に向けて透過させる複数の貫通孔が設けられている。
【先行技術文献】
【特許文献】
【0003】
特開2017-220341号公報
【発明の概要】
【発明が解決しようとする課題】
【0004】
車両用灯具において、光源からの光を反射させないものの、意匠用としてリフレクタを配置することがある。以下では、光源からの光を反射させるリフレクタを第一リフレクタと呼び、意匠用のリフレクタを第二リフレクタと呼ぶ。第一リフレクタには、特許文献1の技術のように、光源からの光を反射面に向けて通過させる孔が設けられている。第一リフレクタを外側から見ると、この孔を通して基板が反射面に映り込み、第一リフレクタが黒っぽく見える。一方、第二リフレクタは、光源からの光を反射させる必要がないため、第一リフレクタのような孔を要しない。第二リフレクタを外側から見ると、第二リフレクタの反射面自体を見ることになり、第二リフレクタが白っぽく見える。よって、第一リフレクタと第二リフレクタとを備える車両用灯具では、第一リフレクタと第二リフレクタとで色味が異なり、見栄えが悪くなるおそれがある。
【0005】
本発明の目的の一つは、光源からの光を反射させる第一リフレクタと意匠用の第二リフレクタとを備えた見栄えのよい車両用灯具を提供することにある。
【課題を解決するための手段】
【0006】
本発明の一態様に係る車両用灯具は、光源と、前記光源からの光を外方に反射させる第一反射面を有する第一リフレクタと、前記外方に臨む第二反射面を有する第二リフレクタと、前記第一リフレクタ及び前記第二リフレクタを支持しているリアハウジングと、前記光源と前記第一リフレクタと前記第二リフレクタとを収容するように前記リアハウジングの前面部を覆う透光性のカバーであるフロントハウジングとを備える。前記第一リフレクタは、前記第一リフレクタの表裏面を貫通し、前記光源からの光を前記第一反射面に向けて通過させる第一孔を備える。前記第二リフレクタは、前記第二リフレクタの表裏面を貫通し、前記第二リフレクタの裏面に臨む周辺部材を前記第二反射面に映す第二孔を備える。前記第二反射面は、前記光源からの光を反射させない。前記車両用灯具は、前記第二孔を通過させて前記第二反射面に向けて光を発する光源を備えない。前記第二孔は、前記第二孔を通過させて前記リアハウジングから前記フロントハウジングまでの空気の流路を形成するように設けられている。
【発明の効果】
【0007】
本発明の車両用灯具では、意匠用の第二リフレクタに孔が設けられている。この孔を通して周辺部材が第二リフレクタの反射面に映り込むことで、第一リフレクタと第二リフレクタとの色味を合わせることができる。本発明の車両用灯具は、第一リフレクタと第二リフレクタとで色味が合うため、見栄えがよい。
【図面の簡単な説明】
【0008】
図1は、実施形態の車両用灯具の外観を示す概略斜視図である。
図2は、実施形態の車両用灯具に備わる第一リフレクタ及び第二リフレクタを示す概略斜視図である。
図3は、図1のIII-III断面図である。
図4は、図1のIV-IV断面図である。
【発明を実施するための形態】
【0009】
本発明の車両用灯具の具体例を、図面を参照して説明する。図中の同一符号は同一名称物を示す。各図面では、説明の便宜上、構成の一部を誇張又は簡略化して示す場合がある。図面における各部の寸法比も実際と異なる場合がある。図中、矢印FRは車両の前後方向の前側、矢印RRは車両の前後方向の後側、矢印RHは車両の左右方向の右側、矢印LHは車両の左右方向の左側、矢印UPは車両の高さ方向の上側、矢印LWRは、車両の高さ方向の下側を示す。
【0010】
車両用灯具は車両前方及び後方の各左右に設けられるが、本例の車両用灯具1は右側のヘッドライトを例として説明する。車両前方において、左側に設けられた車両用灯具は右側に設けられた車両用灯具1と対称である。
(【0011】以降は省略されています)
この特許をJ-PlatPat(特許庁公式サイト)で参照する
関連特許
ダイハツ工業株式会社
制御装置
1か月前
ダイハツ工業株式会社
発電装置
10日前
ダイハツ工業株式会社
溶接装置
1か月前
ダイハツ工業株式会社
塗布装置
1か月前
ダイハツ工業株式会社
移動支援装置
1か月前
ダイハツ工業株式会社
3Dプリンタ
1か月前
ダイハツ工業株式会社
車両制御装置
15日前
ダイハツ工業株式会社
剪断穴あけ装置
1か月前
ダイハツ工業株式会社
車両用制御装置
22日前
ダイハツ工業株式会社
電線温度推定装置
1か月前
ダイハツ工業株式会社
溶接電極の研磨装置
1か月前
ダイハツ工業株式会社
副燃焼室付きエンジン
1日前
ダイハツ工業株式会社
車両用外部充電ポート支持構造
1日前
ダイハツ工業株式会社
車両用外部充電ポート支持構造
1日前
ダイハツ工業株式会社
ハイブリッド車両駆動用ユニット
1か月前
ダイハツ工業株式会社
落雷予測システム及び落雷予測方法
25日前
ダイハツ工業株式会社
車両用灯具
1か月前
トヨタ自動車株式会社
車両、蓄電装置および温度調整装置
1か月前
個人
照明装置
22日前
個人
室外機器
5か月前
個人
照明システム
4か月前
個人
車載機器の通気構造
2か月前
個人
消火器設置表示装置
1か月前
株式会社遠藤照明
照明装置
2か月前
株式会社小糸製作所
車両用灯具
1か月前
デンカ株式会社
照明装置
5か月前
個人
LEDライト
4か月前
株式会社小糸製作所
車両用灯具
1か月前
能美防災株式会社
表示灯
2か月前
日亜化学工業株式会社
面状光源
2日前
デンカ株式会社
道路用照明
5か月前
フルトラム株式会社
光学機器
1か月前
株式会社小糸製作所
投光装置
2か月前
株式会社小糸製作所
投光装置
2か月前
アクア株式会社
冷蔵庫
3か月前
株式会社小糸製作所
誘導装置
2か月前
続きを見る
他の特許を見る