TOP
|
特許
|
意匠
|
商標
特許ウォッチ
Twitter
他の特許を見る
公開番号
2025163516
公報種別
公開特許公報(A)
公開日
2025-10-29
出願番号
2024066829
出願日
2024-04-17
発明の名称
車両、蓄電装置および温度調整装置
出願人
トヨタ自動車株式会社
,
スズキ株式会社
,
ダイハツ工業株式会社
代理人
弁理士法人深見特許事務所
主分類
H01M
10/6556 20140101AFI20251022BHJP(基本的電気素子)
要約
【課題】蓄電モジュールを備えた蓄電装置などに関して、蓄電モジュールを昇温または冷却の少なくとも一方を実施する際に、蓄電モジュールを良好に温度調整することができる車両、蓄電装置および温度調整装置を提供する。
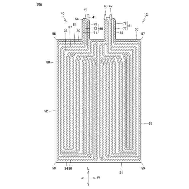
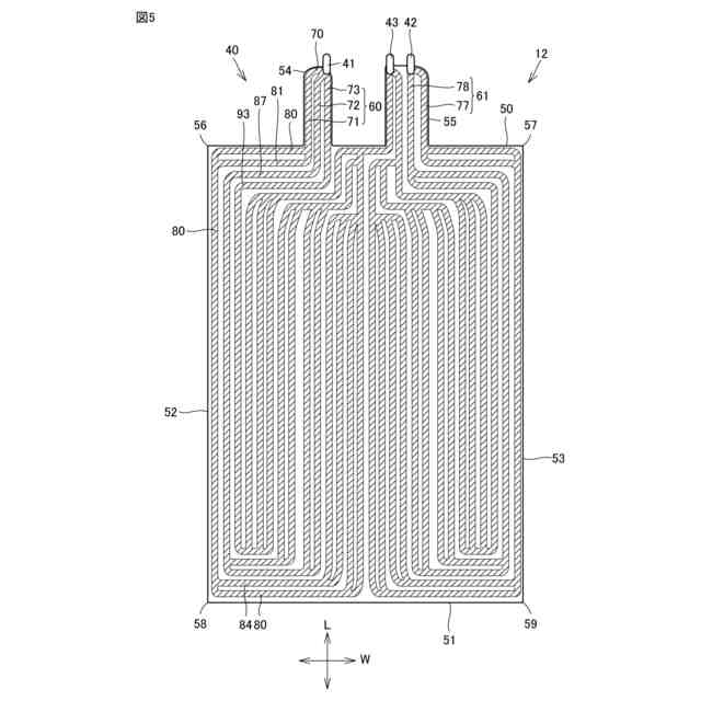
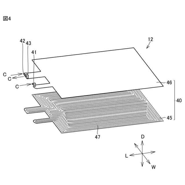
【解決手段】車両は、車両本体と、車両本体に搭載された蓄電装置とを備え、蓄電装置は、蓄電モジュールと、蓄電モジュールに設けられた温度調整装置12とを含み、温度調整装置12は、本体部40と、第1方向Lにおいて、本体部40の一方端に位置する第1端辺50と、第1方向Lにおいて、本体部40の他方端に位置する第2端辺と、第1端辺50側に設けられた第1流入部41、第2流入部42および流出部43と、を有し、本体部40には、第1流入部41に接続された第1流路管71が形成されており、第1流路管71は、第1流入部41から本体部40の外周縁部に沿って延びると共に、第2端辺に達するように延びるように形成された。
【選択図】図5
特許請求の範囲
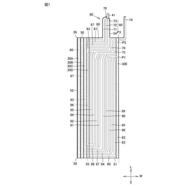
【請求項1】
車両本体と、
前記車両本体に搭載された蓄電装置とを備え、
前記蓄電装置は、蓄電モジュールと、前記蓄電モジュールに設けられた温度調整装置とを含み、
前記温度調整装置は、
本体部と、
第1方向において、前記本体部の一方端に位置する第1端辺と、
前記第1方向において、前記本体部の他方端に位置する第2端辺と、
前記第1端辺側に設けられた第1流入部、第2流入部および流出部と、を有し、
前記本体部には、前記第1流入部に接続された第1流路管が形成されており、
前記第1流路管は、前記第1流入部から前記本体部の外周縁部に沿って延びると共に、前記第2端辺に達するように延びるように形成された、車両。
続きを表示(約 1,500 文字)
【請求項2】
前記第1方向と交差する方向を第2方向とすると、前記第1流入部と前記第2流入部とは、前記第2方向に間隔をあけて配置されており、
前記第2方向において、前記流出部は、前記第1流入部と前記第2流入部との間に配置された、請求項1に記載の車両。
【請求項3】
前記本体部は、前記第2流入部に接続された第2流路管を含み、
前記第1端辺は、第1端部および第2端部を含み、
前記第2端辺は、第3端部および第4端部を含み、
前記本体部は、前記第2方向に間隔をあけて位置する第1側辺および第2側辺を含み、
前記第1側辺および前記第2側辺は、前記第1方向に延びており、
前記第1側辺は前記第1端辺の前記第1端部および前記第2端辺の前記第3端部を接続しており、
前記第2側辺は前記第1端辺の前記第2端部および前記第2端辺の前記第4端部を接続しており、
前記第1流路管は、前記第1端辺に沿って前記第1側辺に向けて延び、前記第1側辺に沿って前記第2端辺に向けて延び、前記第2端辺に沿って延びるように形成されており、
前記第2流路管は、前記第1端辺に沿って前記第2側辺に向けて延び、前記第2側辺に沿って前記第2端辺に向けて延び、前記第2端辺に沿って延びるように形成された、請求項2に記載の車両。
【請求項4】
前記第1流路管は、前記第2端辺の前記第3端部から前記第4端部に向けて延びるように形成されており、
前記第2流路管は、前記第2端辺の前記第4端部から前記第3端部に向けて延びるように形成されており、
前記第1流路管および前記第2流路管は、前記第2端辺の中央およびその周囲から前記第1端辺に向けて延びるように形成された、請求項3に記載の車両。
【請求項5】
前記第1流路管および前記第2流路管は、前記流出部に接続された、請求項4に記載の車両。
【請求項6】
前記蓄電モジュールは、前記第1方向に延びる蓄電セルを含み、
前記第1流路管は、少なくとも1つの冷却管を含み、
前記冷却管は、前記蓄電セルの下面に配置されると共に、前記第1方向に延びるように配置された、請求項1に記載の車両。
【請求項7】
蓄電モジュールと、
前記蓄電モジュールに設けられた温度調整装置と
を備え、
前記温度調整装置は、
本体部と、
第1方向において、前記本体部の一方端に位置する第1端辺と、
前記第1方向において、前記本体部の他方端に位置する第2端辺と、
前記第1端辺側に設けられた第1流入部、第2流入部および流出部と、を有し、
前記本体部には、前記第1流入部に接続された第1流路管が形成されており、
前記第1流路管は、前記第1流入部から前記本体部の外周縁部に沿って延びると共に、前記第2端辺に達するように延びるように形成された、蓄電装置。
【請求項8】
蓄電モジュールに設けられる温度調整装置であって、
本体部と、
第1方向において、前記本体部の一方端に位置する第1端辺と、
前記第1方向において、前記本体部の他方端に位置する第2端辺と、
前記第1端辺側に設けられた第1流入部、第2流入部および流出部と、を有し、
前記本体部には、前記第1流入部に接続された第1流路管が形成されており、
前記第1流路管は、前記第1流入部から前記本体部の外周縁部に沿って延びると共に、前記第2端辺に達するように延びるように形成された、温度調整装置。
発明の詳細な説明
【技術分野】
【0001】
本開示は、車両、蓄電装置および温度調整装置に関する。
続きを表示(約 1,200 文字)
【背景技術】
【0002】
従来から蓄電装置を備えた車両について各種提案されている。たとえば、特開2011-181224号公報に記載された車両は蓄電装置を備え、蓄電装置は、複数の電池セルと、媒体が流通する配管とが設けられている。
【0003】
複数の電池セルは、車両の方向に配列しており、各電池セルは車両幅方向に延びるように形成されている。
【0004】
配管は、車両の前後方向に延びる複数の前後部分と、前後部分の端部を接続する接続部分とを含む。複数の前後部分は、車両の幅方向に配列しており、各前後部分は、接続部分によって直列的に接続されている。そして、電池セルの底面には、配管の前後方向部分が複数配置されている。
【先行技術文献】
【特許文献】
【0005】
特開2011-181224号公報
【発明の概要】
【発明が解決しようとする課題】
【0006】
複数の蓄電セルを備えた蓄電装置において、蓄電装置の外周側に配置された蓄電セルは、外気温度の影響を受けやすい。
【0007】
そのため、たとえば、蓄電セルを昇温する際に、蓄電装置の外周に近い位置に配置された蓄電セルの熱が外部に放熱されやすい。また、蓄電セルを冷却する際においても、蓄電装置の外周に近い位置に配置された蓄電セルは、温度の高い外気によって暖められやすい。
【0008】
本開示は、上記のような課題に鑑みてなされたものであって、その目的は、蓄電モジュールを備えた蓄電装置などに関して、蓄電モジュールを昇温または冷却の少なくとも一方を実施する際に、蓄電モジュールを良好に温度調整することができる車両、蓄電装置および温度調整装置を提供することである。
【課題を解決するための手段】
【0009】
車両は、車両本体と、車両本体に搭載された蓄電装置とを備え、蓄電装置は、蓄電モジュールと、蓄電モジュールに設けられた温度調整装置とを含み、温度調整装置は、本体部と、第1方向において、本体部の一方端に位置する第1端辺と、第1方向において、本体部の他方端に位置する第2端辺と、第1端辺側に設けられた第1流入部、第2流入部および流出部と、を有し、本体部には、第1流入部に接続された第1流路管が形成されており、第1流路管は、第1流入部から本体部の外周縁部に沿って延びると共に、第2端辺に達するように延びるように形成された。
【0010】
上記第1方向と交差する方向を第2方向とすると、第1流入部と第2流入部とは、第2方向に間隔をあけて配置されており、第2方向において、流出部は、第1流入部と第2流入部との間に配置された。
(【0011】以降は省略されています)
この特許をJ-PlatPat(特許庁公式サイト)で参照する
関連特許
東ソー株式会社
絶縁電線
1か月前
APB株式会社
蓄電セル
1か月前
株式会社東芝
端子台
24日前
ローム株式会社
半導体装置
1か月前
マクセル株式会社
電源装置
24日前
日新イオン機器株式会社
イオン源
1か月前
株式会社GSユアサ
蓄電装置
17日前
三菱電機株式会社
回路遮断器
11日前
株式会社ホロン
冷陰極電子源
1か月前
株式会社GSユアサ
蓄電装置
3日前
株式会社GSユアサ
蓄電装置
25日前
株式会社GSユアサ
蓄電装置
25日前
富士電機株式会社
電磁接触器
3日前
トヨタ自動車株式会社
バッテリ
1か月前
日本特殊陶業株式会社
保持装置
16日前
日新イオン機器株式会社
基板処理装置
27日前
トヨタ自動車株式会社
冷却構造
1か月前
トヨタ自動車株式会社
蓄電装置
25日前
日本特殊陶業株式会社
保持装置
1か月前
北道電設株式会社
配電具カバー
1か月前
甲神電機株式会社
変流器及び零相変流器
18日前
住友電装株式会社
コネクタ
3日前
ヒロセ電機株式会社
電気コネクタ
3日前
株式会社トクヤマ
シリコンエッチング液
1か月前
日本無線株式会社
レーダアンテナ
18日前
株式会社トクヤマ
シリコンエッチング液
1か月前
トヨタ自動車株式会社
密閉型電池
26日前
日亜化学工業株式会社
半導体レーザ素子
27日前
トヨタ自動車株式会社
電池パック
1か月前
住友電装株式会社
コネクタ
1か月前
株式会社レゾナック
冷却器
11日前
株式会社デンソー
電子装置
27日前
ローム株式会社
半導体装置
1か月前
矢崎総業株式会社
コネクタ
3日前
トヨタ自動車株式会社
電池パック
1か月前
ローム株式会社
半導体モジュール
4日前
続きを見る
他の特許を見る