TOP
|
特許
|
意匠
|
商標
特許ウォッチ
Twitter
他の特許を見る
公開番号
2025165076
公報種別
公開特許公報(A)
公開日
2025-11-04
出願番号
2024068946
出願日
2024-04-22
発明の名称
落雷予測システム及び落雷予測方法
出願人
ダイハツ工業株式会社
代理人
個人
主分類
G01W
1/10 20060101AFI20251027BHJP(測定;試験)
要約
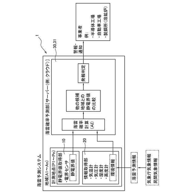
【課題】広域の発雷エリア(地域)における落雷予測精度を向上させることが可能な落雷予測システムを提供する。
【解決手段】落雷予測システム1は、複数の地域Anに配置された複数の計測地点Pnにおける大気の静電界値を取得する静電界値取得部10と、計測地点Pnを中心とした所定の範囲における環境情報を取得する情報取得部20と、落雷確率を予測する落雷確率予測部30とを有し、地域Anは、一の計測地点Pnを含む所定の範囲として設定されており、落雷確率予測部30は、静電界値と環境情報とに基づいて、地域An毎の落雷確率を予測すると共に、予測された落雷確率が所定の閾値以上の地域Anに対して通知を行うことを特徴とする。落雷確率予測部30は、静電界値と環境情報との所定期間における変化量を学習データとして生成した予測アルゴリズムに基づいて、落雷確率を予測する。
【選択図】図1
特許請求の範囲
【請求項1】
複数の地域に配置された複数の計測地点における大気の静電界値を取得する静電界値取得部と、
前記計測地点を中心とした所定の範囲における環境情報を取得する情報取得部と、
落雷確率を予測する落雷確率予測部と、
を有し、
前記地域は、一の前記計測地点を含む所定の範囲として設定されており、
前記落雷確率予測部は、前記静電界値と前記環境情報とに基づいて、前記地域毎の前記落雷確率を予測すると共に、予測された前記落雷確率が所定の閾値以上の前記地域に対して通知を行うこと、を特徴とする落雷予測システム。
続きを表示(約 270 文字)
【請求項2】
前記落雷確率予測部は、前記静電界値と前記環境情報との所定期間における変化量を学習データとして生成した予測アルゴリズムに基づいて、前記落雷確率を予測すること、を特徴とする請求項1に記載の落雷予測システム。
【請求項3】
前記予測された落雷確率が所定の閾値以上である前記地域を候補地域とし、かつ、前記候補地域における前記静電界値が、前記候補地域に隣接する他の候補地域の前記静電界値よりも高いことを条件として、前記候補地域に対して通知を行うこと、を特徴とする請求項1又は2に記載の落雷予測システム。
発明の詳細な説明
【技術分野】
【0001】
本発明は、落雷予測システム及び落雷予測方法に関する。さらに詳しくは、大気中の静電界値から落雷可能性のある地域を予測する落雷予測システム及び落雷予測方法に関する。
続きを表示(約 1,800 文字)
【背景技術】
【0002】
従来、落雷予測は、落雷が発生した履歴や気象情報などから雷の動きを予想して警報を発することで行われているが、かかる場合は、1回目の落雷が予測できない問題があった。そこで、所定の設置場所に設置された落雷警報装置を用いて、静電界値及び雷活動度(気象情報データ)を取得し、取得した静電界値及び雷活動度に基づいて落雷可能性を予測し、警報することが行われている(例えば、特許文献1)。
【先行技術文献】
【特許文献】
【0003】
特開2022-018254号公報
【発明の概要】
【発明が解決しようとする課題】
【0004】
ところで、特許文献1に係る従来技術は、単独の場所における静電界値の測定結果及び雷活動度に基づいて、当該場所における落雷予測を行うものとされている。しかしながら、特許文献1に係る従来技術では、落雷予測の範囲が限定され、落雷予測の精度が低下する問題がある。また、特許文献1に係る従来技術は、落雷が発生した履歴と、気象情報とから雷の動きを予測して警報等を発報するものとされている。しかしながら、特許文献1に係る従来技術は、単独の場所での静電界値及び雷活動度に基づいて落雷予測の判断が行われるため、予測の空振りや見逃しが発生しやすい問題がある。
【0005】
そこで、本発明は、広域の発雷エリア(地域)における落雷予測精度を向上させることが可能な落雷予測システム及び落雷予測方法を提供することを目的とする。
【課題を解決するための手段】
【0006】
(1)上述した課題を解決すべく提供される本発明の落雷予測システムは、複数の地域に配置された複数の計測地点における大気の静電界値を取得する静電界値取得部と、前記計測地点を中心とした所定の範囲における環境情報を取得する情報取得部と、落雷確率を予測する落雷確率予測部と、を有し、前記地域は、一の前記計測地点を含む所定の範囲として設定されており、前記落雷確率予測部は、前記静電界値と前記環境情報とに基づいて、前記地域毎の前記落雷確率を予測すると共に、予測された前記落雷確率が所定の閾値以上の前記地域に対して通知を行うこと、を特徴とするものである。
【0007】
本発明の落雷予測システムは、複数の地域に配置された複数の計測地点における大気の静電界値と、計測地点を中心とする所定範囲の環境情報とに基づいて、落雷確率を予測できるので、広範な地域の気象情報に基づいた落雷予測を行うことができる。そのため、本発明の落雷予測システムは、精度の良い落雷予測を行うことができる。ここで、環境情報は、各計測地点や各地域における気象に関する情報や、地形情報、物理情報(高度、気圧、湿度、気温)など環境に関する各種の情報を含めることができる。
【0008】
また、本発明の落雷予測システムは、複数の地域毎に落雷確率を予測すると共に、予測された落雷確率が所定の閾値以上の地域に対して通知が行われるので、必要以上に通知が行われることがない。そのため、本発明の落雷予測システムは、通知が煩雑となったり、落雷予測が空振りに終わったりすることを抑制できる。ここで、通知は、例えば、警報発報によって行うものや、電子メール等で通知されるものなど、各種の通知手段が利用できる。また、通知の対象は、各種の事業者、落雷の影響が大きい施設等(例えば、半導体工場、自動車工場、溶鉱炉を保有する製鋼所、学校等)が例示できる。
【0009】
(2)上述した本発明の落雷予測システムにおいて、前記落雷確率予測部は、前記静電界値と前記環境情報との所定期間における変化量を学習データとして生成した予測アルゴリズムに基づいて、前記落雷確率を予測すること、を特徴とするとよい。
【0010】
本発明の落雷予測システムは、静電界値と環境情報とによる学習データとして生成した予測アルゴリズムに基づいて落雷確率の予測(AI予測とも称する)が行えるので、各地域の環境特性等に応じた適切な落雷確率予測を行うことができる。これにより、本発明の落雷予測システムは、落雷予測の空振りや見逃しを抑制し、精度の良い落雷予測を提供できる。
(【0011】以降は省略されています)
この特許をJ-PlatPat(特許庁公式サイト)で参照する
関連特許
ダイハツ工業株式会社
塗布装置
1か月前
ダイハツ工業株式会社
発電装置
10日前
ダイハツ工業株式会社
制御装置
1か月前
ダイハツ工業株式会社
溶接装置
1か月前
ダイハツ工業株式会社
人流取得装置
1か月前
ダイハツ工業株式会社
移動支援装置
1か月前
ダイハツ工業株式会社
車両制御装置
15日前
ダイハツ工業株式会社
3Dプリンタ
1か月前
ダイハツ工業株式会社
剪断穴あけ装置
1か月前
ダイハツ工業株式会社
車両用制御装置
22日前
ダイハツ工業株式会社
電線温度推定装置
1か月前
ダイハツ工業株式会社
溶接電極の研磨装置
1か月前
ダイハツ工業株式会社
副燃焼室付きエンジン
1日前
ダイハツ工業株式会社
樹脂製品及びその製造方法
1か月前
ダイハツ工業株式会社
車両用外部充電ポート支持構造
1日前
ダイハツ工業株式会社
車両用外部充電ポート支持構造
1日前
ダイハツ工業株式会社
ハイブリッド車両駆動用ユニット
1か月前
ダイハツ工業株式会社
落雷予測システム及び落雷予測方法
25日前
ダイハツ工業株式会社
車両用灯具
1か月前
トヨタ自動車株式会社
車両、蓄電装置および温度調整装置
1か月前
日本精機株式会社
検出装置
24日前
個人
採尿及び採便具
1か月前
個人
高精度同時多点測定装置
1か月前
個人
アクセサリー型テスター
1か月前
個人
計量機能付き容器
19日前
甲神電機株式会社
電流検出装置
24日前
株式会社カクマル
境界杭
9日前
株式会社ミツトヨ
測定器
1か月前
日本精機株式会社
発光表示装置
2日前
株式会社トプコン
測量装置
1日前
アズビル株式会社
電磁流量計
1か月前
ダイキン工業株式会社
監視装置
1か月前
大成建設株式会社
風洞実験装置
19日前
大和製衡株式会社
組合せ計量装置
1か月前
ローム株式会社
半導体装置
1か月前
日本特殊陶業株式会社
ガスセンサ
1日前
続きを見る
他の特許を見る