TOP
|
特許
|
意匠
|
商標
特許ウォッチ
Twitter
他の特許を見る
公開番号
2025174658
公報種別
公開特許公報(A)
公開日
2025-11-28
出願番号
2024081148
出願日
2024-05-17
発明の名称
車両用外部充電ポート支持構造
出願人
ダイハツ工業株式会社
代理人
弁理士法人太陽国際特許事務所
主分類
B60L
53/14 20190101AFI20251120BHJP(車両一般)
要約
【課題】ポートユニットを支持するポート用ブラケットの質量が大きくなるのを抑制しつつ、ポート用ブラケットの剛性を高くすることが可能な車両用外部充電ポート支持構造を提供する。
【解決手段】車両に設けられ、ラジエータ30の上部を支持し且つ車体骨格部材に支持されたラジエータサポートメンバ24と、車両に設けられ、ラジエータサポートメンバより下方に位置し且つ車体骨格部材に支持されたフレームメンバ14と、外部充電用のポートユニット50、55を支持し、上部がラジエータサポートメンバの第1接続部に接続され且つ下部がフレームメンバの第2接続部17に接続されたポート用ブラケット35と、を備え、車両側方から見たときに第2接続部が第1接続部の直下に位置する。
【選択図】図2
特許請求の範囲
【請求項1】
車両に設けられ、ラジエータの上部を支持し且つ車体骨格部材に支持されたラジエータサポートメンバと、
前記車両に設けられ、前記ラジエータサポートメンバより下方に位置し且つ前記車体骨格部材に支持されたフレームメンバと、
外部充電用のポートユニットを支持し、上部が前記ラジエータサポートメンバの第1接続部に接続され且つ下部が前記フレームメンバの第2接続部に接続されたポート用ブラケットと、
を備え、
車両側方から見たときに前記第2接続部が前記第1接続部の直下に位置する車両用外部充電ポート支持構造。
続きを表示(約 380 文字)
【請求項2】
前記車両のダッシュパネルに固定されたブラケットに前記ラジエータサポートメンバの被固定部が固定され、
前記ポートユニットの前記上部がボルトを利用して前記第1接続部に固定され、
前記第1接続部から前記被固定部までの距離が、前記第1接続部から前記ラジエータサポートメンバの前記ラジエータの前記上部を支持する部位であるラジエータ支持部までの距離より短い請求項1に記載の車両用外部充電ポート支持構造。
【請求項3】
前記第1接続部に係合孔が形成され、
前記係合孔と係合することにより、前記ポート用ブラケットが前記ラジエータサポートメンバに対して車両前後方向に所定距離以上相対移動することを規制する係合突起が前記ポート用ブラケットに設けられた請求項1又は請求項2に記載の車両用外部充電ポート支持構造。
発明の詳細な説明
【技術分野】
【0001】
本発明は、車両用外部充電ポート支持構造に関する。
続きを表示(約 1,700 文字)
【背景技術】
【0002】
下記特許文献1に開示された電気自動車の車体の前部には開閉可能な充電リッドが設けられている。充電リッドが開放されると、車体の前部に設けられた充電ポート(ポートユニット)が露出する。この充電ポートは、ボディ構成部材に固定されたポート用ブラケットに支持されている。充電ケーブルの端部に設けられたコネクタを充電ポートに接続することにより、車両の外部に位置する電源の電力を充電ケーブル及び充電ポートを介して、電気自動車に設けられたバッテリに供給可能になる。
【先行技術文献】
【特許文献】
【0003】
特開2013-189075号公報
【発明の概要】
【発明が解決しようとする課題】
【0004】
ポート用ブラケットの剛性が低い場合は、充電ケーブルのコネクタの充電ポートとの脱着作業を円滑に行うのが難しくなる。そのためポート用ブラケットには高い剛性が要求される。上記特許文献1のポート用ブラケットの剛性を大きくするためには、例えばポート用ブラケット自体を大型化する必要がある。しかしポート用ブラケットが大型化すると、ポート用ブラケットの質量が大きくなり、電気自動車の車重が大きくなってしまう。
【0005】
本発明は上記事実を考慮し、ポートユニットを支持するポート用ブラケットの質量が大きくなるのを抑制しつつ、ポート用ブラケットの剛性を高くすることが可能な車両用外部充電ポート支持構造を得ることを目的とする。
【課題を解決するための手段】
【0006】
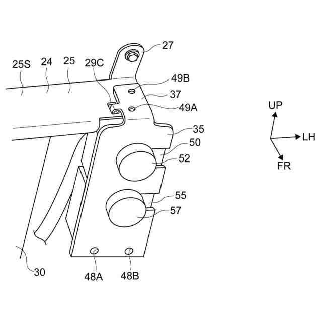
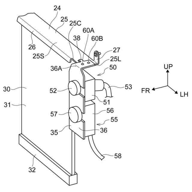
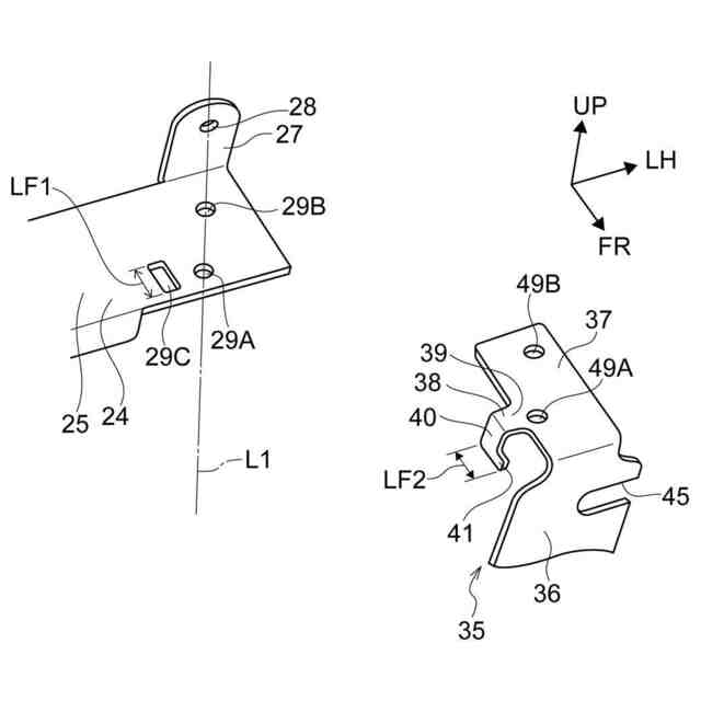
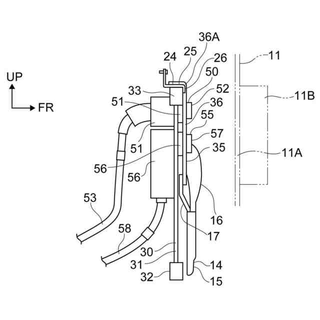
請求項1の車両用外部充電ポート支持構造は、車両に設けられ、ラジエータの上部を支持し且つ車体骨格部材に支持されたラジエータサポートメンバと、前記車両に設けられ、前記ラジエータサポートメンバより下方に位置し且つ前記車体骨格部材に支持されたフレームメンバと、外部充電用のポートユニットを支持し、上部が前記ラジエータサポートメンバの第1接続部に接続され且つ下部が前記フレームメンバの第2接続部に接続されたポート用ブラケットと、を備え、車両側方から見たときに前記第2接続部が前記第1接続部の直下に位置する。
【0007】
請求項1の車両用外部充電ポート支持構造では、外部充電用のポートユニットを支持するポート用ブラケットの上部が、ラジエータの上部を支持し且つ車体骨格部材に支持されたラジエータサポートメンバの第1接続部に接続され、ポート用ブラケットの下部が、ラジエータサポートメンバより下方に位置し且つ車体骨格部材に支持されたフレームメンバの第2接続部に接続される。このようにポート用ブラケットが、車体骨格部材に支持されたラジエータサポートメンバと、車体骨格部材に支持されたフレームメンバと、によって両持ち支持される。そのためポート用ブラケットの質量が小さい場合であっても、ポート用ブラケットの剛性を高くすることが可能である。
【0008】
さらに車両側方から見たときに第2接続部が第1接続部の直下に位置する。即ち、車両側方から見たときにポート用ブラケットが車両上下方向と略平行になる。そのため車両側方から見たときにポート用ブラケットが水平方向及び車両上下方向に対して傾斜する場合と比べてポート用ブラケットの全長が短くなるので、ポート用ブラケットの剛性が高い。
【0009】
さらに車両用外部充電ポート支持構造の前後寸法が小さいので、請求項1の車両用外部充電ポート支持構造は、車両の前後寸法が大きくなるのを抑制できる。
【0010】
請求項2の車両用外部充電ポート支持構造は、請求項1において、前記車両のダッシュパネルに固定されたブラケットに前記ラジエータサポートメンバの被固定部が固定され、前記ポートユニットの前記上部がボルトを利用して前記第1接続部に固定され、前記第1接続部から前記被固定部までの距離が、前記第1接続部から前記ラジエータサポートメンバの前記ラジエータの前記上部を支持する部位であるラジエータ支持部までの距離より短い。
(【0011】以降は省略されています)
この特許をJ-PlatPat(特許庁公式サイト)で参照する
関連特許
ダイハツ工業株式会社
副燃焼室付きエンジン
1日前
ダイハツ工業株式会社
車両用外部充電ポート支持構造
1日前
ダイハツ工業株式会社
車両用外部充電ポート支持構造
1日前
個人
タイヤレバー
4か月前
個人
前輪キャスター
3か月前
個人
上部一体型自動車
1か月前
個人
空間形成装置
1か月前
個人
ルーフ付きトライク
3か月前
個人
タイヤ脱落防止構造
3か月前
個人
マスタシリンダ
2か月前
日本精機株式会社
照明装置
25日前
日本精機株式会社
表示装置
3か月前
日本精機株式会社
表示装置
4か月前
日本精機株式会社
表示装置
4か月前
日本精機株式会社
表示装置
4か月前
個人
車両通過構造物
4か月前
個人
常設収納型サンバイザー
1か月前
個人
回転窓ワイパー装置
1か月前
日本精機株式会社
車載表示装置
1か月前
個人
音声ガイド、音声サービス
4か月前
日本精機株式会社
車載表示装置
1か月前
日本精機株式会社
車載表示装置
2か月前
株式会社豊田自動織機
産業車両
25日前
株式会社豊田自動織機
産業車両
3か月前
日本精機株式会社
画像投映装置
1か月前
日本精機株式会社
車載表示装置
1か月前
日本精機株式会社
車室演出装置
3か月前
株式会社ニフコ
照明装置
3か月前
株式会社ニフコ
収納装置
2か月前
日本無線株式会社
取付金具
4か月前
極東開発工業株式会社
車両
4か月前
日本精機株式会社
車両用表示装置
3か月前
株式会社SUBARU
車両
1か月前
日本精機株式会社
車両用投射装置
1か月前
日本精機株式会社
車両用報知装置
1か月前
日本精機株式会社
車両用投影装置
2か月前
続きを見る
他の特許を見る