TOP
|
特許
|
意匠
|
商標
特許ウォッチ
Twitter
他の特許を見る
10個以上の画像は省略されています。
公開番号
2025159994
公報種別
公開特許公報(A)
公開日
2025-10-22
出願番号
2024062926
出願日
2024-04-09
発明の名称
ハイブリッド車両駆動用ユニット
出願人
ダイハツ工業株式会社
代理人
弁理士法人太陽国際特許事務所
主分類
B60K
6/405 20071001AFI20251015BHJP(車両一般)
要約
【課題】ハイブリッド車両駆動用ユニット固有の共振周波数より低い周波数で振動する装置に起因してハイブリッド車両駆動用ユニットに大きな上下方向の曲げ振動が発生するおそれを、小型の部材を利用して低減できるハイブリッド車両駆動用ユニットを提供する。
【解決手段】第2ケース50又は第2接続部37と、シリンダブロック20、シリンダヘッド25又は第1接続部32と、に接続される金属製のスチフナ65を備える。
【選択図】図1
特許請求の範囲
【請求項1】
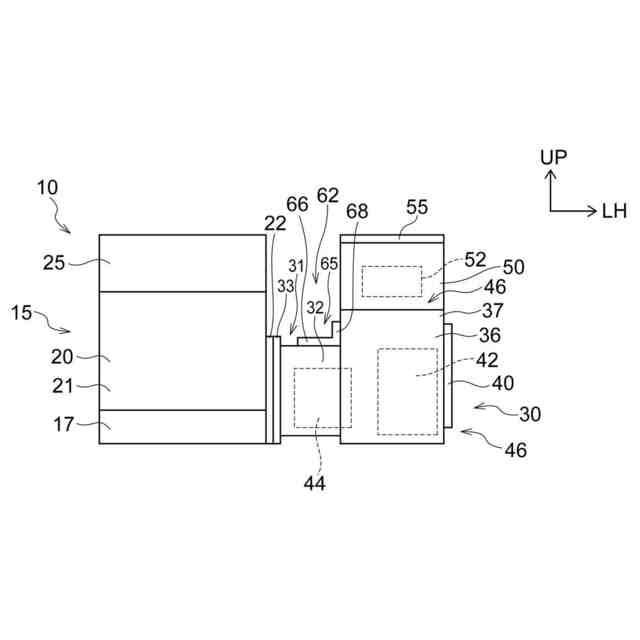
ギヤ機構及び前記ギヤ機構に駆動力を付与可能な電動モータを収納する第1ケース、前記ギヤ機構に駆動力を付与可能なエンジン、及び前記第1ケースより上方に位置するように前記第1ケースに接続されるとともに前記エンジンの一部と水平方向に対向し且つ前記電動モータを制御可能な制御装置を収納する第2ケース、を備えるハイブリッド車両駆動用ユニットであって、
前記第1ケースが、前記エンジンの前記一部より下方に位置する部位に接続される第1接続部と、前記第1接続部より上方に位置すると共に前記エンジンと水平方向に対向し前記第2ケースに接続される第2接続部と、を有し、
前記第2ケース又は前記第2接続部と、前記エンジン又は前記第1接続部と、に接続される金属製のスチフナを備えるハイブリッド車両駆動用ユニット。
続きを表示(約 350 文字)
【請求項2】
前記エンジンに金属製の第1フランジが設けられ、
金属製である前記第1ケースの前記第1接続部に、前記第1フランジに固定される第2フランジが設けられ、
前記スチフナが前記第1接続部に固定された請求項1に記載のハイブリッド車両駆動用ユニット。
【請求項3】
中空体である前記第1接続部の上面に貫通孔が形成され、
前記スチフナに、前記貫通孔の直上に位置する貫通孔が形成された請求項2に記載のハイブリッド車両駆動用ユニット。
【請求項4】
前記スチフナが、
前記第1接続部に接続される第1部位と、
前記第2接続部に接続される第2部位と、
を備える請求項2又は請求項3に記載のハイブリッド車両駆動用ユニット。
発明の詳細な説明
【技術分野】
【0001】
本発明は、ハイブリッド車両駆動用ユニットに関する。
続きを表示(約 2,000 文字)
【背景技術】
【0002】
エンジンと、電動モータと、エンジン及び電動モータから駆動力を受けて動作するギヤ機構と、電動モータを制御するPCU(Power Control Unit:パワーコントロールユニット)と、を備えるハイブリッド車両駆動用ユニットが知られている。
【先行技術文献】
【特許文献】
【0003】
特開平9-195786号公報
【発明の概要】
【発明が解決しようとする課題】
【0004】
ハイブリッド車両駆動用ユニットの上下方向の曲げ振動の共振周波数が、ハイブリッド車両駆動用ユニットの構成部品において発生する振動と一致すると、ハイブリッド車両駆動用ユニットに大きな上下方向の曲げ振動が発生するおそれがある。
【0005】
本発明は上記事実を考慮し、ハイブリッド車両駆動用ユニット固有の共振周波数より低い周波数で振動する装置に起因してハイブリッド車両駆動用ユニットに大きな上下方向の曲げ振動が発生するおそれを、小型の部材を利用して低減できるハイブリッド車両駆動用ユニットを得ることを目的とする。
【課題を解決するための手段】
【0006】
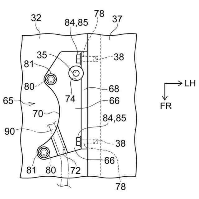
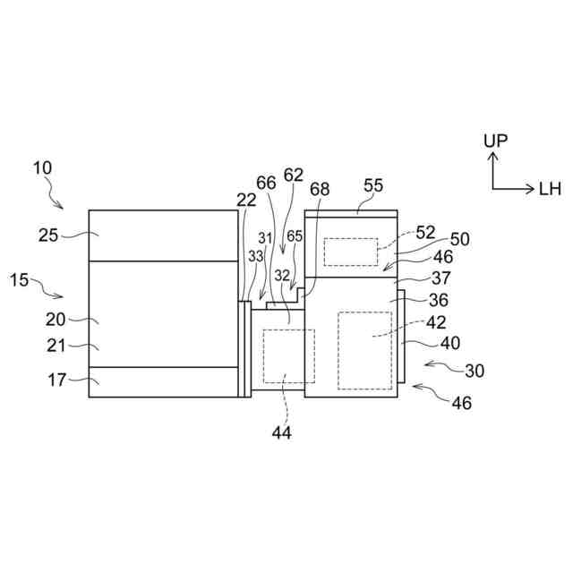
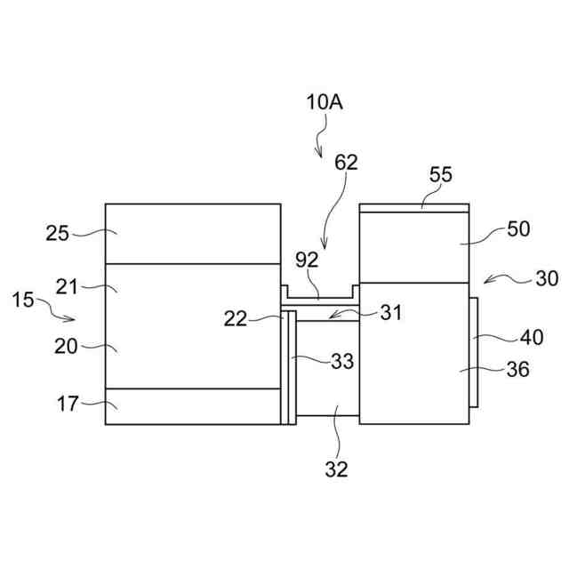
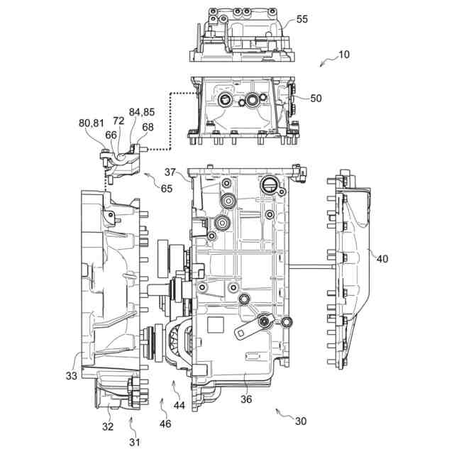
請求項1のハイブリッド車両駆動用ユニットは、ギヤ機構及び前記ギヤ機構に駆動力を付与可能な電動モータを収納する第1ケース、前記ギヤ機構に駆動力を付与可能なエンジン、及び前記第1ケースより上方に位置するように前記第1ケースに接続されるとともに前記エンジンの一部と水平方向に対向し且つ前記電動モータを制御可能な制御装置を収納する第2ケース、を備えるハイブリッド車両駆動用ユニットであって、前記第1ケースが、前記エンジンの前記一部より下方に位置する部位に接続される第1接続部と、前記第1接続部より上方に位置すると共に前記エンジンと水平方向に対向し前記第2ケースに接続される第2接続部と、を有し、前記第2ケース又は前記第2接続部と、前記エンジン又は前記第1接続部と、に接続される金属製のスチフナを備える。
【0007】
明細書及び特許請求の範囲において2つの部材(部位)どうしが接続(固定)されるとは、2つの部材(部位)同士が直接接続(固定)されること、及び、両者の間に別の部材を介在させることにより2つの部材(部位)同士が間接的に接続(固定)されること、の両方の意味を含む。そのため、例えば第1ケースの第1接続部が、第1接続部及びエンジンとは別の部材を介してエンジンの下部に接続されるものも請求項1に含まれる。
【0008】
請求項1のハイブリッド車両駆動用ユニットは、ギヤ機構及びギヤ機構に駆動力を付与可能な電動モータを収納する第1ケース、ギヤ機構に駆動力を付与可能なエンジン、及び第1ケースより上方に位置するように第1ケースに接続されるとともにエンジンの一部と水平方向に対向し且つ電動モータを制御可能な制御装置を収納する第2ケース、を備える。第1ケースは、エンジンの前記一部より下方に位置する部位に接続される第1接続部と、第1接続部より上方に位置すると共にエンジンと水平方向に対向し第2ケースに接続される第2接続部と、を備える。そのため、例えば電動モータ又はエンジンが動作すると、制御装置を収納する第2ケースが振動し、第2ケースの振動に起因して第1ケースの第2接続部が振動する。さらに第2接続部の振動に起因して、ハイブリッド車両駆動用ユニットに上下方向の曲げ振動が発生する。
【0009】
しかし請求項1のハイブリッド車両駆動用ユニットは、第2ケース又は第2接続部と、エンジン又は第1接続部と、に接続される金属製のスチフナを備える。この場合、スチフナが第2ケース又は第2接続部と、エンジン又は第1接続部と、に接続されることにより、接続されない場合と比べてハイブリッド車両駆動用ユニットの剛性が高くなる。即ち、スチフナが第2ケース又は第2接続部と、エンジン又は第1接続部と、に接続されることにより、接続されない場合と比べてハイブリッド車両駆動用ユニットの上下方向の曲げ振動の共振周波数が高くなる。そのため請求項1のハイブリッド車両駆動用ユニットは、ハイブリッド車両駆動用ユニット固有の共振周波数より低い周波数で振動する装置に起因してハイブリッド車両駆動用ユニットに大きな上下方向の曲げ振動が発生するおそれを、スチフナを利用して低減できる。
【0010】
さらにスチフナは、エンジンの上記一部、第2ケース、第1接続部及び第2接続部によって囲まれた空間に設けられる。そのためスチフナは大型になり難い。即ち、請求項1のハイブリッド車両駆動用ユニットのスチフナは小型の部材により構成可能である。
(【0011】以降は省略されています)
この特許をJ-PlatPat(特許庁公式サイト)で参照する
関連特許
ダイハツ工業株式会社
溶接装置
1か月前
ダイハツ工業株式会社
発電装置
18日前
ダイハツ工業株式会社
車両制御装置
23日前
ダイハツ工業株式会社
車両用制御装置
1か月前
ダイハツ工業株式会社
車体の下部後方構造
2日前
ダイハツ工業株式会社
ロボット制御システム
2日前
ダイハツ工業株式会社
副燃焼室付きエンジン
9日前
ダイハツ工業株式会社
車両用外部充電ポート支持構造
9日前
ダイハツ工業株式会社
車両用外部充電ポート支持構造
9日前
ダイハツ工業株式会社
落雷予測システム及び落雷予測方法
1か月前
ダイハツ工業株式会社
車両用表示装置
2日前
個人
タイヤレバー
4か月前
個人
前輪キャスター
3か月前
個人
上部一体型自動車
2か月前
個人
ルーフ付きトライク
4か月前
個人
タイヤ脱落防止構造
3か月前
個人
空間形成装置
1か月前
日本精機株式会社
表示装置
4か月前
日本精機株式会社
表示装置
4か月前
日本精機株式会社
表示装置
4か月前
個人
車両通過構造物
4か月前
日本精機株式会社
照明装置
1か月前
日本精機株式会社
表示装置
3か月前
個人
マスタシリンダ
2か月前
個人
常設収納型サンバイザー
1か月前
個人
乗合路線バスの客室装置
4か月前
日本精機株式会社
車載表示装置
2か月前
株式会社豊田自動織機
産業車両
4か月前
個人
音声ガイド、音声サービス
4か月前
日本精機株式会社
車載表示装置
1か月前
個人
回転窓ワイパー装置
1か月前
日本精機株式会社
車載表示装置
1か月前
日本精機株式会社
車室演出装置
3か月前
株式会社ニフコ
収納装置
2か月前
日本精機株式会社
車載表示装置
1か月前
個人
車載小物入れ兼雨傘収納具
5か月前
続きを見る
他の特許を見る