TOP
|
特許
|
意匠
|
商標
特許ウォッチ
Twitter
他の特許を見る
公開番号
2025150750
公報種別
公開特許公報(A)
公開日
2025-10-09
出願番号
2024051801
出願日
2024-03-27
発明の名称
自動搬送装置及び自動搬送方法
出願人
ダイハツ工業株式会社
代理人
個人
,
個人
,
個人
主分類
B60D
1/50 20060101AFI20251002BHJP(車両一般)
要約
【課題】連結軸を介して台車を自動搬送車に連結した形態で搬送を行う場合に、作業効率を落とすことなく配線のねじれを解消可能とする。
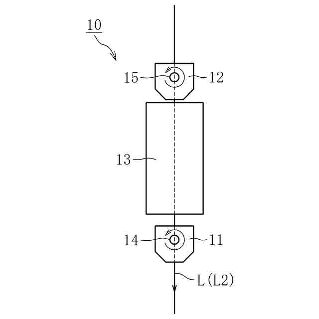
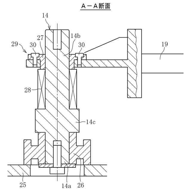
【解決手段】この自動搬送装置10は、少なくとも一台の自動搬送車11,12と、自動搬送車11,12に連結される台車13と、鉛直方向に延び自動搬送車11,12と台車13とを連結する連結軸14,15と、自動搬送車11,12を制御可能な制御部16,17とを備える。自動搬送車11,12は、台車13に対して連結軸14,15まわりに旋回可能に構成され、連結軸14,15には、台車13側からの鉛直荷重を受ける弾性部材28が設けられると共に、弾性部材28の鉛直方向の圧縮量を調整可能な圧縮量調整手段29が設けられ、自動搬送車11,12の走行停止時、台車13の停止状態を維持しつつ自動搬送車11,12が連結軸14,15まわりに旋回可能なように弾性部材28の圧縮量が調整されている。
【選択図】図2
特許請求の範囲
【請求項1】
所定の経路に沿って走行可能な少なくとも一台の自動搬送車と、
前記自動搬送車に連結される台車と、
鉛直方向に延び前記自動搬送車と前記台車とを連結する連結軸と、
前記自動搬送車を制御可能な制御部とを備え、前記自動搬送車から前記台車に跨って配線がなされている自動搬送装置であって、
前記自動搬送車は、前記台車に対して前記連結軸まわりに旋回可能に構成され、
前記連結軸には、前記台車側からの鉛直荷重を受ける弾性部材が設けられると共に、前記弾性部材の鉛直方向の圧縮量を調整可能な圧縮量調整手段が設けられ、
前記自動搬送車の走行停止時、前記台車の停止状態を維持しつつ前記自動搬送車が前記連結軸まわりに旋回可能なように前記弾性部材の圧縮量が調整されている、自動搬送装置。
続きを表示(約 740 文字)
【請求項2】
前記自動搬送車の前記台車に対する前記連結軸まわりの位相を取得可能な位相取得部をさらに備え、
前記制御部は、前記自動搬送車の走行停止時、前記位相取得部で取得した位相の値に基づいて、前記自動搬送車の前記連結軸まわりの旋回を制御する、請求項1に記載の自動搬送装置。
【請求項3】
前記制御部は、前記配線のねじれがない場合における前記位相を零とした場合、前記自動搬送車の走行停止時における前記位相が零となるように、前記自動搬送車の旋回量を制御する、請求項2に記載の自動搬送装置。
【請求項4】
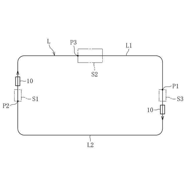
前記台車の前方側と後方側とに前記連結軸を介して各一台の前記自動搬送車が連結され、これら二台の自動搬送車の協働により前記台車上の搭載物を搬送可能な自動搬送装置であって、
前記制御部は、平面視した状態で同じ向きにかつ同じタイミングで前記二台の自動搬送車を前記連結軸まわりに旋回するよう制御する、請求項1に記載の自動搬送装置。
【請求項5】
鉛直方向に延びる連結軸を介して台車が連結された少なくとも一つの自動搬送車を所定の経路に沿って走行させることで前記台車上の搭載物を搬送可能とする自動搬送方法であって、
前記連結軸に、前記台車側からの鉛直荷重を受ける弾性部材が設けられると共に、前記弾性部材の鉛直方向の圧縮量を調整可能な圧縮量調整手段が設けられ、
前記自動搬送車の走行停止時、前記圧縮量調整手段で前記弾性部材の圧縮量を調整することで前記台車の停止状態を維持しつつ前記自動搬送車を前記連結軸まわりに旋回させて、前記自動搬送車から前記台車に跨る配線に生じたねじれを解消する、自動搬送方法。
発明の詳細な説明
【技術分野】
【0001】
本発明は、自動搬送装置及び自動搬送方法に関する。
続きを表示(約 1,400 文字)
【背景技術】
【0002】
工場などの生産現場においては、省力化による生産性の向上を目的として、自動搬送車(AGV、無人搬送車とも称される。)による部品、中間品、又は完成品の搬送が行われている。
【0003】
また、上述した自動搬送を行うに際しては、1台の自動搬送車で部品を搭載した台車を牽引搬送する方式(特許文献1を参照)や、2台の自動搬送車で搬送対象を搬送する方式が知られている(特許文献2を参照)。
【0004】
この種の自動搬送装置において、台車の側に電池や制御装置などが設けられており、これら電池や制御装置と自動搬送車の駆動部(モータなど)とハーネスを介して電気的に接続されている。そのため、例えば台車の向き(姿勢)を変えようとして自動搬送車に旋回動作を繰り返し行わせることで、ハーネスがねじれ、場合によっては、断線するおそれが生じる。
【0005】
ここで、特許文献3には、AGV本体と駆動部都の角度差に基づいて、ハーネスに所定量以上のねじれが生じているか否かを判定し、ハーネスに所定量以上のねじれが生じていると判定した場合にAGVの経路上に往復移動可能な線分を設けて、当該線分上を往復運動させることで、上記ねじれを解消する方法が提案されている。
【先行技術文献】
【特許文献】
【0006】
特許第4877520号公報
特許第6151159号公報
特開2015-199370号公報
【発明の概要】
【発明が解決しようとする課題】
【0007】
しかしながら、上述した方法だと、配線のねじれを解消するために自動搬送車を経路上に設けた所定の線分上を往復運動させる必要がある。このような動作は台車上の搭載物を所定の位置まで搬送する本来の動作とかけ離れたものであり、無駄な動作となっていた。また、この無駄な動作が生じることにより作業効率の低下を招いていた。
【0008】
上述した問題は二台の自動搬送車を連結した搬送方式をとる場合に限ったことではなく、例えば一台又は三台以上の自動搬送車を連結した搬送方式をとる場合にも同様に起こり得る。
【0009】
以上の事情に鑑み、本明細書では、連結軸を介して台車を自動搬送車に連結した形態で搬送を行う場合に、作業効率を落とすことなく配線のねじれを解消可能とすることを、解決すべき技術課題とする。
【課題を解決するための手段】
【0010】
前記課題の解決は、本発明に係る自動搬送装置によって達成される。すなわち、この搬送装置は、所定の経路上を走行可能な少なくとも一台の自動搬送車と、自動搬送車に連結される台車と、鉛直方向に延び自動搬送車と台車とを連結する連結軸と、自動搬送車を制御可能な制御部とを備え、自動搬送車から台車に跨って配線がなされている自動搬送装置であって、自動搬送車は、台車に対して連結軸まわりに旋回可能に構成され、連結軸には、台車側からの鉛直荷重を受ける弾性部材が設けられると共に、弾性部材の鉛直方向の圧縮量を調整可能な圧縮量調整手段が設けられ、自動搬送車の走行停止時、台車の停止状態を維持しつつ自動搬送車が連結軸まわりに旋回可能なように弾性部材の圧縮量が調整されている点をもって特徴付けられる。
(【0011】以降は省略されています)
この特許をJ-PlatPat(特許庁公式サイト)で参照する
関連特許
ダイハツ工業株式会社
溶接装置
1か月前
ダイハツ工業株式会社
発電装置
18日前
ダイハツ工業株式会社
制御装置
1か月前
ダイハツ工業株式会社
塗布装置
1か月前
ダイハツ工業株式会社
車両制御装置
23日前
ダイハツ工業株式会社
車両用制御装置
1か月前
ダイハツ工業株式会社
剪断穴あけ装置
1か月前
ダイハツ工業株式会社
電線温度推定装置
1か月前
ダイハツ工業株式会社
車体の下部後方構造
2日前
ダイハツ工業株式会社
溶接電極の研磨装置
1か月前
ダイハツ工業株式会社
ロボット制御システム
2日前
ダイハツ工業株式会社
副燃焼室付きエンジン
9日前
ダイハツ工業株式会社
車両用外部充電ポート支持構造
9日前
ダイハツ工業株式会社
車両用外部充電ポート支持構造
9日前
ダイハツ工業株式会社
ハイブリッド車両駆動用ユニット
1か月前
ダイハツ工業株式会社
落雷予測システム及び落雷予測方法
1か月前
ダイハツ工業株式会社
車両用灯具
1か月前
ダイハツ工業株式会社
車両用表示装置
2日前
トヨタ自動車株式会社
車両、蓄電装置および温度調整装置
1か月前
個人
タイヤレバー
4か月前
個人
前輪キャスター
3か月前
個人
上部一体型自動車
2か月前
個人
空間形成装置
1か月前
個人
ルーフ付きトライク
4か月前
個人
ホイルのボルト締結
5か月前
個人
タイヤ脱落防止構造
3か月前
個人
マスタシリンダ
2か月前
個人
キャンピングトライク
5か月前
個人
車両通過構造物
4か月前
日本精機株式会社
照明装置
1か月前
日本精機株式会社
表示装置
4か月前
日本精機株式会社
表示装置
4か月前
日本精機株式会社
表示装置
3か月前
日本精機株式会社
表示装置
4か月前
個人
乗合路線バスの客室装置
4か月前
個人
常設収納型サンバイザー
1か月前
続きを見る
他の特許を見る