TOP
|
特許
|
意匠
|
商標
特許ウォッチ
Twitter
他の特許を見る
公開番号
2025178935
公報種別
公開特許公報(A)
公開日
2025-12-09
出願番号
2024085814
出願日
2024-05-27
発明の名称
自転車前輪固定装置
出願人
個人
代理人
主分類
B62K
21/00 20060101AFI20251202BHJP(鉄道以外の路面車両)
要約
【課題】自転車の前輪の自回動を阻止し安定化を図ること及び転倒防止を図ること。また、駐輪場所の状況や地形に左右されることなく安全に駐輪できること。構造が簡単でコンパクトであり殆どの車種に適用でき、かつワンタッチで前輪の固定及び解除ができる自転車前輪固定装置を提供する。
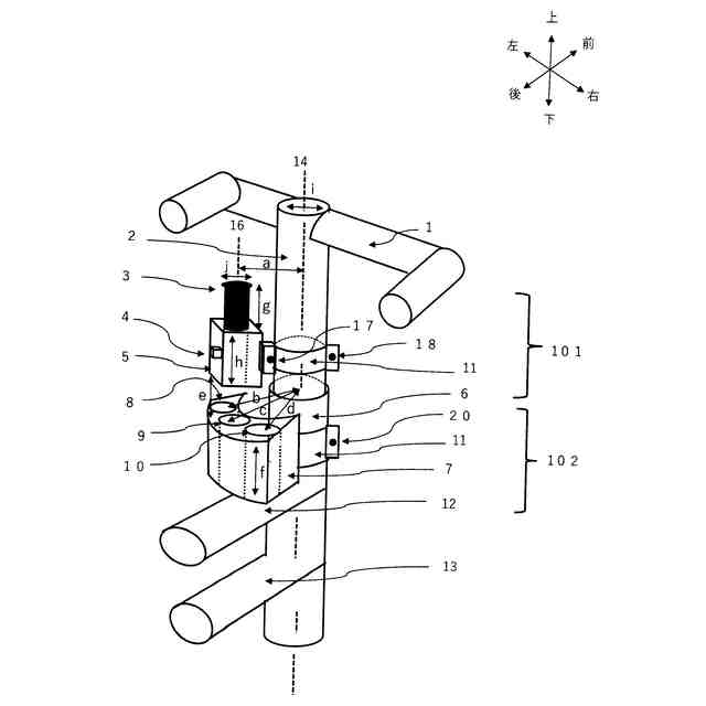
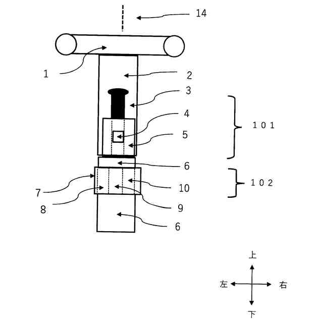
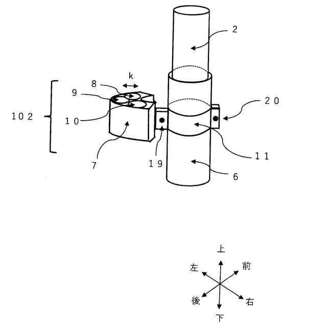
【解決手段】自転車100のハンドル軸2に、上部装置101を自在バンドで固着させ、ヘッドチューブ6には、下部装置102を自在バンドで固着させ、スライド軸3を押下げて下部装置102の筐体7の穴8,9,10に挿入、連結し前輪15を固定することができる。解除方法は、解除ボタンを押すことによりスライド軸3が、挿入されていた穴から解放され前輪15の固定が解除される。また、下部装置102の筐体7の穴の数を1個以上とすることで、前輪15の固定する向きを前方向だけでなく、左右斜めの向きでも固定することができる。
【選択図】図1
特許請求の範囲
【請求項1】
自転車のハンドル軸に固着した上部装置と、前記ハンドル軸の下部の前記自転車のヘッドチューブまたはトップチューブに固着した下部装置とを備える自転車前輪固定装置であって、
前記上部装置は、筐体と、
前記筐体内部に収納され前記下部装置の穴に挿入するスライド軸と、
前記スライド軸の連結、固定を解除するために押す解除ボタンを有し、
前記下部装置は、前記スライド軸を収納して、連結する穴を1個以上持った筐体で構成されることを特徴とする自転車前輪固定装置。
続きを表示(約 480 文字)
【請求項2】
請求項1に記載の自転車前輪固定装置であって、前記上部装置の前記筐体に収納されている前記スライド軸は、前記ハンドル軸の中心から前記スライド軸中心までの距離と、前記下部装置の穴の中心と前記ハンドル軸の中心までの距離を同じにすることで、前記自転車のハンドルを左右に回転させても前記下部装置のどの穴にも挿入し連結、固定できることを特徴とする自転車前輪固定装置。
【請求項3】
請求項1に記載の自転車前輪固定装置であって、前記上部装置は、前記スライド軸を押下げて前記下部装置の穴に挿入し連結することで前記自転車の前輪を固定でき、前記解除ボタンを押すことで前記上部装置と前記下部装置の連結、固定を解除することができることを特徴とする自転車前輪固定装置。
【請求項4】
請求項1に記載の自転車前輪固定装置であって、前記下部装置の前記筐体は、前記スライド軸を収納できる穴を3個以上有することで、前記自転車の前輪の固定する向きを前方向以外の左右斜めの向きでも固定することができることを特徴とする自転車前輪固定装置。
発明の詳細な説明
【技術分野】
【0001】
本発明は、自転車の停車時や駐輪時等に自回動により思わぬ方向に回転し不安定になることを阻止するとともに、転倒を防止する自転車前輪固定装置に関するものである。
続きを表示(約 1,200 文字)
【背景技術】
【0002】
市販自転車の前輪は、走行時、停止時においても190度自在に回転する構造になっており、 駐輪場所が平坦な状態はもとより、特に上り傾斜、左右傾斜の場合の駐輪時において、前輪が思わぬ方向に回転し不安定になることがあり、場合によっては自回転し転倒することがある。さらに、自転車を手で持上げて移動する場合や、自転車を吊り下げて展示する場合などには、前輪の左右回動が障害となることがある。
【0003】
上記問題を解決するため、下記特許文献1の自転車のハンドルストッパー装置及び下記特許文献2の自転車のハンドルロック装置が提案されている。
【先行技術文献】
【特許文献】
【0004】
実用新案登録第3140016号
【0005】
特開2008-110740
【発明の概要】
【発明が解決しようとする課題】
【0006】
本発明は、上記従来のハンドルストッパー装置及びハンドルロック装置が有する問題点に鑑み、構造が簡単で安価に製造することができ、かつ適用車種が限定されず互換性の高い自転車の前輪固定装置を提供することを目的とする。
【0007】
市販自転車の前輪は、走行時、停止時においても190度自在に回転する構造になっており、 駐輪場所が平坦な状態はもとより、特に上り傾斜、左右傾斜の場合の駐輪時において、前輪が思わぬ方向に回転し不安定になることがあり、場合によっては自回転し転倒することがある。
【0008】
また、自転車のハンドル前方に荷物カゴを設けてある自転車の場合は、荷物カゴに荷物を載せた場合重みで前輪が自然に回動し、自転車が転倒する場合が多く見られる。特に片足スタンドを装備した自転車の駐輪は転倒しやすく危険である。さらに、自転車を手で持上げて移動する場合や、自転車を吊り下げて展示する場合などには、前輪の左右回動が障害となることがある。
【0009】
特許文献1の自転車のハンドルストッパー装置は、荷物カゴ取付け用のブラケット下部に固着し、前記ハンドルストッパー装置本体に組み込まれたスライド軸のノブを手で上昇させて切欠け穴に上昇させ挿入、連結し回動を阻止、ハンドルを固定するもので、装着場所が前記ブラケットの下部であるため、操作がしにくいという難点がある。また解除する場合もスライドノブを手で切欠け穴から外して元の位置に戻す方法になっており、操作が面倒であるという難点がある。
【0010】
特許文献1の自転車のハンドルストッパー装置は、荷物カゴ取付け用のブラケットの切欠け穴を利用したものであり、ブラケットの切欠け穴のない自転車には提供できない。
(【0011】以降は省略されています)
この特許をJ-PlatPat(特許庁公式サイト)で参照する
関連特許
個人
カート
5か月前
個人
走行装置
5か月前
個人
三輪バイク
1か月前
個人
台車
19日前
個人
電動走行車両
5か月前
個人
乗り物
7か月前
個人
駐輪設備
3か月前
個人
閂式ハンドル錠
5か月前
個人
自転車用歩数計
1か月前
個人
ボギー・フレーム
3か月前
個人
三輪電動車両
1か月前
個人
“zen-go.”
4か月前
個人
ルーフ付きトライク
3か月前
個人
ルーフ付きトライク
4か月前
個人
自転車前輪固定装置
今日
井関農機株式会社
作業車両
1か月前
個人
車の室内高温防止屋根
1か月前
個人
パワーアシスト自転車
3か月前
株式会社豊田自動織機
産業車両
6か月前
個人
電動式ルーフ付きトライク
11日前
個人
電動式ルーフ付きトライク
11日前
個人
フロントフットブレーキ。
5か月前
井関農機株式会社
収穫作業車両
5日前
個人
電動式ルーフ付きトライク
11日前
豊田鉄工株式会社
小型車両
5か月前
個人
乗用自動車のディフューザー
2か月前
個人
ホイールハブ駆動構造
6か月前
個人
二輪車の三次元折りたたみ機構
3か月前
コンビ株式会社
乳母車
8か月前
個人
自動車のタイヤの位置について
3か月前
船井電機株式会社
車両
3か月前
ヤマハ発動機株式会社
自転車
6か月前
個人
走行車両等の粉塵飛散防止装置
5か月前
個人
折り畳み作業机搭載の変型台車
3か月前
コンビ株式会社
乳母車
2か月前
トヨタ自動車株式会社
パネル
6か月前
続きを見る
他の特許を見る