TOP
|
特許
|
意匠
|
商標
特許ウォッチ
Twitter
他の特許を見る
10個以上の画像は省略されています。
公開番号
2025147902
公報種別
公開特許公報(A)
公開日
2025-10-07
出願番号
2024048404
出願日
2024-03-25
発明の名称
回転電機
出願人
株式会社アイシン
代理人
個人
,
個人
,
個人
主分類
H02K
9/19 20060101AFI20250930BHJP(電力の発電,変換,配電)
要約
【課題】回転電機全体としての径方向の体格増加を防止又は最小化しつつ、コイルエンド部を覆うカバー部材を確実に固定する。
【解決手段】複数のティース部を有する鉄心コアと、スロット内に挿入される態様で鉄心コアに巻装され、鉄心コアの軸方向端面に対して軸方向外側にコイルエンド部を形成するコイル線と、コイルエンド部を、軸方向外側、径方向内側、及び径方向外側から覆う第1カバー部材と、鉄心コアの軸方向端面を覆う第2カバー部材と、第1カバー部材と第2カバー部材との間に冷媒空間と、を備え、第1カバー部材と第2カバー部材とは、鉄心コアの中心軸を通る平面による断面視で、冷媒空間の径方向外側において第1結合部、及び、冷媒空間の径方向内側において第2結合部を介して、互いに結合され、第1結合部又は第2結合部は、軸方向視で鉄心コアに重なる、回転電機が開示される。
【選択図】図1
特許請求の範囲
【請求項1】
複数のティース部を有する鉄心コアと、
周方向で前記複数のティース部の間に形成されるスロット内に挿入される態様で前記鉄心コアに巻装され、前記鉄心コアの軸方向端面に対して軸方向外側にコイルエンド部を形成するコイル線と、
前記コイルエンド部を、軸方向外側、径方向内側、及び径方向外側から覆う第1カバー部材と、
前記鉄心コアの軸方向端面を覆う第2カバー部材と、
前記第1カバー部材と前記第2カバー部材との間に冷媒空間と、を備え、
前記第1カバー部材と前記第2カバー部材とは、前記鉄心コアの中心軸を通る平面による断面視で、前記冷媒空間の径方向外側において第1結合部、及び、前記冷媒空間の径方向内側において第2結合部を介して、互いに結合され、
前記第1結合部及び前記第2結合部のうちの少なくとも一方は、軸方向視で前記鉄心コアに重なる、回転電機。
続きを表示(約 300 文字)
【請求項2】
前記第1結合部又は前記第2結合部は、軸方向視で前記コイルエンド部と重なる、請求項1に記載の回転電機。
【請求項3】
前記第1結合部及び前記第2結合部のうちの一方は、径方向のスナップフィット部と、径方向の締り嵌め部とを含み、前記第1結合部及び前記第2結合部のうちの他方は、径方向の締り嵌め部を含む、請求項1に記載の回転電機。
【請求項4】
前記冷媒空間は、軸方向視で円環状の形態を有し、
前記第1結合部は、径方向の締り嵌め部を含み、
前記締り嵌め部は、周方向全周にわたって設けられる、請求項1から3のうちのいずれか1項に記載の回転電機。
発明の詳細な説明
【技術分野】
【0001】
本開示は、回転電機に関する。
続きを表示(約 1,800 文字)
【背景技術】
【0002】
コイルエンド部を覆うコイルエンドカバーと、ステータコアの外周を覆う外側カバーとを、径方向のスナップフィット部を介して結合させる技術が知られている。
【先行技術文献】
【特許文献】
【0003】
特開2010-226870号公報
【発明の概要】
【発明が解決しようとする課題】
【0004】
しかしながら、上記のような従来技術では、外側カバー自体に起因した回転電機全体としての径方向の体格増加の問題点や、スナップフィット部が径方向外側に張り出すことに起因した回転電機全体としての径方向の体格増加の問題点がある。
【0005】
そこで、1つの側面では、本開示は、回転電機全体としての径方向の体格増加を防止又は最小化しつつ、コイルエンド部を覆うカバー部材を確実に固定することを目的とする。
【課題を解決するための手段】
【0006】
1つの側面では、複数のティース部を有する鉄心コアと、
周方向で前記複数のティース部の間に形成されるスロット内に挿入される態様で前記鉄心コアに巻装され、前記鉄心コアの軸方向端面に対して軸方向外側にコイルエンド部を形成するコイル線と、
前記コイルエンド部を、軸方向外側、径方向内側、及び径方向外側から覆う第1カバー部材と、
前記鉄心コアの軸方向端面を覆う第2カバー部材と、
前記第1カバー部材と前記第2カバー部材との間に冷媒空間と、を備え、
前記第1カバー部材と前記第2カバー部材とは、前記鉄心コアの中心軸を通る平面による断面視で、前記冷媒空間の径方向外側において第1結合部、及び、前記冷媒空間の径方向内側において第2結合部を介して、互いに結合され、
前記第1結合部及び前記第2結合部のうちの少なくとも一方は、軸方向視で前記鉄心コアに重なる、回転電機が提供される。
【発明の効果】
【0007】
1つの側面では、本開示によれば、回転電機全体としての径方向の体格増加を防止又は最小化しつつ、コイルエンド部を覆うカバー部材を確実に固定することが可能となる。
【図面の簡単な説明】
【0008】
一実施例によるモータの断面構造を概略的に示す断面図である。
ステータコアの一部の断面図である。
図1のラインA-Aに沿ったステータの断面図である。
モータケースから取り出した状態のステータの斜視図である。
回転軸を通る平面によるステータの断面図であって、スロットが存在しない周方向位置での断面図である。
回転軸に垂直な平面によるステータの断面図であって、コア端面カバーを通る平面による断面図である。
軸方向外側から視たコイルエンドカバーの単品状態の斜視図である。
軸方向内側から視たコイルエンドカバーの単品状態の斜視図である。
軸方向外側から視たコア端面カバーの単品状態の斜視図である。
軸方向内側から視たコア端面カバーの単品状態の斜視図である。
コイルエンドカバーとコア端面カバーの結合構造のうちの、第1スナップフィット部を拡大して示す斜視図である。
コイルエンドカバーとコア端面カバーの結合構造のうちの、第2スナップフィット部を拡大して示す斜視図である。
回転軸を通る平面によるステータの断面図であって、スロットを通る周方向位置での断面図である。
図12のB部の拡大図である。
図12のラインC-Cに沿った断面図である。
【発明を実施するための形態】
【0009】
以下、添付図面を参照しながら各実施例について詳細に説明する。なお、図面の寸法比率はあくまでも一例であり、これに限定されるものではなく、また、図面内の形状等は、説明の都合上、部分的に誇張している場合がある。また、図面では、見易さのために、複数存在する同一属性の部位には、一部のみしか参照符号が付されていない場合がある。
【0010】
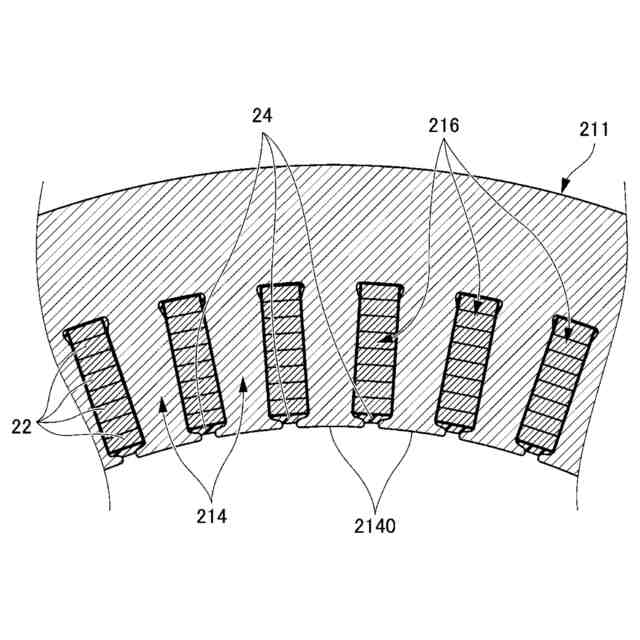
図1は、一実施例によるモータ1の断面構造を概略的に示す断面図である。図2は、ステータコア211の一部の断面図である。図3は、図1のラインA-Aに沿ったステータ21の断面図である。
(【0011】以降は省略されています)
この特許をJ-PlatPat(特許庁公式サイト)で参照する
関連特許
株式会社アイシン
ロータ
1か月前
株式会社アイシン
ロータ
1か月前
株式会社アイシン
ロータ
27日前
株式会社アイシン
検知装置
1か月前
株式会社アイシン
ステータ
1か月前
株式会社アイシン
ステータ
1か月前
株式会社アイシン
ステータ
1か月前
株式会社アイシン
歯車機構
27日前
株式会社アイシン
ステータ
1か月前
株式会社アイシン
制御装置
1か月前
株式会社アイシン
制御装置
1か月前
株式会社アイシン
制御装置
1か月前
株式会社アイシン
駆動装置
1か月前
株式会社アイシン
電子機器
1か月前
株式会社アイシン
保護装置
1か月前
株式会社アイシン
レーダ装置
1か月前
株式会社アイシン
乗員検知装置
1か月前
株式会社アイシン
電解システム
1か月前
株式会社アイシン
牽引支援装置
1か月前
株式会社アイシン
折り畳み装置
1か月前
株式会社アイシン
車両制御装置
1か月前
株式会社アイシン
ドア支持装置
1か月前
株式会社アイシン
センサ固定具
1か月前
株式会社アイシン
超音波センサ
1か月前
株式会社アイシン
超音波センサ
1か月前
株式会社アイシン
ヒートシンク
3日前
株式会社アイシン
案内システム
1か月前
株式会社アイシン
運転支援装置
1か月前
株式会社アイシン
衝撃吸収部材
1か月前
株式会社アイシン
運転支援装置
1か月前
株式会社アイシン
運転支援装置
1か月前
株式会社アイシン
車両制御装置
1か月前
株式会社アイシン
折り畳み装置
1か月前
株式会社アイシン
出庫支援装置
1か月前
株式会社アイシン
電解システム
1か月前
株式会社アイシン
牽引支援装置
1か月前
続きを見る
他の特許を見る