TOP
|
特許
|
意匠
|
商標
特許ウォッチ
Twitter
他の特許を見る
公開番号
2025143751
公報種別
公開特許公報(A)
公開日
2025-10-02
出願番号
2024043161
出願日
2024-03-19
発明の名称
開閉システム
出願人
株式会社アイシン
代理人
弁理士法人アイテック国際特許事務所
主分類
E05F
15/657 20150101AFI20250925BHJP(錠;鍵;窓または戸の付属品;金庫)
要約
【課題】自動制御における停止条件の成立後に、ユーザによる開閉部の手動操作を誤検知するのを抑制する。
【解決手段】開閉システムは、車両に搭載された開閉部を駆動する駆動部と、駆動部を制御する制御装置とを備える。制御装置は、ユーザにより指示スイッチが操作されると開閉部を開閉方向に移動させると共にその後に停止条件が成立すると開閉部の移動を停止させるように駆動部を制御する自動制御を実行し、更に、開閉部の最新の加速度と所定時間前の加速度との差分値の絶対値が閾値以上に至ったときに、開閉部に対するユーザの手動操作を検知して、手動操作をアシストするように駆動部を制御するアシスト制御を開始する。制御装置は、停止条件の成立後に、時間の経過に従って徐々に小さくなるように閾値を設定する。
【選択図】図2
特許請求の範囲
【請求項1】
車両に搭載された開閉部を駆動する駆動部と、前記駆動部を制御する制御装置と、を備える開閉システムであって、
前記制御装置は、
ユーザにより指示スイッチが操作されると前記開閉部を開閉方向に移動させると共にその後に停止条件が成立すると前記開閉部の移動を停止させるように前記駆動部を制御する自動制御を実行し、
更に、前記開閉部の最新の加速度と所定時間前の前記加速度との差分値の絶対値が閾値以上に至ったときに、前記ユーザによる前記開閉部の手動操作を検知して、前記手動操作をアシストするように前記駆動部を制御するアシスト制御を開始し、
前記制御装置は、前記停止条件の成立後に、時間の経過に従って徐々に小さくなるように前記閾値を設定する、
開閉システム。
続きを表示(約 420 文字)
【請求項2】
請求項1記載の開閉システムであって、
前記制御装置は、路面勾配が大きいほど大きくなるように、および/または、前記路面勾配が大きいほどゆっくりと小さくなるように、前記閾値を設定する、
開閉システム。
【請求項3】
請求項1または2記載の開閉システムであって、
前記制御装置は、前記停止条件が成立したときの前記開閉部の速度である所定時速度が大きいほど大きくなるように、および/または、前記所定時速度が大きいほどゆっくりと小さくなるように、前記閾値を設定する、
開閉システム。
【請求項4】
請求項1または2記載の開閉システムであって、
前記制御装置は、前記開閉部の前記加速度にフィルタ処理を施して得られるフィルタ後値が第2閾値以上に至ってから所定時間が経過するまでの間、前記ユーザによる前記開閉部の前記手動操作の検知を禁止する、
開閉システム。
発明の詳細な説明
【技術分野】
【0001】
本開示は、開閉システムに関する。
続きを表示(約 1,900 文字)
【背景技術】
【0002】
従来、ユーザによる車両ドアなどの開閉部の手動操作時に、開閉部の加速度を用いて開閉部の動き出しを検出し、手動操作に要するユーザの操作力が低減するように駆動部によりアシストする技術が提案されている(例えば、特許文献1参照)。
【先行技術文献】
【特許文献】
【0003】
国際公開2020-193264号
【発明の概要】
【発明が解決しようとする課題】
【0004】
上述の技術に加えて、ユーザにより指示スイッチが操作されると開閉部を開閉方向に移動させると共にその後に停止条件が成立すると開閉部の移動を停止させるように駆動部を制御する自動制御を実行可能な場合、停止条件が成立して駆動部により開閉部の移動を停止させる際に、開閉部の慣性により開閉部がその開閉方向に揺れ得る(脈動し得る)。この開閉部の揺れによる開閉部の加速度のために、ユーザによる開閉部の手動操作を誤検知し、駆動部により開閉部の移動をアシストしてしまうことが懸念されている。
【0005】
本開示の開閉システムは、自動制御における停止条件の成立後に、ユーザによる開閉部の手動操作を誤検知するのを抑制することを主目的とする。
【課題を解決するための手段】
【0006】
本開示の開閉システムは、上述の主目的を達成するために以下の手段を採った。
【0007】
本開示の開閉システムは、
車両に搭載された開閉部を駆動する駆動部と、前記駆動部を制御する制御装置と、を備える開閉システムであって、
前記制御装置は、
ユーザにより指示スイッチが操作されると前記開閉部を開閉方向に移動させると共にその後に停止条件が成立すると前記開閉部の移動を停止させるように前記駆動部を制御する自動制御を実行し、
更に、前記開閉部の最新の加速度と所定時間前の前記加速度との差分値の絶対値が閾値以上に至ったときに、前記ユーザによる前記開閉部の手動操作を検知して、前記手動操作をアシストするように前記駆動部を制御するアシスト制御を開始し、
前記制御装置は、前記停止条件の成立後に、時間の経過に従って徐々に小さくなるように前記閾値を設定する、
ことを要旨とする。
【0008】
本開示の開閉システムでは、ユーザにより指示スイッチが操作されると開閉部を開閉方向に移動させると共にその後に停止条件が成立すると開閉部の移動を停止させるように駆動部を制御する自動制御を実行する。また、開閉部の最新の加速度と所定時間前の加速度との差分値の絶対値が閾値以上に至ったときに、ユーザによる開閉部の手動操作を検知して、手動操作をアシストするように駆動部を制御するアシスト制御を開始する。これらの場合に、停止条件の成立後に、時間の経過に従って徐々に小さくなるように閾値を設定する。したがって、停止条件の成立からの経過時間が比較的短いとき(開閉部の慣性によるある程度の揺れが想定されるとき)には、閾値が比較的大きいことにより、開閉部の慣性による揺れをユーザによる開閉部の手動操作として誤検知するのを抑制することができる。また、停止条件の成立からの経過時間がある程度長いとき(開閉部の慣性による揺れがある程度収束していると想定されるとき)には、閾値が比較的小さいことにより、ユーザによる開閉部の手動操作を適切に検知してアシスト制御を適切に開始することができる。
【図面の簡単な説明】
【0009】
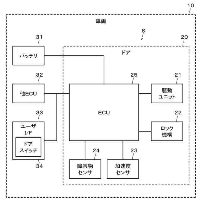
実施形態のドア開閉システムを備える車両の概略構成図である。
処理ルーチンの一例を示すフローチャートである。
自動制御における停止条件の成立からの経過時間と加速度差分値と閾値との様子の一例を示す説明図である。
処理ルーチンの一例を示すフローチャートである。
【発明を実施するための形態】
【0010】
本開示を実施するための形態について図面を参照しながら説明する。図1は、実施形態のドア開閉システムSを備える車両10の概略構成図である。図示するように、車両10のドア開閉システムSは、車両10に搭載されたドア20(開閉部)の開閉を自動で行なったり、ユーザ(乗員)によるドア20の手動操作をアシストしたりするシステムである。ドア20は、車体によりヒンジ部を介して開閉自在に支持されており、ユーザが車両10に乗降する際に開閉される。
(【0011】以降は省略されています)
この特許をJ-PlatPat(特許庁公式サイト)で参照する
関連特許
株式会社アイシン
ロータ
19日前
株式会社アイシン
ロータ
23日前
株式会社アイシン
保護装置
24日前
株式会社アイシン
駆動装置
24日前
株式会社アイシン
電子機器
24日前
株式会社アイシン
制御装置
24日前
株式会社アイシン
制御装置
24日前
株式会社アイシン
制御装置
24日前
株式会社アイシン
ステータ
23日前
株式会社アイシン
歯車機構
19日前
株式会社アイシン
検知装置
24日前
株式会社アイシン
ステータ
23日前
株式会社アイシン
ステータ
23日前
株式会社アイシン
ステータ
23日前
株式会社アイシン
レーダ装置
24日前
株式会社アイシン
車両制御装置
24日前
株式会社アイシン
運転支援装置
24日前
株式会社アイシン
運転支援装置
23日前
株式会社アイシン
運転支援装置
23日前
株式会社アイシン
運転支援装置
24日前
株式会社アイシン
車両制御装置
23日前
株式会社アイシン
乗員検知装置
24日前
株式会社アイシン
電解システム
24日前
株式会社アイシン
出庫支援装置
24日前
株式会社アイシン
ドア支持装置
23日前
株式会社アイシン
折り畳み装置
23日前
株式会社アイシン
案内システム
24日前
株式会社アイシン
衝撃吸収部材
24日前
株式会社アイシン
折り畳み装置
23日前
株式会社アイシン
走行制御装置
23日前
株式会社アイシン
ガス検出装置
23日前
株式会社アイシン
折り畳み装置
23日前
株式会社アイシン
環境認識装置
23日前
株式会社アイシン
運転支援装置
23日前
株式会社アイシン
折り畳み装置
23日前
株式会社アイシン
牽引支援装置
23日前
続きを見る
他の特許を見る