TOP
|
特許
|
意匠
|
商標
特許ウォッチ
Twitter
他の特許を見る
10個以上の画像は省略されています。
公開番号
2025136761
公報種別
公開特許公報(A)
公開日
2025-09-19
出願番号
2024035587
出願日
2024-03-08
発明の名称
温度調節器
出願人
株式会社アイシン
代理人
弁理士法人R&C
主分類
H01M
10/658 20140101AFI20250911BHJP(基本的電気素子)
要約
【課題】断熱材の位置ずれを防止してセル間の断熱性能を高めることが可能な温度調節器を提供する。
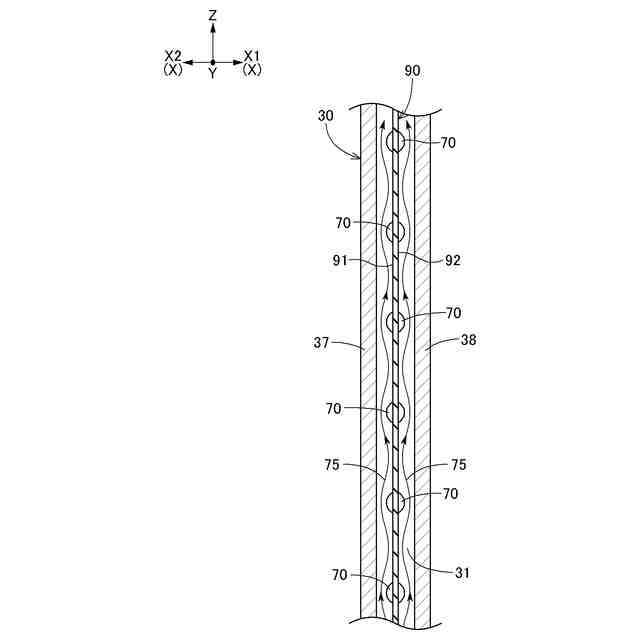
【解決手段】温度調節器30は、第1方向Xに沿って互いに隣り合う2つのセル12の側面の間に設けられ、第1方向Xに沿って互いに対向する第1平板部37及び第2平板部38と、第1平板部37及び第2平板部38の夫々を接続する複数の接続壁80と、第1平板部37と第2平板部38とで挟まれた領域を第1方向Xに区画する区画壁60と、複数の接続壁80を第1方向Xと交差する第2方向Yに沿って繋げるように配置された板状の断熱材90と、を備え、断熱材90は、区画壁60と当接可能な位置に第1方向Xに沿って突出する複数の突出部70を有する。
【選択図】図3
特許請求の範囲
【請求項1】
第1方向に沿って並ぶ複数のセルを有するバッテリモジュールを備えたバッテリの温度を調節する温度調節器であって、
前記第1方向に沿って互いに隣り合う2つの前記セルの側面の間に設けられ、前記第1方向に沿って互いに対向する第1平板部及び第2平板部と、
前記第1平板部及び前記第2平板部の夫々を接続する複数の接続壁と、
前記第1平板部と前記第2平板部とで挟まれた領域を前記第1方向に区画する区画壁と、
複数の前記接続壁を前記第1方向と交差する第2方向に沿って繋げるように配置された板状の断熱材と、を備え、
前記断熱材は、前記区画壁と当接可能な位置に前記第1方向に沿って突出する複数の突出部を有する温度調節器。
続きを表示(約 240 文字)
【請求項2】
前記突出部は、前記第1方向及び前記第2方向に交差する第3方向に沿って複数設けられている請求項1に記載の温度調節器。
【請求項3】
複数の前記突出部の夫々は、前記第3方向に沿って互いに離間する半球状で形成されている請求項2に記載の温度調節器。
【請求項4】
前記突出部は、前記断熱材における前記第1平板部に対向する第1面、及び前記第2平板部に対向する第2面に設けられている請求項1から3のいずれか一項に記載の温度調節器。
発明の詳細な説明
【技術分野】
【0001】
本発明は、バッテリの温度を調節可能な温度調節器に関する。
続きを表示(約 2,000 文字)
【背景技術】
【0002】
近年、走行駆動源としてモータを備えた自動車(ハイブリッド車(HEV:HybridElectric Vehicle)、プラグインハイブリッド車(PHEV:Plug-in HybridElectric Vehicle)、バッテリ車(BEV:Battery Electric Vehicle)、燃料電池車(FCEV:Fuel Cell Electric Vehicle)等)が普及している。これらの自動車(以下、「電動車」と総称する)には、モータを駆動させるためのバッテリ(以下、単にバッテリともいう)が搭載されている。
【0003】
通常、電動車に搭載されるバッテリは、複数のセルが並設されたバッテリモジュールを容器に収容して構成されている。そのため、バッテリを使用すると、発熱により容器の内部に熱がこもって高温になる。バッテリは高温になると劣化が進みやすくなる。そこで、バッテリを冷却する技術が検討されてきた(例えば、特許文献1参照)。
【0004】
特許文献1には、組電池用熱制御シートについて記載されている。この組電池用熱制御シートは、組電池内のセル間に設けられ、一対の板状部と、この一対の板状部の間に挟んで設けられる断熱材とを有する。一対の板状部は、セルに対向する面に、セルに向かって突出する複数の凸部が形成されている。
【先行技術文献】
【特許文献】
【0005】
特開2022-141507号公報
【発明の概要】
【発明が解決しようとする課題】
【0006】
上記のように、特許文献1に記載の組電池用熱制御シートは、セル間に設けられる一対の板状部の間に、更に断熱材が挟んで設けられている。これにより、仮にいずれかのセルにおいて熱暴走が生じても、隣接するセルへの熱の伝搬を抑制し、熱暴走が連鎖しないようにしている。例えば、バッテリの温度調節を行う場合に、板状部の内部に流路を設け、この流路に流体を流通させて温度調節を行うような構成が考えられる。このような構成において、特許文献1に記載の組電池用熱制御シートのように、一対の板状部に断熱材を挟んで設けると、板状部と断熱材との位置ずれが発生してセル間の断熱性能が低下する可能性がある。このため、特許文献1に記載の組電池用熱制御シートは、改善の余地がある。
【0007】
そこで、断熱材の位置ずれを防止してセル間の断熱性能を高めることが可能な温度調節器が求められる。
【課題を解決するための手段】
【0008】
本発明に係る温度調節器の特徴構成は、第1方向に沿って並ぶ複数のセルを有するバッテリモジュールを備えたバッテリの温度を調節する温度調節器であって、前記第1方向に沿って互いに隣り合う2つの前記セルの側面の間に設けられ、前記第1方向に沿って互いに対向する第1平板部及び第2平板部と、前記第1平板部及び前記第2平板部の夫々を接続する複数の接続壁と、前記第1平板部と前記第2平板部とで挟まれた領域を前記第1方向に区画する区画壁と、複数の前記接続壁を前記第1方向と交差する第2方向に沿って繋げるように配置された板状の断熱材と、を備え、前記断熱材は、前記区画壁と当接可能な位置に前記第1方向に沿って突出する複数の突出部を有する点にある。
【0009】
このような特徴構成とすれば、複数の接続壁を第2方向に沿って繋げるように断熱材を配置するので、第1平板部と第2平板部とで挟まれた領域を、温度調節器の外部と遮断できる。したがって、例えば第1平板部と第2平板部とで挟まれた領域に流体を流通させた場合に、外部へ流体が漏れることを防止し、断熱材によりセル間の断熱性能を高めることができる。また、突出部が区画壁と当接することで、断熱材における第2方向に沿う位置ずれを防止できる。したがって、本構成の温度調節器によれば、断熱材の位置ずれを防止してセル間の断熱性能を高めることが可能である。
【図面の簡単な説明】
【0010】
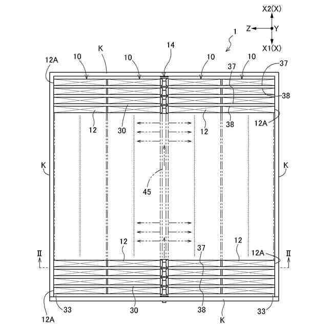
温度調節器を用いたバッテリの平面図である。
図1のII-II線の断面図である。
温度調節器を第1方向に沿って切断した断面図である。
断熱材の斜視図である。
流体の流れを示す図である。
その他の実施形態の温度調節器の断面図ある。
その他の実施形態の温度調節器の断面図ある。
その他の実施形態の温度調節器の断面図ある。
その他の実施形態の温度調節器の断面図ある。
その他の実施形態の温度調節器の断面図ある。
その他の実施形態の温度調節器の断面図ある。
その他の実施形態の温度調節器の断面図ある。
その他の実施形態の温度調節器の断面図ある。
【発明を実施するための形態】
(【0011】以降は省略されています)
この特許をJ-PlatPat(特許庁公式サイト)で参照する
関連特許
株式会社アイシン
ロータ
5日前
株式会社アイシン
ロータ
11日前
株式会社アイシン
ロータ
9日前
株式会社アイシン
ステータ
9日前
株式会社アイシン
回転電機
16日前
株式会社アイシン
制御装置
16日前
株式会社アイシン
制御装置
10日前
株式会社アイシン
ステータ
9日前
株式会社アイシン
車体構造
16日前
株式会社アイシン
ステータ
9日前
株式会社アイシン
ステータ
9日前
株式会社アイシン
制御装置
10日前
株式会社アイシン
検知装置
10日前
株式会社アイシン
制御装置
10日前
株式会社アイシン
保護装置
10日前
株式会社アイシン
回転電機
12日前
株式会社アイシン
歯車機構
5日前
株式会社アイシン
電子機器
10日前
株式会社アイシン
回転電機
12日前
株式会社アイシン
駆動装置
10日前
株式会社アイシン
温度調節器
16日前
株式会社アイシン
レーダ装置
10日前
株式会社アイシン
超音波センサ
11日前
株式会社アイシン
超音波センサ
11日前
株式会社アイシン
電解システム
11日前
株式会社アイシン
車両制御装置
16日前
株式会社アイシン
案内システム
10日前
株式会社アイシン
電解システム
10日前
株式会社アイシン
乗員検知装置
10日前
株式会社アイシン
センサ固定具
11日前
株式会社アイシン
車両制御装置
10日前
株式会社アイシン
運転支援装置
10日前
株式会社アイシン
駐車支援装置
12日前
株式会社アイシン
衝撃吸収部材
10日前
株式会社アイシン
出庫支援装置
10日前
株式会社アイシン
マニホールド
18日前
続きを見る
他の特許を見る